Kia Rio: Блок управления контроллером/отопителем и кондиционером (FATC)

Kia Rio 2017-2023 YB Руководство по ремонту / Отопление, вентиляция, кондиционирование воздуха / Контроллер / Блок управления отопителем и кондиционером (FATC)

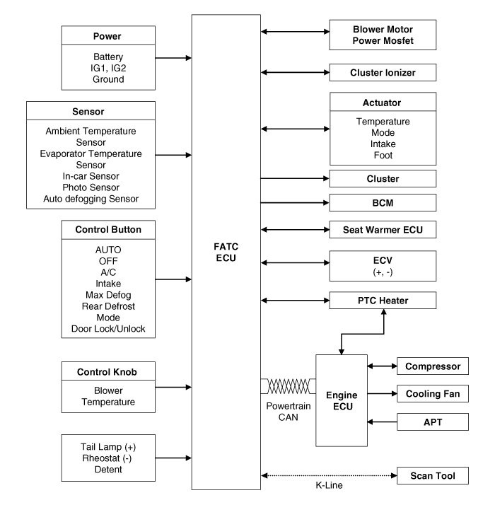
Компоненты и расположение компонентов
Компоненты

Функция контактов разъема

Нет.
Соединитель А
Соединитель Б
1
Батарея

2
ИСГ батарея (+)

3
Освещение (+)

4
Датчик (REF) (+)
Обратная связь привода защиты от запотевания
5
Обратная связь исполнительного механизма управления режимами
Активатор защиты от запотевания (открыт)
6
Привод контроля температуры Обратная связь
Активатор защиты от запотевания (закрыть)
7
Обратная связь привода впуска

8
Датчик испарителя (+)

9
Датчик окружающей среды (+)

10
Исполнительный механизм управления режимами (VENT)

11
Исполнительный механизм управления режимами (DEF)
ток защиты от запотевания
12
Привод контроля температуры (COOL)
Температура предотвращения запотевания
13
Привод контроля температуры (ТЕПЛО)
Защита от запотевания
14
Впускной привод (FRE)
Данные по предотвращению запотевания
15
Впускной привод (REC)

16
HTD
Земля
17
Переключатель заднего обогревателя

18

19

20
Освещение (-)
21
IGN2
22
IGN1
23
Мотор вентилятора (+)
24
Фотодатчик (-)
25

26

27

28
Реле PTC 3
29
Реле PTC 2
30
PTC по сигналу
31
Фиксатор вне (-)
32

33
Шасси_CAN (высокий уровень)
34
Шасси_CAN (Низкий)
35
FET (обратная связь сливного шланга)
36
FET (Ворота)
37
ЭКВ (+)
38
ЭКВ (-)
39
Масса датчика
40
Земля

Принципиальные диаграммы
Схематические диаграммы

Процедуры ремонта
Самодиагностика
1.

Процесс самодиагностики

2.

Как прочитать код самодиагностики

Во время самодиагностики на дисплее мигает соответствующий код неисправности. Панель дисплея настройки температуры каждые 0,5 секунды и будет показывать две цифры.

Коды неисправностей отображаются в числовом формате.

Отображать
Описание ошибки
00
Нормальный
11
Датчик в салоне разомкнут
12
Короткое замыкание внутриавтомобильного датчика
13
Датчик температуры окружающего воздуха разомкнут
14
Короткое замыкание датчика температуры окружающего воздуха
17
Датчик температуры испарителя разомкнут
18
Замыкание датчика температуры испарителя
19
Потенциометр дверцы температуры разомкнут/закорочен
20
Неисправность потенциометра дверцы температуры
21
Потенциометр дверцы режима открыт/закорочен
22
Неисправность потенциометра дверцы режимов
25
Потенциометр впускной двери открыт/короткое замыкание
26
Неисправность потенциометра впускной двери
43
Потенциометр ножной дверцы открыт/короткое замыкание
44
Неисправность потенциометра дверцы педали
45
APT (датчик давления кондиционера) Неисправность сигнала CAN
47
Неисправность сигнала RPM CAN
48
Неисправность сигнала CAN скорости автомобиля
49
Неисправность сигнала CAN температуры охлаждающей жидкости двигателя
50
Неисправность кластерного ионизатора
51
Связь с датчиком автоматического предотвращения запотевания и неисправность входа датчика

3.

Отображение кода неисправности

(1)

Продолжительная работа: Код DTC равен нулю или единице.

(2)

Непрерывная работа: Код DTC равен двум или более.

(3)

ШАГОВАЯ операция

А.

Нормальный код или один код неисправности аналогичен непрерывной работе.

Б.

Код DTC равен двум или более.

4.

Если во время проверки отображаются коды неисправностей, проверьте причины неисправности. по таблице кодов неисправностей.

5.

Отказоустойчивый

Нет
Датчик
Состояние отказа
Отказоустойчивая функция
1
Автомобильный датчик
< 0,1 В или > 4,9 В
23°С (73,4°F)
2
Датчик температуры окружающей среды
< 0,1 В или > 4,9 В
20°С (68°F)
3
Датчик температуры испарителя
< 0,1 В или > 4,9 В
-2°С (28,4°F)
4
Обратная связь привода контроля температуры
< 0,1 В или > 4,9 В

Установленная температура составляет 24,5°C (76,1°F) или ниже: макс. прохладный

Установленная температура составляет 25,0°C (77°F) или выше: Макс.

5
Обратная связь привода управления режимами
< 0,5 В или > 4,5 В

Вентиляция: Вентиляция

Другие: Защита от запотевания

6
Обратная связь привода впуска
< 0,1 В или > 4,9 В

Рециркуляция: Рециркуляция

Другие: Свежий

7
Обратная связь ножного привода
< 0,5 В или > 4,5 В

Вентиляция: открытая

Другое: Закрыть

8
Датчик автоматического предотвращения запотевания
(Относительная влажность)
Ошибка связи

Относительная влажность: 60%,

Температура окружающей среды: 23°C (73,4°F)

9
Датчик автоматического предотвращения запотевания
(температура стекла)
< 0,1 В или > 4,9 В
Температура стекла: 23°C (73,4°F)
10
Температура охлаждающей жидкости двигателя
Ошибка связи
85°С (185°Ф)
11
ECV обратная связь
Нет ввода ECV
сигнал обратной связи

Сигнал неисправности ECV: 1

Выход управления PWM: поддерживать

Торг : 0


Замена
1.

Отсоедините отрицательную (-) клемму аккумуляторной батареи.

2.

Снимите нагреватель и контроллер кондиционера (A) после ослабления монтажного узла.

3.

Отсоедините разъемы (А) и воздушный шланг (В).

4.

Установка производится в порядке, обратном снятию.

Блок управления отопителем и кондиционером (РУЧНОЙ)
Компоненты и расположение компонентов Компоненты Функция контакта разъема НЕТ. Соединитель А Соединитель Б 1 Низкий ...
Дополнительная информация:

Kia Rio 2017-2023 YB Руководство по обслуживанию: Вставка водяной рубашки


Процедуры ремонта Удаление и установка 1. Снимите головку блока цилиндров в сборе. (См. раздел Головка цилиндра в сборе — «Головка цилиндра») 2. Снимите вставку водяной рубашки (А). ...

Kia Rio 2017-2023 YB Руководство по ремонту: Задняя пружина


Процедуры ремонта Удаление 1. Снимите колесные гайки, заднее колесо и шину с задней ступицы. Момент затяжки: 107,9–127,5 Н·м (11,0–13,0 кгс·м, 79,6–94,0 фунт·фут) ...