Kia Rio: карданный вал и ось / передняя ступица / поворотный кулак

Kia Rio 2017-2023 YB Руководство по ремонту / Карданный вал и ось / Передняя ступица / Поворотный кулак

Компоненты и расположение компонентов
Компоненты

1. Передний диск
2. Пылезащитный чехол
3. Рулька

Процедуры ремонта
Удаление
1.

Снимите колесные гайки, переднее колесо и шину с передней ступицы.

Момент затяжки:

107,9–127,5 Н·м (11,0–13,0 кгс·м, 79,6–94,0 фунт·фут)

Будьте осторожны, чтобы не повредить колесные гайки при снятии переднего колеса. колесо и шина.

2.

Ударом молотка по зубилу разблокируйте зачеканку гайки ступицы замка карданного вала.

Если на конце гайки имеется резьба (А), разблокируйте зачеканить зубилом, а затем ослабить гайку, чтобы не повредить резьба карданного вала.

3.

Снимите уплотнительную гайку (А) с передней оси.

Момент затяжки:

274,6–294,2 Н·м (28,0–30,0 кгс·м, 202,5–217,0 фунт·фут)

Стопорную гайку карданного вала необходимо заменить новой. При замене гайки ступицы замка привода используйте только гайку с резьбой (А) на конце.

Затяните гайку стопорной ступицы приводного вала до указанного момент затяжки и зачеканить с помощью долота и молотка.

Если ключевых мест два, выступайте на всех двух местах.

Глубина уплотнения (A): 1,5 мм (0,0591 дюйма)

4.

Снимите болты крепления тормозного суппорта, а затем удерживайте тормозной суппорт узел (A) с проволокой.

Момент затяжки:

78,4–98,0 Н·м (8,0–10,0 кгс·м, 57,8–72,3 фунт-фут)

5.

Снимите болт кронштейна тормозного шланга (А) и датчик скорости вращения колеса. болт кронштейна (В).

Момент затяжки:

A: 8,8–13,7 Н·м (0,9–1,4 кгс·м, 6,5–10,1 фунт·фут)

B: 7,8–11,8 Н·м (0,8–1,2 кгс·м, 5,8–8,7 фунт-фут)

6.

Снимите шаровой шарнир наконечника рулевой тяги с поворотного кулака с помощью SST (09568-34000).

(1)

Снимите шплинт (А).

(2)

Снимите корончатую гайку (В).

(3)

Используйте SST (09568-34000).

Момент затяжки:

15,7–33,3 Н·м (2,3–3,4 кгс·м, 16,6–24,6 фунт-фут)

7.

Снимите болт и гайку нижнего рычага (А).

Момент затяжки:

58,8–70,6 Н·м (6,0–7,2 кгс·м, 43,4–52,1 фунт·фут)

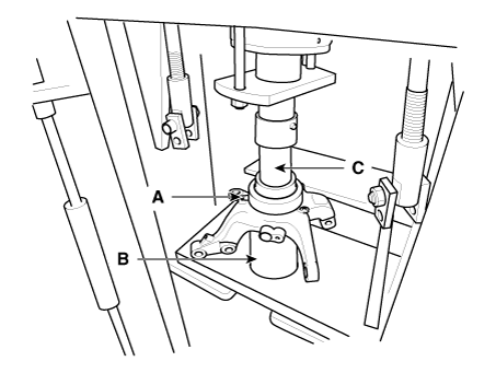
8.

Снимите передний нижний рычаг с переднего поворотного кулака с помощью SST (0K545-A9100).

(1)

После снятия болтов с переднего поворотного кулака установите и затяните болт нижней части кузова (А) .

(2)

Введите вспомогательное тело (B) между передним кулаком и вспомогательным кузовной болт.

(3)

Затяните болт (C) вспомогательного кузова, чтобы увеличить зазор передний сустав.

(4)

Установите страховочную проволоку (A).

Установите страховочную проволоку на переднюю стойку, чтобы предотвратить падение SST и травмы техников.

(5)

Установите основной корпус (А) между передней стойкой и нижней рука.

(6)

Во избежание отрыва основного корпуса установите фиксирующий зажим (A) рядом с основным корпусом.

(7)

После установки корпуса (А) поверните ручку (В) по часовой стрелке. с помощью зажима фиксируется на нижнем рычаге.

(8)

Медленно затяните основной болт корпуса (А) и снимите нижний рычаг. от переднего сустава.

9.

Ослабьте болты и снимите узел стойки (А) с поворотного кулака.

Момент затяжки:

98,0–117,6 Н·м (10,0–12,0 кгс·м, 72,3–86,7 фунт-фут)

осмотр
1.

Проверьте ступицу на наличие трещин и шлицы на износ.

2.

Проверьте тормозной диск на наличие царапин и повреждений.

3.

Проверить кулачок на наличие трещин

4.

Проверьте подшипник на наличие трещин или повреждений.

Разборка
1.

Снимите стопорное кольцо (А).

2.

Снимите узел ступицы с узла поворотного кулака.

(1)

Установите узел переднего поворотного кулака (А) на пресс.

(2)

Наденьте подходящий переходник (B) на вал ступицы в сборе.

3.

Снимите внутреннее кольцо подшипника ступицы со ступицы в сборе.

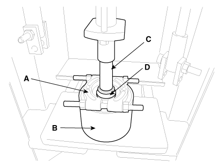
(1)

Установите инструмент для снятия внутренней обоймы подшипника ступицы (A) на ступицу. сборка.

(2)

Закрепите узел ступицы и инструмент для снятия (A) на подходящем адаптер (В).

(3)

Установите подходящий переходник (C) на вал ступицы в сборе.

(4)

С помощью пресса снимите внутреннюю обойму подшипника ступицы (D) с ступица в сборе.

4.

Снимите внешнее кольцо подшипника ступицы с поворотного кулака в сборе.

(1)

Закрепите узел поворотного кулака (A) на подходящем переходнике (B).

(2)

Установите подходящий переходник (C) на внешнее кольцо подшипника ступицы.

(3)

С помощью пресса снимите наружное кольцо подшипника ступицы с поворотного кулака. сборка.

5.

Замените подшипник ступицы на новый.

Сборка
1.

Установите подшипник ступицы на поворотный кулак в сборе.

(1)

Закрепите узел поворотного кулака (А) на прессе.

(2)

Установите новый подшипник ступицы на узел поворотного кулака (А).

(3)

Установите подходящий переходник (B) на подшипник ступицы.

(4)

С помощью пресса установите подшипник ступицы в узел поворотного кулака.

Не нажимайте на внутреннюю обойму подшипника ступицы. поскольку это может привести к повреждению подшипникового узла.

Всегда используйте новый ступичный подшипник в сборе.

2.

Установите узел ступицы на узел поворотного кулака.

(1)

Закрепите узел ступицы (A) на подходящем адаптере.

(2)

Установите узел поворотного кулака (B) на узел ступицы (A).

(3)

Установите подходящий адаптер (C) на подшипник ступицы.

(4)

Нажмите на пресс, чтобы установить ступицу в сборе (A) на поворотный кулак. сборка (В).

Не надавливайте на внутреннюю обойму подшипника ступицы, потому что это может привести к повреждению подшипникового узла.

При наличии ABS/VDC обязательно проверьте направление установки. подшипника ступицы ( Если подшипник ступицы установлен напротив, Загорится сигнальная лампа ABS/VDC)

3.

Установите стопорное кольцо (А).

Карданный вал и ось
Технические характеристики Спецификация Двигатель Т/М Тип соединения Макс. допустимый угол Внешний Внутренний Внешний ...
Сборка карданного вала
...
Дополнительная информация:

Kia Rio 2017-2023 YB Service Manual: Предохранители и реле


Компоненты и расположение компонентов Расположение компонента [Машинное отделение] 1. Блок реле машинного отделения [Внутреннее реле] 1. Внутренний распределительный блок (IJB) ...

Kia Rio 2017-2023 YB Service Manual: Лампа в салоне


Процедуры ремонта Удаление • Наденьте перчатки, чтобы не поранить руки. • При снятии с помощью плоской отвертки или съемника оберните защитным т ...