Kia Picanto: силовая передача / паровой шланг и крышка топливного бака

Руководство по ремонту и обслуживанию Kia Picanto JA 2017-2023 гг. / Обслуживание / Силовая передача / Паровой шланг и крышка топливного бака

Процедуры ремонта
осмотр
Паровой шланг
1.
Проверьте все хомуты на затяжку и соединения на герметичность.
2.
Визуально проверьте паропроводы и шланги на наличие трещин, утечек, ослабленных соединений или деформации.
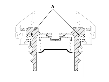
Крышка топливного бака
1.
Визуально проверьте, чтобы крышка топливного бака и прокладка (А) не были деформированы или повреждены.

Клапанный зазор
Процедуры ремонта осмотр [Каппа 1.0 MPI, 1.0 FFV, 1.0 T-GDI] Проверьте зазор клапана. При необходимости отрегулируйте зазор клапанов, заменив толкатели. ...
Шасси
...
Дополнительная информация:

Руководство по эксплуатации Kia Picanto JA 2017-2023: Меры предосторожности при использовании смарт-ключа


УВЕДОМЛЕНИЕ Если по какой-то причине вам случится потеряете смарт-ключ, вы не быть в состоянии запустить двигатель. Буксировка автомобиле, при необходимости свяжитесь с профессиональная мастерская. Киа рекомендует связаться с уполномоченным Дилер/сервисный партнер Киа. Можно использовать не более 2 смарт-ключей. быть рег...

Руководство по ремонту и обслуживанию Kia Picanto JA 2017-2023: Натяжитель приводного ремня


Процедуры ремонта Снятие и установка 1. Снимите крышку моторного отсека. (См. Двигатель и трансмиссия в сборе — «Под крышкой моторного отсека») 2. Снимите приводной ремень. (См. Система приводного ремня — «Приводной ремень») 3. Снимите натяжитель приводного ремня (...