Kia Picanto: Карданный вал в сборе / TJ-шарнир

Руководство по ремонту и обслуживанию Kia Picanto JA 2017-2023 гг. / Карданный вал и ось / Сборка карданного вала / ТиДжей Джойнт

Компоненты и расположение компонентов
Компоненты
[Правый]

1. Сборка БЖ
2. Клип
3. Ремешок для обуви BJ
4. Сапоги для минета
5. Лента динамического демпфера
6. Динамический демпфер
7. Вал
8. Ремешок для ботинок TJ
9. Ботинок TJ
10. Паук в сборе
11. Стопорное кольцо
12. Корпус ТЖ
13. Стопорное кольцо

[левый]

1. Сборка БЖ
2. Стопорное кольцо BJ
3. Ремешок для обуви BJ
4. Сапоги для минета
5. Вал
6. Ремешок для ботинок TJ
7. Ботинок TJ
8. Паук в сборе
9. Стопорное кольцо
10. Дело Т.Дж.
11. Стопорное кольцо

Процедуры ремонта
Удаление
На шарнир карданного вала необходимо нанести специальную смазку. Не заменяйте смазку другим типом.
Башмак следует заменить на новый.
1.
Снимите передний приводной вал.
(См. Приводной вал и ось - «Передний карданный вал»)
2.
Снимите стопорное кольцо BJ (B) с корпуса TJ (A).

3.
Снимите оба хомута с корпуса TJ.

4.
Снимите стопорное кольцо TJ (A).

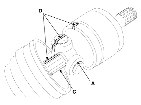
Сделайте установочные метки (D) на узле ролика крестовины (A), корпусе TJ (B) и шлице вала (C), чтобы облегчить повторную сборку.

5.
Снимите стопорное кольцо (А) и крестовину в сборе (В).

6.
Очистите крестовину в сборе.
7.
Снимите ботинок TJ (A).
Для повторного использования чехла (A) оберните лентой (B) шлицы приводного вала (C), чтобы защитить чехол (A).

осмотр
1.
Проверьте крестовину в сборе на вращение роликов, износ или коррозию.
2.
Проверьте канавку внутри корпуса шарнира на предмет износа или коррозии.
3.
Проверьте сапоги TJ на наличие повреждений и износа.
Монтаж
1.
Оберните ленту вокруг шлица приводного вала (TJ), чтобы не повредить чехол.
2.
С использованием направляющие метки (D), сделанные во время разборки, установите узел крестовины (A) и стопорное кольцо (B) на шлицах приводного вала (C).

3.
Добавьте указанную смазку в пыльник шарнира столько, сколько было стерто при осмотре.
4.
Установите оба загрузочных ремня.
5.
Чтобы контролировать воздух в ботинках TJ, соблюдайте указанное расстояние между ремнями ботинок, когда они затянуты.
Двигатель
Расстояние (L) мм (дюймы)
левая сторона
Правая сторона
Каппа 1,0 МТ
517,4 (20,3701)
705,3 (27,7677)
Каппа 1.0 АТ
510,4 (20,0945)
712,3 (28,0433)
Каппа 1.0 T-GDI МТ
507,0 (19,9606)
701,9 (27,6339)
Каппа 1.0 T-GDI АТ
506,9 (19,9567)
701,9 (27,6339)
Каппа 1,2 Мт
472,4 (18,5984)
705,3 (27,7677)
Каппа 1.2 АТ
465,4 (18,3228)
757,3 (29,8150)

6.
С помощью SST (09495-3K000) закрепите хомуты чехлов TJ.
Зазор (A): 2,0 мм (0,0787 дюйма) или менее

7.
Установите передний приводной вал.
(См. Приводной вал и ось - «Передний карданный вал»)
8.
Проверьте переднее выравнивание.
(См. Система подвески — «Выравнивание»)
Передний карданный вал
Компоненты и расположение компонентов Компоненты 1. Приводной вал (левый) 2. Приводной вал (правый) [Правый] 1. Сборка BJ 2. Зажим 3. Лента ботинка BJ 4. Ботинок BJ 5. Лента динамического демпфера 6. Динамическая дамба ...
Динамический демпфер
Компоненты и расположение компонентов Компоненты [Правый] 1. Сборка BJ 2. Зажим 3. Лента ботинка BJ 4. Ботинок BJ 5. Лента динамического демпфера 6. Динамический демпфер 7. Вал 8. Лента ботинка TJ 9. Ботинок TJ 10. Spi ...
Дополнительная информация:

Руководство по ремонту и обслуживанию Kia Picanto JA 2017-2023: Ковровое покрытие


Компоненты и расположение компонентов Расположение компонента 1. Сборка напольного ковра Процедуры ремонта Замена Наденьте перчатки, чтобы защитить руки. • Используйте инструмент для снятия пластиковой панели, чтобы удалить ...

Руководство по ремонту и обслуживанию Kia Picanto JA 2017-2023: Выключатель аварийной сигнализации


Процедуры ремонта осмотр 1.Проверьте целостность цепи между клеммами. Если непрерывность не соответствует указанной, замените выключатель аварийной сигнализации. Нет. Описание Нет. Описание ...