Kia Picanto: Заднее сиденье / Чехол на подушку заднего сиденья

Руководство по ремонту и обслуживанию Kia Picanto JA 2017-2023 гг. / Кузов (внутри и снаружи) / Заднее сидение / Чехол на подушку заднего сиденья

Компоненты и расположение компонентов
Расположение компонента

1. Чехол подушки заднего сиденья

Процедуры ремонта
Замена
Наденьте перчатки, чтобы защитить руки.
Используйте инструмент для снятия пластиковой панели, чтобы удалить детали внутренней отделки, не повредив поверхность.
Будьте осторожны, чтобы не погнуть и не поцарапать обивку и панели.
1.
Снимите сиденье в сборе.
(См. Заднее сиденье — «Заднее сиденье в сборе»)
2.
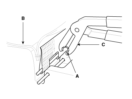
Снимите чехол подушки заднего сиденья (А), предварительно сняв кольцевые зажимы на задней части чехла подушки сиденья.
[Обратная сторона]

[Внутри]

3.
Установите в порядке, обратном снятию.
Убедитесь, что разъемы подключены правильно.
Замените все поврежденные клипсы.
Во избежание образования складок убедитесь, что материал равномерно натянут на чехол (B), прежде чем закреплять зажимы (A).
Замените кольцевые зажимы новыми с помощью специального инструмента (C) (09880-4F000).

Крышка спинки заднего сиденья
Компоненты и расположение компонентов Расположение компонента 1. Обивка спинки заднего сиденья [RH] 2. Обивка спинки заднего сиденья [LH] Процедуры ремонта Замена &nbs...
Задний ремень безопасности
...
Дополнительная информация:

Руководство по ремонту и обслуживанию Kia Picanto JA 2017-2023: Переключатель люка на крыше


Компоненты и расположение компонентов Компоненты Процедуры ремонта осмотр 1. Отсоедините отрицательную (-) клемму аккумуляторной батареи. 2. Снимите линзу картографического фонаря (A). 3. Снимите фонарь (B) после ослабления крепежных винтов. 4. Проверьте целостность цепи между клеммами. я...

Руководство по эксплуатации Kia Picanto JA 2017-2023: Домкрат и инструменты


Домкрат, ручка домкрата, гайка крепления колеса гаечный ключ хранится в багажном отделении. Поднимите крышку багажного отделения, чтобы достать это оборудование. 1. Ручка домкрата 2. Джек 3. Ключ для колесных гаек Инструкции по домкрату Домкрат предусмотрен для аварийного шиномонтажа только меняется. Чтобы домкрат не упал...