Kia Picanto: переднее сиденье / задняя крышка переднего сиденья

Руководство по ремонту и обслуживанию Kia Picanto JA 2017-2023 гг. / Кузов (внутри и снаружи) / Переднее сиденье / Чехол на спинку переднего сиденья

Компоненты и расположение компонентов
Расположение компонента

1. Обивка спинки переднего сиденья


Процедуры ремонта
Замена
Наденьте перчатки, чтобы защитить руки.
Используйте инструмент для снятия пластиковой панели, чтобы удалить детали внутренней отделки, не повредив поверхность.
Будьте осторожны, чтобы не погнуть и не поцарапать обивку и панели.
1.
Снимите переднее сиденье в сборе.
(См. Переднее сиденье — «Переднее сиденье в сборе»)
2.
Снимите ручку кресла (А) после ослабления винта.

3.
Снимите колпачок рычага насоса (А).

4.
Снимите рычаг подкачки (А) после ослабления крепежных винтов.

5.
Снимите наружную крышку кожуха переднего сиденья (А) после ослабления крепежных винтов.

Правильно снимите внешнюю крышку щитка переднего сиденья в соответствии с процедурой и направлением снятия.
Будьте осторожны, чтобы не повредить монтажный кронштейн и крюк при снятии крышки.
6.
Снимите внутреннюю крышку (А) щитка переднего сиденья с помощью съемника .

7.
Поднимите подголовник переднего сиденья (А).

8.
Снимите нижний защитный кожух спинки переднего сиденья (А).

9.
Отсоедините разъем отопителя (А) и зажимы крепления проводки подушки безопасности (В).

10.
Снимите стопорное кольцо задней крышки переднего сиденья.

11.
Откройте молнию спинки переднего сиденья (А) и потяните ее вверх.

12.
Отсоедините нижний крюк обивки спинки переднего сиденья.

13.
Отсоедините верхний крючок обивки спинки переднего сиденья.

14.
Повернуть спинку переднего сиденья наизнанку. Затем вытяните и снимите направляющие подголовника (A), зажимая обе стороны нижней части подголовника. гиды.

15.
Снимите обивку спинки переднего сиденья (А) с рамы спинки переднего сиденья.

16.
Удалять обивку спинки переднего сиденья (C) спереди каркас спинки сиденья после снимите липучку (A) и защелки (B).

17.
Установите в порядке, обратном снятию.
Убедитесь, что разъемы подключены полностью.
Замените все поврежденные зажимы (или фиксаторы штифтового типа).
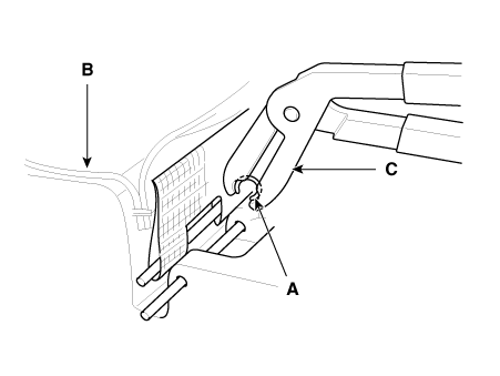
Во избежание образования складок убедитесь, что крышка (B) равномерно натянута, прежде чем подсоединять зажимы с зажимными кольцами (A).
Замените кольцевые зажимы новыми с помощью специального инструмента (C) (09880 - 4F000).

Внутренняя крышка экрана переднего сиденья
Компоненты и расположение компонентов Расположение компонента 1. Внутренняя крышка щитка переднего сиденья Процедуры ремонта Замена Наденьте перчатки, чтобы защитить руку...
Чехол на подушку переднего сиденья
Компоненты и расположение компонентов Расположение компонента 1. Чехол подушки переднего сиденья ...
Дополнительная информация:

Kia Picanto JA 2017-2023 Руководство по ремонту и обслуживанию: Обшивка крыши в сборе


Компоненты и расположение компонентов Расположение компонента 1. Сборка обшивки крыши Процедуры ремонта Замена Наденьте перчатки, чтобы защитить руки. • Используйте инструмент для снятия пластиковой панели, чтобы удалить ...

Руководство по ремонту и обслуживанию Kia Picanto JA 2017-2023: Буксировка


Общая информация Буксировка Если автомобиль необходимо отбуксировать, вызовите профессиональную службу эвакуации. Никогда не буксируйте автомобиль только на веревке или цепи, так как это чрезвычайно опасно. опасный. Аварийная буксировка Существует три популярных способа буксировки автомобиля: – Фл ...