Kia Picanto: Карданный вал и ось / Передний мост в сборе

Руководство по ремонту и обслуживанию Kia Picanto JA 2017-2023 гг. / Карданный вал и ось / Передний мост в сборе

Компоненты и расположение компонентов
Компоненты

1. Стопорное кольцо
2. Подшипник
3. Ось в сборе
4. Пылезащитная крышка тормозного диска
5. Ступица колеса в сборе
6. Колесный тормозной диск
7. Винт крепления тормозного диска
8. Колесо/шина
9. Колесная гайка

Процедуры ремонта
Удаление
1.
Снимите шину переднего/заднего колеса (А).
Момент затяжки:
107,9–127,5 Н·м (11,0–13,0 кгс·м, 79,6–94,0 фунт·фут)

Будьте осторожны, чтобы не повредить колесные гайки при снятии переднего колеса и шины.
2.
Выверните болты крепления тормозного суппорта (А) и удерживайте тормозной суппорт проволокой.
Момент затяжки:
78,4–98,0 Н·м (8,0–10,0 кгс·м, 57,8–72,3 фунт-фут)

3.
Ударом молотка по зубилу разблокируйте зачеканку гайки ступицы замка карданного вала.

Если на конце гайки имеется резьба (А), разблокируйте герметик, зубилом, а затем ослабьте гайку, чтобы не повредить карданный вал. резьба.

4.
Снимите контргайку с передней оси.
Момент затяжки:
274,6–294,2 Н·м (28,0–30,0 кгс·м, 202,5–217,0 фунт·фут)

контргайка приводного вала должна быть заменена новой. При замене гайку ступицы замка привода, используйте только гайку с резьбой (A) на конце.

Затяните гайку стопорной ступицы приводного вала с указанным моментом затяжки и загерметизируйте ее с помощью зубила и молотка.
Если ключевых мест два, выступайте на всех двух местах.
Глубина уплотнения (A): 1,5 мм (0,0591 дюйма)

5.
Ослабьте болт и снимите датчик скорости вращения колеса.
Момент затяжки:
6,9–10,8 Н·м (0,7–1,1 кгс·м, 5,1–8,0 фунт·фут)

6.
Снимите штифт и гайку с шарового шарнира наконечника рулевой тяги.
Момент затяжки:
24,5–34,3 Н·м (2,5–3,5 кгс·м, 18,1–25,3 фунт-фут)

7.
Снимите шаровой шарнир наконечника рулевой тяги с поворотного кулака с помощью SST (09568-1S100).

8.
Снимите болт и гайку нижнего рычага (А).
Момент затяжки:
58,8–70,6 Н·м (6,0–7,2 кгс·м, 43,4–52,1 фунт·фут)

9.
Снимите передний нижний рычаг с переднего поворотного кулака с помощью SST (0K545-A9100).
(1)
Сняв болты с переднего поворотного кулака, установите и затяните болт (А) опоры кузова.

(2)
Вставьте вспомогательный кузов (B) между передним поворотным кулаком и болтом вспомогательного кузова.
(3)
Затяните болт (C) вспомогательного кузова, чтобы увеличить зазор переднего поворотного кулака.

(4)
Установите безопасный провод.

Установите предохранительный трос на переднюю стойку, чтобы предотвратить падение SST и травмирование техников.
(5)
Установите основной корпус (А) между передней стойкой и нижним рычагом.
(6)
Во избежание отрыва основного корпуса установите фиксирующий зажим (B) рядом с основным корпусом.

(7)
После установки корпуса поверните рукоятку (А) по часовой стрелке, пока зажим не зафиксируется на нижнем рычаге.

(8)
Медленно затяните основной болт корпуса (А) и снимите нижний рычаг с переднего поворотного кулака.

10.
Ослабьте винт и снимите тормозной диск.
Момент затяжки:
4,9–5,9 Н·м (0,5–0,6 кгс·м, 3,6–4,3 фунт-фут)

11.
Ослабьте болты и гайки передней стойки и снимите узел поворотного кулака (А).
Момент затяжки:
98,0–117,6 Н·м (10,0–12,0 кгс·м, 72,3–86,7 фунт-фут)

осмотр
1.
Проверьте ступицу на наличие трещин и шлицы на износ.
2.
Проверьте тормозной диск на наличие царапин и повреждений.
3.
Проверить кулачок на наличие трещин
4.
Проверьте подшипник на наличие трещин или повреждений.
Разборка
1.
Снимите стопорное кольцо (А).

2.
Снимите узел ступицы с узла поворотного кулака.
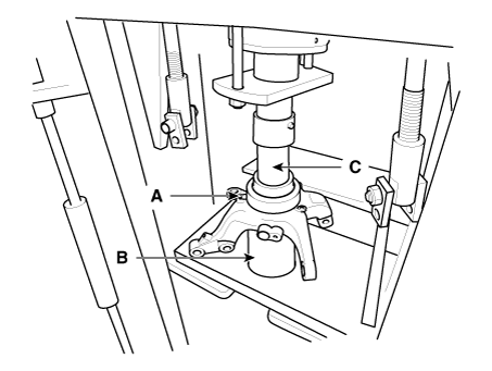
(1)
Установите узел переднего поворотного кулака (А) на пресс.
(2)
Наденьте подходящий переходник (B) на вал ступицы в сборе.

3.
Снимите внутреннее кольцо подшипника ступицы со ступицы в сборе.
(1)
Установите инструмент для снятия внутренней обоймы подшипника ступицы (А) на ступицу в сборе.
(2)
Закрепите узел ступицы и инструмент для снятия (A) на подходящем адаптере (B).
(3)
Установите подходящий переходник (C) на вал ступицы в сборе.
(4)
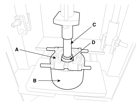
С помощью пресса снимите внутреннюю обойму подшипника ступицы (D) со ступицы в сборе.

4.
Снимите внешнее кольцо подшипника ступицы с поворотного кулака в сборе.
(1)
Закрепите узел поворотного кулака (A) на подходящем переходнике (B).
(2)
Установите подходящий переходник (C) на внешнее кольцо подшипника ступицы.
(3)
С помощью пресса снимите внешнее кольцо подшипника ступицы с поворотного кулака в сборе.

5.
Замените подшипник ступицы на новый.
Сборка
1.
Установите подшипник ступицы на поворотный кулак в сборе.
(1)
Закрепите узел поворотного кулака (А) на прессе.
(2)
Установите новый подшипник ступицы на узел поворотного кулака (А).
(3)
Установите подходящий переходник (B) на подшипник ступицы.
(4)
С помощью пресса установите подшипник ступицы в узел поворотного кулака.

Не надавливайте на внутреннюю обойму подшипника ступицы, так как это может привести к повреждению подшипникового узла.
Всегда используйте новый ступичный подшипник в сборе.
2.
Установите узел ступицы на узел поворотного кулака.
(1)
Закрепите узел ступицы (A) на подходящем адаптере.
(2)
Установите узел поворотного кулака (B) на узел ступицы (A).
(3)
Установите подходящий адаптер (C) на подшипник ступицы.
(4)
Нажмите на пресс, чтобы установить узел ступицы (A) на узел поворотного кулака (B).

Не надавливайте на внутреннюю обойму подшипника ступицы, так как это может привести к повреждению подшипникового узла.

Для ABS/VDC, обязательно проверьте направление установки подшипника ступицы. ( Если подшипник ступицы установлен напротив, загорается сигнальная лампа ABS/VDC. будет светиться)
3.
Установите стопорное кольцо (А).

Карданный вал и ось
Технические характеристики Спецификация Двигатель Т/М Тип соединения Макс. допустимый угол ...
Сборка карданного вала
...
Дополнительная информация:

Kia Picanto JA 2017-2023 Руководство по эксплуатации: ESS : Сигнал аварийной остановки


Система сигналов аварийной остановки предупреждает водителя сзади, мигая стоп-сигнал, когда автомобиль внезапно останавливается или когда ABS активируется в останавливаться. (Система активируется, когда скорость автомобиля превышает 55 км/ч, а замедление автомобиля превышает 7 м/с² или АБС срабатывает когда...

Kia Picanto JA 2017-2023 Руководство по эксплуатации: Подстаканник


ПРЕДУПРЕЖДЕНИЕ Горячие жидкости Не ставьте открытые чашки с горячим жидкость в подстаканник, в то время как транспортное средство находится в движении. Если горячая жидкость разливы, вы можете обжечься. Такой ожог водитель мог привести к потере контроля над автомобилем. Для снижения риска травм в ...