Kia Picanto: Тормозная система / Система электронного контроля устойчивости (ESC)

Руководство по ремонту и обслуживанию Kia Picanto JA 2017-2023 гг. / Тормозная система / Система ESC (электронный контроль устойчивости)

Компоненты и расположение компонентов
Компоненты

1. Модуль управления ESC (HECU)
2. Датчик скорости переднего колеса
3. Датчик скорости заднего колеса

Описание и работа
Описание ЭСК
Электронный Система курсовой устойчивости (ESC) распознает критические условия вождения, такие как панические реакции в опасных ситуациях и стабилизирует автомобиль за счет индивидуальное торможение колес и вмешательство в управление двигателем.
ESC добавляет дополнительную функцию, известную как Active Yaw Control (AYC). Функции ABS, TCS, EBD и ESC. Напротив, функция ABS/TCS контролирует проскальзывание колес при торможении и ускорении и, таким образом, в основном вмешивается в продольную динамику автомобиля, а активный контроль рыскания стабилизирует автомобиль на вертикальной оси.
Этот достигается за счет индивидуального торможения колес и адаптации мгновенный крутящий момент двигателя без необходимости каких-либо действий со стороны водитель.
ESC в основном состоит из трех узлов: датчиков, электронного блока управления и приводов.
Функция контроля устойчивости работает во всех режимах вождения и эксплуатации. условия. При определенных условиях вождения функция ABS/TCS может активироваться одновременно с функцией ESC в ответ на по команде водителя.
В случае отказа функции контроля устойчивости основная функция безопасности, ABS, продолжает работать.

Описание управления ESC
Система ESC состоит из функций ABS/EBD, TCS и AYC.
АБС/ЭБД Функция: ЭБУ изменяет активный сигнал датчика (текущий сдвиг) поступающие от четырех колесных датчиков в прямоугольные волны. Используя ввод вышеперечисленных сигналов ЭБУ вычисляет скорость автомобиля и ускорение и замедление четырех колес. И ЭБУ судит должна ли включаться система ABS/EBD или нет.
ТКС Функция предотвращает проскальзывание колеса в направлении движения, добавляя тормоз снижение давления и крутящего момента двигателя по шине CAN. ТКС Функция использует сигнал датчика скорости вращения колеса для определения проскальзывания колеса. что касается функции АБС.
АЙК Функция предотвращает неустойчивое маневрирование автомобиля. Чтобы определить маневрирование автомобиля, функция AYC использует сигналы датчиков маневрирования (Yaw Датчик скорости, датчик поперечного ускорения и угол поворота рулевого колеса датчик).
Если Маневр автомобиля нестабилен (избыточная или недостаточная поворачиваемость), функция AYC применяет тормозное давление на определенное колесо и передает крутящий момент двигателя сигнал понижения по CAN.
После при включении зажигания ЭБУ постоянно диагностирует отказ системы (самодиагностика). Если обнаружен сбой в системе, ЭБУ информирует об этом. драйвер отказа системы через контрольную лампу BRAKE/ABS/ESC (отказоустойчивое предупреждение).

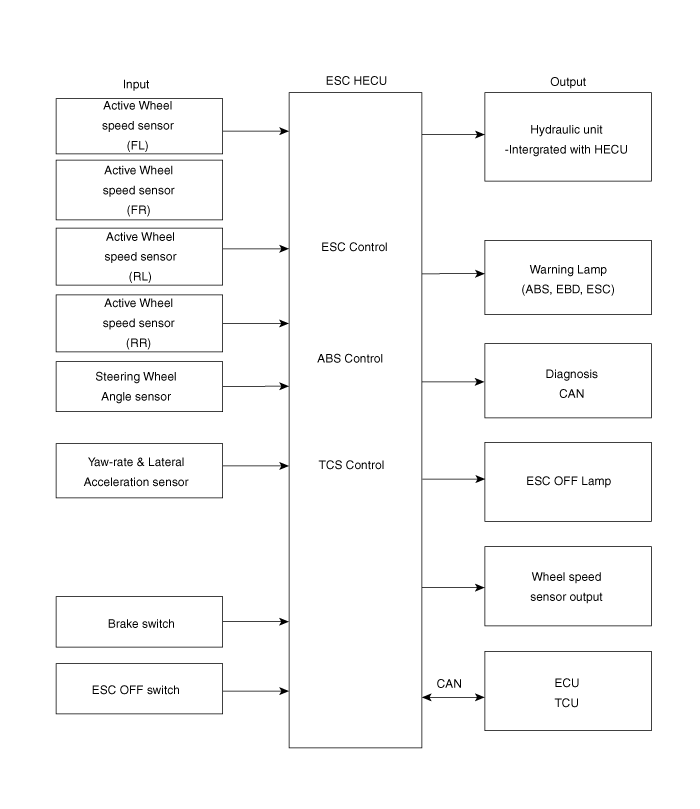
Диаграмма ввода и вывода

Режим работы регулятора скорости
Схема гидравлической системы ESC

1.
ESC не работает: Обычное торможение.
Соленоидный клапан
Преемственность
Клапан
Мотопомпа
Клапан ТК
В (НЕТ)
ВЫКЛЮЧЕННЫЙ
ОТКРЫТЬ
ВЫКЛЮЧЕННЫЙ
ВЫКЛЮЧЕННЫЙ
ВЫХОД (НЗ)
ВЫКЛЮЧЕННЫЙ
ЗАКРЫВАТЬ

2.
работа регулятора скорости
Соленоидный клапан
Преемственность
Клапан
Мотопомпа
Клапан ТК
недостаточная поворачиваемость
(Только внутри
Заднее колесо)
В (НЕТ)
ВЫКЛЮЧЕННЫЙ
ОТКРЫТЬ
НА
НА
ВЫХОД(НЗ)
ВЫКЛЮЧЕННЫЙ
ЗАКРЫВАТЬ
избыточная поворачиваемость
(Только снаружи
переднего колеса)

В (НЕТ)
ВЫКЛЮЧЕННЫЙ
ОТКРЫТЬ
ВЫХОД(НЗ)
ВЫКЛЮЧЕННЫЙ
ЗАКРЫВАТЬ

Модуль контрольной лампы АБС
активный модуль контрольной лампы ABS указывает на самопроверку и отказ состояние АБС. Контрольная лампа ABS загорается при следующих условия:
Во время фазы инициализации после IGN ON. (непрерывно 3 секунды).
В случае торможения работы АБС по отказу.
В режиме диагностики.
Когда разъем ECU отделен от ECU.
Лампа кластера горит, когда связь с модулем CAN невозможна.
Модуль контрольной лампы EBD/стояночного тормоза
активный модуль контрольной лампы EBD указывает на самопроверку и отказ состояние ЭБД. Однако, если переключатель стояночного тормоза повернут сигнальная лампа EBD всегда горит независимо от EBD функции. Контрольная лампа EBD загорается при следующих условия:
Во время фазы инициализации после IGN ON. (непрерывно 3 секунды).
Когда переключатель стояночного тормоза включен или уровень тормозной жидкости низкий.
Когда функция EBD вышла из строя.
В режиме диагностики.
Когда разъем ECU отделен от ECU.
Лампа кластера горит, когда связь с модулем CAN невозможна.
Функция ESC/сигнальная лампа
Функциональная/предупредительная лампа ESC указывает на самопроверку и состояние неисправности ESC.
Функциональная/контрольная лампа ESC загорается при следующих условиях:
Во время фазы инициализации после IGN ON. (непрерывно 3 секунды).
Когда функция ESC заблокирована из-за сбоя системы.
Когда управление ESC работает. (мигание - 2 Гц)
В режиме диагностики (кроме стандартного режима).
Лампа кластера горит, когда связь с модулем CAN невозможна.
Лампа выключения ESC
Лампа ESC Off указывает на самопроверку и рабочее состояние ESC.
Индикатор ESC Off работает при следующих условиях:
В режиме инициализации после IGN ON. (непрерывно 3 секунды).
Лампа ESC Off загорается, когда водитель нажимает кнопку ESC Off.
Переключатель ESC вкл./выкл.
Переключатель ESC On/Off используется для переключения функции ESC между состояниями On/Off в зависимости от действий водителя.
Выключатель Вкл/Выкл представляет собой нормально разомкнутый контактный выключатель мгновенного действия. Замкнутые контакты переключают цепь на зажигание.
Исходное состояние функции ESC включено и состояние переключателя.
Датчик скорости заднего колеса
Процедуры ремонта Удаление 1. Снимите шину колеса (А). Момент затяжки: 107,9–127,5 Н·м (11,0–13,0 кгс·м, 79,6–94,0 фунт·фут) 2. Снимите боковую обшивку багажника. ...
Модуль управления ESC
Компоненты и расположение компонентов Компоненты 1. Разъем модуля управления ESC 2. Модуль управления ESC 3. Кронштейн ESC Процедуры ремонта Удаление 1.Выключите зажигание и отсоедините ...
Дополнительная информация:

Руководство по эксплуатации Kia Picanto JA 2017-2023: Компоненты и функции SRS


SRS состоит из следующих компонентов: 1. Модуль передней подушки безопасности водителя 2. Модуль передней подушки безопасности пассажира 3. Модули боковых подушек безопасности 4. Модули шторок безопасности 5. Узлы натяжителя втягивающего устройства 6. Сигнальная лампа подушки безопасности 7. Модуль управления SRS (SRSCM)/опрокидывание датчик 8. С...

Руководство по ремонту и обслуживанию Kia Picanto JA 2017-2023: Защита заднего колеса


Процедуры ремонта Замена Наденьте перчатки, чтобы защитить руки. • Используйте инструмент для снятия пластиковой панели, чтобы удалить детали внутренней отделки, не повредив поверхность. • Будьте осторожны, чтобы не согнуть...