Kia Picanto: головка блока цилиндров в сборе / CVVT и распределительный вал

Руководство по ремонту и обслуживанию Kia Picanto JA 2017-2023 гг. / Механическая система двигателя / Головка цилиндра в сборе / CVVT и распределительный вал

Описание и работа
Описание
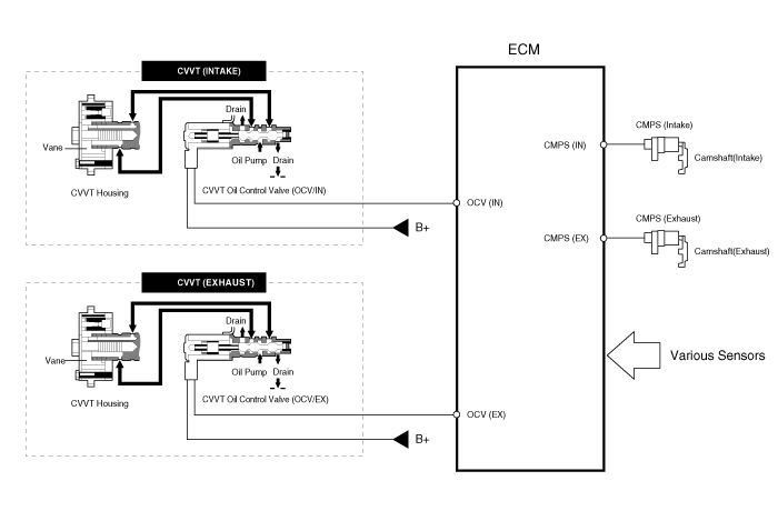
Непрерывный Система изменения фаз газораспределения (CVVT) опережает или задерживает клапан. синхронизация впускного и выпускного клапана в соответствии с ECM управляющий сигнал, который рассчитывается по частоте вращения двигателя и нагрузке.
К при управлении CVVT происходит перекрытие или недопуск клапанов, что делает лучшая экономия топлива, снижение выхлопных газов (Nox, HC) и улучшение двигателя производительность за счет снижения насосных потерь, внутреннего эффекта рециркуляции отработавших газов, улучшение стабильности горения и объемного КПД, а также увеличение работы расширения.
Эта система состоит из
в Клапан управления маслом CVVT (OCV), который подает моторное масло на кулачок. фазовращатель или вытекает моторное масло из кулачкового фазовращателя в соответствии с управляющий сигнал ECM PWM (импульсный с модуляцией),
датчик температуры масла CVVT (OTS), который измеряет температуру моторного масла,
и Cam Phaser, который изменяет фазу кулачка, используя гидравлическую силу моторного масла.
моторное масло, вытекающее из клапана управления маслом CVVT, изменяет положение кулачка фаза в прямом направлении (Intake Advance/Exhaust Retard) или направление, противоположное двигателю (замедление впуска/опережение выпуска) вращение за счет вращения ротора, соединенного с распределительным валом внутри кулачковый фазер.

Принцип работы
CVVT имеет механизм, вращающий лопасть ротора за счет гидравлической силы. вырабатывается моторным маслом, подаваемым в камеру опережения или замедления в в соответствии с управлением клапана управления маслом CVVT.

[Системный режим CVVT]

(1) Низкая скорость/низкая нагрузка
(2) Частичная нагрузка


(3) Низкая скорость/высокая нагрузка
(4) Высокая скорость/высокая нагрузка



Вождение
Состояние
Выхлопной клапан
Впускной клапан
Клапан
Сроки
Эффект
Клапан
Сроки
Эффект
(1) Низкая скорость
/Низкая нагрузка
Полностью
Продвигать
* Нижний клапан клапана
* Улучшение стабильности горения
Полностью
Замедлить
* Нижний клапан клапана
* Улучшение стабильности горения
(2) Частичная нагрузка
Замедлить
* Увеличение работы расширения
* Снижение насосных потерь
* Снижение НС
Замедлить
* Снижение насосных потерь
(3) Низкая скорость
/Высокая нагрузка
Замедлить
* Увеличение работы расширения
Продвигать
* Предотвращение обратного потока на впуске (улучшение объемной эффективности)
(4) Высокая скорость
/Высокая нагрузка
Продвигать
* Снижение насосных потерь
Замедлить
* Улучшение объемной эффективности

Процедуры ремонта
Удаление
1.
Снимите крышку головки блока цилиндров.
(См. раздел Головка цилиндра в сборе — «Крышка головки цилиндра»)
2.
Снимите вакуумный насос.
(См. раздел Головка блока цилиндров в сборе — «Вакуумный насос»)
3.
Снимите цепь привода ГРМ.
(См. Система синхронизации - «Цепь синхронизации»)
4.
Снимите впускной CVVT в сборе (A) и выпускной CVVT в сборе (B).

При снятии узла CVVT удерживайте распределительный вал с помощью гаечного ключа, чтобы предотвратить вращение распределительного вала.
5.
Удалять крышка переднего подшипника распределительного вала (А), крышка среднего подшипника распределительного вала (В), и крышку заднего подшипника распределительного вала (C) в показанной последовательности.

6.
Снимите распределительные валы (А).

осмотр
распределительный вал
1.
Осмотрите кулачки кулачка.
С помощью микрометра измерьте высоту кулачка кулачка.
Высота кулачка
Впуск: 41,79824 мм (1,6456 дюйма)
Выхлоп: 41,57000 мм (1,6366 дюйма)

Если высота кулачка меньше стандартной, замените распределительный вал.
2.
Проверьте зазор шейки распределительного вала.
(1)
Очистите крышки подшипников и шейки распределительных валов.
(2)
Установите распределительные валы на головку блока цилиндров.
(3)
Положите полоску пластиджа на каждую шейку распределительного вала.

(4)
Установить крышка переднего подшипника распределительного вала (А), крышка среднего подшипника распределительного вала (В), и крышку заднего подшипника распределительного вала (C) следующим способом, затянув до заданный крутящий момент.
Момент затяжки :
Шаг 1
A : 9,8 Н·м (1,0 кгс·м, 7,2 фунт-фут)
B : 5,9 Н·м (0,6 кгс·м, 4,3 фунт·фут)
Шаг 2
A: 18,6–22,6 Н·м (1,9–2,3 кгс·м, 13,7–16,6 фунт-фут)
B: 11,8–13,7 Н·м (1,2–1,4 кгс·м, 8,7–10,1 фунт·фут)
C : 11,8–13,7 Н·м (1,2–1,4 кгс·м, 8,7–10,1 фунт·фут)

Не поворачивайте распределительный вал.
Когда крышки распредвала установлены, стрелки на верхней части крышек должны указывать наружу от двигателя.
(5)
Снимите крышки подшипников.
(6)
Измерьте пластидж в самом широком месте.
Масляный зазор подшипника распределительного вала
Потребление:
0,027–0,057 мм (0,0010–0,0022 дюйма)
Выхлоп:
0,027–0,057 мм (0,0010–0,0022 дюйма)

Если масляный зазор больше максимального, замените распределительный вал. При необходимости заменить головку блока цилиндров.
(7)
Полностью удалите пластидж.
(8)
Снимите распределительный вал.
3.
Осмотрите осевой люфт распределительного вала.
(1)
Установите распределительный вал (А).

(2)
Установить крышка переднего подшипника распределительного вала (А), крышка среднего подшипника распределительного вала (В), и крышку заднего подшипника распределительного вала (C) следующим способом, затянув до заданный крутящий момент.
Момент затяжки :
Шаг 1
A : 9,8 Н·м (1,0 кгс·м, 7,2 фунт-фут)
B : 5,9 Н·м (0,6 кгс·м, 4,3 фунт·фут)
Шаг 2
A: 18,6–22,6 Н·м (1,9–2,3 кгс·м, 13,7–16,6 фунт-фут)
B: 11,8–13,7 Н·м (1,2–1,4 кгс·м, 8,7–10,1 фунт·фут)
C : 11,8–13,7 Н·м (1,2–1,4 кгс·м, 8,7–10,1 фунт·фут)

Не поворачивайте распределительный вал.
Когда крышки распредвала установлены, стрелки на верхней части крышек должны указывать наружу от двигателя.
(3)
Используя циферблатный индикатор, измерьте осевой люфт при перемещении распределительного вала вперед и назад.
Осевой люфт распределительного вала:
Потребление:
0,1–0,2 мм (0,0039–0,0078 дюйма)
Выхлоп:
0,1–0,2 мм (0,0039–0,0078 дюйма)

Если осевой люфт больше максимального, замените распределительный вал. При необходимости заменить головку блока цилиндров.
(4)
Снимите распределительные валы.
CVVT (непрерывная регулировка фаз газораспределения) в сборе
1.
Осмотрите узел CVVT.
(1)
Зажмите распределительный вал с помощью тисков. Будьте осторожны, чтобы не повредить выступы кулачка и шейки в тисках.
(2)
Убедитесь, что CVVT заблокирован, повернув его по часовой стрелке или против часовой стрелки. Он не должен вращаться.
(3)
Впускной CVVT: Заклейте одно из двух отверстий опережения в шейке распределительного вала лентой.
Выпускной CVVT: Заклейте одно из двух отверстий замедления в шейке распределительного вала лентой.
[Прием]

[Выхлоп]

(4)
Впуск CVVT : Нанести прибл. 150 кПа (1,5 кгс/см², 21 фунт/кв. дюйм) сжатого воздуха в незагерметизированное отверстие подачи, чтобы снять блокировку.
Выхлоп CVVT : Приблиз. 150 кПа (1,5 кгс/см², 21 фунт/кв. дюйм) сжатого воздуха в незагерметизированное отверстие замедлителя, чтобы разблокировать замок.
При подаче сжатого воздуха накрывайте масляные каналы куском ткани, чтобы предотвратить разбрызгивание масла.
(5)
Потребление CVVT: При подаче сжатого воздуха поверните CVVT вперед. направлении (против часовой стрелки) в пределах своего фазового диапазона и убедитесь, что CVVT крутится плавно.
Выхлоп CVVT : Со сжатым воздухом применен, поверните CVVT в направлении замедления (по часовой стрелке) и проверьте что CVVT вращается плавно.

Диапазон фаз CVVT
Потребление:
25° (от самого позднего положения до самого переднего положения)
Выхлоп:
20° (от самого переднего положения до самого позднего положения)
(6)
Впускной CVVT: Поверните CVVT в крайнее заднее положение (по часовой стрелке), а затем убедитесь, что CVVT заблокирован.
Выпуск CVVT: Поверните CVVT в крайнее переднее положение (против часовой стрелки), а затем убедитесь, что CVVT заблокирован.
Монтаж
1.
Установите распределительные валы (А).

2.
Установить крышка переднего подшипника распределительного вала (А), крышка среднего подшипника распределительного вала (В), и крышку заднего подшипника распределительного вала (C) в показанной последовательности.
Момент затяжки :
Шаг 1
A : 9,8 Н·м (1,0 кгс·м, 7,2 фунт-фут)
B : 5,9 Н·м (0,6 кгс·м, 4,3 фунт·фут)
Шаг 2
A: 18,6–22,6 Н·м (1,9–2,3 кгс·м, 13,7–16,6 фунт-фут)
B: 11,8–13,7 Н·м (1,2–1,4 кгс·м, 8,7–10,1 фунт·фут)
C : 11,8–13,7 Н·м (1,2–1,4 кгс·м, 8,7–10,1 фунт·фут)

3.
Установите впускной CVVT в сборе (A) и выпускной CVVT в сборе (B).
Момент затяжки :
63,7–73,5 Н·м (6,5–7,5 кгс·м, 47,0–54,2 фунт-фут)

При установке узла CVVT удерживайте распределительный вал с помощью гаечного ключа, чтобы предотвратить вращение распределительного вала.
4.
Установите остальные детали в порядке, обратном снятию.
Вакуумный насос
Процедуры ремонта Снятие и установка 1. Отсоедините отрицательную клемму аккумулятора. 2.Отсоедините разъемы проводки и зажимы жгута проводов и снимите кронштейны разъемов вокруг вакуумного ...
Крышка цилиндра
Процедуры ремонта Удаление • Используйте накладки на крылья, чтобы не повредить окрашенные поверхности. • Чтобы не повредить...
Дополнительная информация:

Руководство по ремонту и обслуживанию Kia Picanto JA 2017-2023: передняя дверь


Компоненты и расположение компонентов Компоненты 1. Обшивка передней двери в сборе 2. Кронштейн крепления обшивки передней двери 3. Панель передней двери в сборе 4. Уплотнитель со стороны кузова передней двери 5. Уплотнитель со стороны передней двери 6. Внешний уплотнитель ремня передней двери 7. Внутренняя часть ремня передней двери ...

Kia Picanto JA 2017-2023 Руководство по эксплуатации: Капот


Открытие капота 1. Потяните рычаг разблокировки, чтобы разблокировать капюшон. Капот должен открыться немного. ПРЕДУПРЕЖДЕНИЕ Откройте капот после выключения двигатель на ровной поверхности, переключая рычаг переключения передач в положение P (Парковка) для автоматическую коробку передач и к 1-я (первая) передача или R (задний ход) ...