Kia Cee'd: Процедуры ремонта аудио/динамиков

осмотр
1.
Устранение неполадок для динамика
(1)
Базовый осмотр динамика
Проверьте звук из динамика, убедившись, что динамик крепежные винты удалены, и разъем проводки подключен для устранения возможных вибраций, передающихся от отделки кузова и окружающие части.

(2)
Устранение неполадок
Нет.
Случай
Проверка/устранение
1
Дрожащий звук
1)
Перед заменой динамика убедитесь, что крепежный винт установлен нормально.
2)
После повторной установки динамика убедитесь, что дрожащего звука не слышно.
3)
Когда снова услышите дрожащий звук, замените динамик с новым.
2
Шум
1)
Проверьте, нормально ли подсоединен разъем проводки. Если нет, подсоедините разъем проводки.
2)
В случае радиостатического разряда проверьте, нет ли шум от компакт-диска.
3)
Если при включенном радио и CD слышен шум, заменить динамик на новый.
Если есть только радиостатические помехи, это может быть причиной плохого радиоприема. Таким образом динамик не требует ремонта и замены.
3
Оратор
в рабочем состоянии
Проверка соединения проводки между аккумулятором и спикер
1)
Перед заменой динамика осмотрите проводку соединение между аккумулятором и динамиком нормально.
2)
Проверьте питание динамика и сопротивления, затем проверьте качество звука.
■ Указанное сопротивление: 4,0 ± 0,6 Ом

3)
Если динамик работает плохо, замените его на новый.

При обращении с динамиками:
Не повреждайте динамик ударами, например уронить или бросить его.
Будьте осторожны, чтобы не пролить воду и масло на динамики.
Будьте осторожны при обращении с динамиком, поскольку материал диафрагмы - бумага, которая легко разрывается от удара или внешней силы.
Модификация аудиосистемы может привести к повреждению к динамикам. Если это так, динамики не покрываются гарантией производителя.
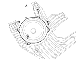
Удаление
Передний динамик
1.
Снимите обивку передней двери.
(См. Кузов — «Облицовка передней двери»)
2.
Снимите передний динамик (A), предварительно ослабив 4 заклепки.

Задний динамик
[5 дверь]
1.
Снимите обивку задней двери.
(См. Кузов — «Облицовка задней двери»)
2.
Снимите задний динамик (A), предварительно удалив 4 заклепки.

[3дверь]
1.
Снимите обивку центральной стойки.
(См. Кузов — «Отделка центральной стойки»)
2.
Снимите задний динамик в сборе (А) после ослабления крепежных болтов.

3.
Отсоедините разъем (А) от динамика.

4.
Снимите задний динамик (А) после ослабления крепежных винтов.

Отделите разъем динамика (A) от кронштейна динамика.

Твитер Динамик
1.
Снимите боковую решетку динамика (А) защитной панели.

2.
Снимите высокочастотный динамик (A), отвернув 2 винта.

Монтаж
Передний динамик
1.
Установите передний динамик.
2.
Установить обшивку передней двери.
Задний динамик
1.
Установите задний динамик.
2.
Установить обивку задней двери.
Твитер Динамик
1.
Подсоедините разъем.
2.
Установите высокочастотный динамик и решетку динамика.
Процедуры ремонта аудиоблока
Удаление • Будьте осторожны, чтобы не поцарапать центральную лицевую панель и связанные с ней части. ...
Компоненты антенны и расположение компонентов
Компоненты ...
Дополнительная информация:

Kia Cee'd JD Service Manual: Процедуры ремонта
Удаление 1. Снимите коробку передач в сборе. G 1,6 MPI (см. Система механической коробки передач — «Механическая коробка передач») G 1,4 MPI (см. Система механической коробки передач — «Механическая коробка передач») D 1.6 TCI-U2 (см. Руководство по трансмиссии ...

Руководство по обслуживанию Kia Cee'd JD: Модуль боковой подушки безопасности (SAB), описание и работа
Описание Боковые подушки безопасности (SAB) устанавливаются внутри переднего сиденья и защищают водитель и пассажир от опасности, когда происходит боковое столкновение. SRSCM определяет срабатывание боковой подушки безопасности с помощью сигнала датчика бокового удара (SIS). ...

avtotema.org