Kia Cee'd: Несъемное стекло Delta / Процедуры ремонта
|
•
|
Наденьте перчатки, чтобы защитить руки.
|
|
|
•
|
Используйте чехлы для сидений, чтобы не повредить поверхности.
|
|
|
1.
|
Снимите облицовку передней стойки.
(См. Отделка салона — «Отделка передней стойки»)
|
|
2.
|
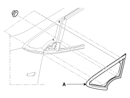
Ослабьте гайки крепления треугольного неподвижного стекла (A).
|
Момент затяжки :
3,9 ~ 4,4 Н·м (0,4 ~ 0,45 кгс·м, 2,9 ~ 3,3 фунт-фут)
|
|
|
3.
|
Вырежьте герметик с помощью инструмента для резки герметика [A(09861-31000)].
|
•
|
Не соскабливать до окрашенной поверхности кузова;
поврежденная краска будет мешать правильному склеиванию.
|
|
|
•
|
Снимите раббердам и крепления с кузова.
|
|
•
|
Закройте окружающие поверхности перед покраской.
|
|
|
4.
|
Снимите треугольное неподвижное стекло.
|
|
1.
|
С помощью шпателя соскребите старый клей до толщины
около 2 мм (0,08 дюйма) на склеиваемой поверхности вокруг всей дельты
фиксированный стеклянный фланец.
|
•
|
Не соскребайте до окрашенной поверхности кузова,
поврежденная краска будет мешать правильному склеиванию.
|
|
•
|
Закройте окружающие поверхности перед покраской.
|
|
•
|
Снимите крепления с кузова.
|
|
|
|
2.
|
Очистите поверхность склеивания корпуса губкой, смоченной в спирте. После
чистке, следите за тем, чтобы масло, жир и вода не попали на поверхность.
|
|
3.
|
Губкой нанесите тонкий слой грунтовки для стекла по краю
стекло треугольного окна, как показано на рисунке, затем слегка протрите его марлей
или марля:
|
•
|
Не наносите грунтовку для кузова на треугольное неподвижное стекло и
не перепутайте губки для грунтовки кузова и стекла.
|
|
•
|
Никогда не прикасайтесь руками к загрунтованным поверхностям. Если
вы делаете, клей может не приклеиться к фиксированной дельте
стекло правильно, вызывая утечку после фиксации дельты
стекло установлено.
|
|
•
|
Не допускайте попадания воды, пыли и абразивных материалов на
загрунтованная поверхность.
|
|
|
|
4.
|
С помощью губки нанесите тонкий слой грунтовки для кузова на исходный клей.
оставшиеся вокруг фланца. Дайте грунтовке для тела высохнуть не менее 10
минут.
|
•
|
Не наносите грунтовку для стекла на кузов и будьте осторожны
не перепутать губки для грунтовки стекла и кузова.
|
|
•
|
Никогда не прикасайтесь руками к загрунтованным поверхностям.
|
|
|
|
5.
|
Упакуйте клей в картридж без воздушных карманов, чтобы обеспечить непрерывную работу.
доставка. Поместите картридж в пистолет для герметика и нанесите каплю герметика.
вокруг края треугольного неподвижного стекла (A), как показано на рисунке. Нанесите клей
в течение 30 минут после нанесения грунтовки для стекла. Сделайте немного толще
бусинка на каждом углу.
|
|
6.
|
Установите треугольное неподвижное стекло.
|
|
7.
|
Дайте клею высохнуть в течение как минимум одного часа, затем распылите воду на
треугольное неподвижное стекло и проверьте на наличие утечек. Отметьте места утечки, дайте
Неподвижное стекло delta высушивают, затем заделывают герметиком. Дайте автомобилю постоять
не менее четырех часов после установки треугольного неподвижного стекла. Если
транспортное средство должно использоваться в течение первых четырех часов, оно должно управляться
медленно.
|
|
8.
|
Установите на место все оставшиеся снятые детали.
|
|
9.
|
Установить облицовку передней стойки.
|
Расположение компонента
1. Фиксированное стекло Delta
...
Дополнительная информация:
Руководство по обслуживанию Kia Cee'd JD: общая информация
Подъемные и опорные точки
Когда тяжелые задние компоненты, такие как подвеска, топливный бак, запасное колесо,
задняя дверь и крышка багажника должны быть сняты, поместите дополнительный груз в
багажное отделение перед подъемом. Когда ...
Руководство по эксплуатации Kia Cee'd JD: Предупреждающая табличка о подушке безопасности
■ Тип А
■ Тип Б
Предупреждающие этикетки о подушках безопасности прикреплены к
предупредить водителя и пассажиров о возможных
риск системы подушек безопасности.
Обратите внимание, что эти правительственные предупреждения
сосредоточиться на риске для детей. Мы также
хочу, чтобы вы знали о рисках, взрослых
подвергаются воздействию, которым подвергались
описывать ...