Kia Cee'd: Система передней подвески / Передняя стойка в сборе Процедуры ремонта

Замена
1.
Слегка ослабьте колесные гайки.
Поднимите автомобиль и убедитесь, что он надежно закреплен.
2.
Снимите переднее колесо и шину (А) с передней ступицы.
Момент затяжки:
88,2 ~ 107,8 Н·м (9,0 ~ 11,0 кгс·м, 65,0 ~ 79,5 фунт-фут)

Будьте осторожны, чтобы не повредить болты ступицы при снятии заднее колесо и шину (А).
3.
Снимите кронштейн датчика скорости вращения колеса (А) с передней стойки в сборе. ослабив крепежные болты (В).
Момент затяжки :
6,8 ~ 10,7 Н·м (0,7 ~ 1,1 кгс·м, 5,0 ~ 7,9 фунт-фут)

4.
Отсоедините стойку стабилизатора (В) от передней стойки в сборе (А). после ослабления гайки.
Момент затяжки:
98,1 ~ 117,7 Н·м (10,0 ~ 12,0 кгс·м, 72,3~86,8 фунт-фут)

5.
Снимите верхнюю крышку кожуха (А).
(См. Тормозная система — «Передний дисковый тормоз»)

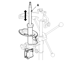
6.
Снимите переднюю стойку в сборе, а затем ослабьте гайки крепления стойки. (А).
Момент затяжки:
44,1 ~ 58,8 Н·м (4,5 ~ 6,0 кгс·м, 32,5~43,4 фунт-фут)

7.
Отсоедините узел передней стойки (А) от поворотного кулака, ослабив болт и гайка.
Момент затяжки:
137,3 ~ 156,9 Н·м (14,0 ~ 16,0 кгс·м, 101,3 ~ 115,7 фунт-фут)

8.
Установите в порядке, обратном снятию.
Разборка
1.
С помощью специального инструмента (09546-26000) сожмите винтовую пружину (А).
Момент затяжки:
58,8 ~ 73,5 Н·м (6,0 ~ 7,5 кгс·м, 43,4 ~ 54,2 фунт-фут)

2.
Снимите самоконтрящуюся гайку (С) со стойки в сборе (В).
3.
Снимите изолятор, седло пружины, цилиндрическую пружину и пылезащитный кожух с сборка стойки.
4.
Сборка обратна разборке.
осмотр
1.
Проверьте подшипник стойки на предмет износа и повреждений.
2.
Проверьте верхнее и нижнее седло пружины на наличие повреждений и износа.
3.
Сожмите и выдвиньте шток поршня (А) и убедитесь в отсутствии аномальных сопротивление или необычный звук во время работы.

Утилизация
1.
Полностью выдвиньте шток поршня.
2.
Просверлите отверстие в секции (А) для удаления газа из баллона.

Выходящий газ безвреден, но будьте осторожны со стружкой. что может случиться при бурении.
Компоненты передней стойки в сборе и расположение компонентов
Компоненты 1. Стойка в сборе 2. Изолятор 3. Подшипник стойки 4. Пружинная верхняя накладка 5. Спиральная пружина 6. Пылезащитная крышка 7. Пружинная нижняя накладка ...
Процедуры ремонта переднего нижнего рычага
Замена 1. Слегка ослабьте колесные гайки. Поднимите автомобиль и убедитесь, что он надежно закреплен. 2. Снимаем передний ж...
Дополнительная информация:

Руководство по обслуживанию Kia Cee'd JD: Компоненты и расположение компонентов
Компоненты (1) 1. Рулевая колонка 2. Выключатель освещения 3. Переключатель стеклоочистителя 4. Винт 5. Часовая пружина Компоненты (2) ...

Руководство по эксплуатации Ford Escape 2020-2023: Компоненты комплекта герметика для шин и накачки
Воздушный компрессор A или (внутри) Переключатель Кнопка включения и выключения Манометр давления воздуха Флакон и канистра с герметиком Рукав двойного назначения: воздушный и ремонтный Разъем вентиля шины Вилка для аксессуаров Корпус/корпус Адаптеры для велосипеда/плота/спортивного мяча ...

avtotema.org