Kia Cee'd: Процедуры ремонта переднего сиденья/чехла подушки переднего сиденья

Руководство по ремонту Kia Cee'd JD. / Кузов (внутри и снаружи) / Переднее сиденье / Процедуры ремонта чехла подушки переднего сиденья

Замена
Наденьте перчатки, чтобы защитить руки.
Используйте инструмент для снятия пластиковой панели, чтобы удалить элементы внутренней отделки. для защиты от повреждения поверхности.
Будьте осторожны, чтобы не погнуть и не поцарапать обивку и панели.
1.
Снимите внутреннюю крышку щитка переднего сиденья.
(См. Переднее сиденье — «Внутренняя крышка экрана переднего сиденья»)
2.
Снимите наружную крышку щитка переднего сиденья.
(См. Переднее сиденье — «Внешняя крышка щитка переднего сиденья»)
3.
Снимите нижнюю защиту переднего сиденья (А).

4.
Отсоедините разъемы обогревателя переднего сиденья (А).

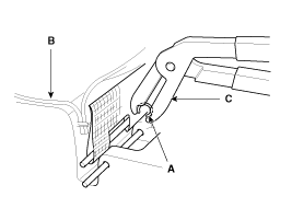
5.
Сдвиньте протектор (A), а затем чехол подушки переднего сиденья (C) с рамы переднего сиденья (B).

6.
Снимите чехол подушки переднего сиденья (А) с рамы переднего сиденья.

7.
После снятия кольцевых зажимов (А) на задней части подушки сиденья и снимите чехол подушки переднего сиденья (В).

8.
Установите в порядке, обратном снятию.
Во избежание складок убедитесь, что материал растянут. равномерно по крышке (B), прежде чем закрепить кольцо зажимы (А).
Замените хомуты на новые, используя специальные инструмент [C (09880-4F000)].

Чехол подушки переднего сиденья Компоненты и расположение компонентов
Расположение компонента 1. Чехол подушки переднего сиденья ...
Компоненты рамы переднего сиденья в сборе и их расположение
Расположение компонента 1. Каркас спинки переднего сиденья в сборе 2. Каркас подушки переднего сиденья в сборе ...
Дополнительная информация:

Руководство по обслуживанию Kia Cee'd JD: Процедуры ремонта переключателя системы помощи при парковке сзади
Удаление 1. Отсоедините отрицательную (-) клемму аккумуляторной батареи. 2. Полностью снимите верхний лоток консоли. (См. Кузов — «Узел напольной консоли») 3. Отсоедините разъем (А). ...

Руководство по обслуживанию Kia Cee'd JD: Описание и работа катушки зажигания
Описание Катушка зажигания представляет собой индукционную катушку в системе зажигания двигателя, которая преобразует низкого напряжения батареи до высокого напряжения, необходимого для создания электрической искры в свечи зажигания для воспламенения топлива. Катушки имеют внутренний резистор, а другие полагаются...

avtotema.org