Kia Cee'd: Сборка карданного вала / Процедуры ремонта динамического демпфера

Замена
1.
Снимите передний приводной вал.
(См. узел приводного вала — «Передний приводной вал»)
2.
Снимите TJ-соединение в сборе.
(См. приводной вал в сборе — «TJ шарнир»)
3.
Снимите обе стороны ленты (B) динамического демпфера (A).

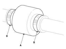
4.
Закрепите приводной вал (А) тисками (В), как показано на рисунке.

5.
Нанесите мыльный порошок на вал, чтобы предотвратить повреждение между шлица вала и динамического демпфера при снятом динамическом демпфере.
6.
Осторожно отделите динамический демпфер (A) от вала (B).

Монтаж
1.
Нанесите мыльный порошок на вал, чтобы предотвратить повреждение между шлицевой вал и динамический демпфер.
2.
Установите динамический демпфер.
3.
Установите ленту динамического демпфера (A).
4.
С помощью SST (09495-3K000) закрепите хомуты чехлов TJ (B).
Зазор (A): 2,0 мм (0,079 дюйма) или менее

5.
Установите TJ-соединение в сборе.
(См. приводной вал в сборе — «TJ соединение»)
6.
Установите передний карданный вал.
(См. узел приводного вала — «Передний приводной вал»)
Компоненты динамического демпфера и расположение компонентов
Компоненты 1. Минет сборка 2. Стопорное кольцо BJ 3. Ремешок для обуви BJ 4. Сапоги для минета 5. Динамический демпферная лента 6. Динамический демпфер 7. Вал 8. ТиДжей бу...
Компоненты BJ Boot и расположение компонентов
Компоненты 1. Минет сборка 2. Стопорное кольцо BJ 3. Ремешок для обуви BJ 4. Сапоги для минета 5. Динамический демпферная лента 6. Динамический демпфер 7. Вал 8. ТиДжей бу...
Дополнительная информация:

Руководство по эксплуатации Ford Escape 2020-2023: Доступ к бортовому компьютеру. Сброс путевого компьютера
Доступ к путевому компьютеру Транспортные средства с: 4,2-дюймовым экраном дисплея комбинации приборов Используйте элементы управления дисплеем комбинации приборов для навигации по главному экрану. Выберите экран поездки. Нажмите кнопку меню на рулевом колесо. Выберите Поездка 1 или Поездка 2. Автомобили с: 6,5-дюймовым приборным клю...

Руководство по эксплуатации Kia Cee'd JD: работа ESC отключена
Состояние ESC ВЫКЛ. Этот автомобиль имеет 2 вида отключения ESC состояния. Если двигатель останавливается, когда система ESC выключен, ESC остается выключенным. На перезапуск двигателя, ESC автоматически снова включится. • Состояние ESC выключено 1 Чтобы отменить операцию ESC, нажмите кнопку ESC. Кнопка OFF кратковременно (индикатор ESC OFF свет ...

avtotema.org