Kia Cee'd: Система контроля выбросов выхлопных газов / CVVT (бесступенчатая регулировка фаз газораспределения) Описание и работа системы

Руководство по ремонту Kia Cee'd JD. / Система контроля выбросов / Система контроля выбросов выхлопных газов / CVVT (бесступенчатая регулировка фаз газораспределения) Описание и работа системы

Описание
Система непрерывного изменения фаз газораспределения (CVVT) опережает или задерживает клапан. синхронизация впускного и выпускного клапана в соответствии с управляющим сигналом ECM который рассчитывается по частоте вращения двигателя и нагрузке.
При управлении CVVT происходит перекрытие или недопуск клапана, что улучшает экономия топлива и снижение выхлопных газов (NOx, HC) и улучшение характеристик двигателя за счет снижения насосных потерь, внутреннего эффекта рециркуляции отработавших газов, улучшения сгорания стабильность, улучшение объемного КПД и увеличение работы расширения.
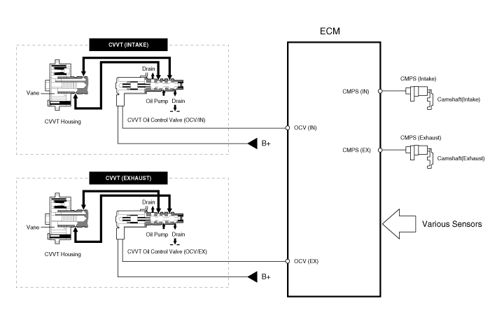
Эта система состоит из
Клапан управления маслом CVVT (OCV), который подает моторное масло в кулачковый фазовращатель или вытекает моторное масло из кулачкового фазовращателя в соответствии с управляющим сигналом ECM PWM (Pulse With Modulation),
датчик температуры масла CVVT (OTS), который измеряет моторное масло температура,
и Cam Phaser, который изменяет фазу кулачка с помощью гидравлического сила моторного масла.
Моторное масло, вытекающее из клапана управления маслом CVVT, изменяет фазу кулачка. в направлении (опережение впуска/замедление выпуска) или в противоположном направлении (впуск Retard/Exhaust Advance) вращения двигателя за счет вращения ротора, подключенного с распределительным валом внутри кулачкового фазовращателя.

Принцип работы
CVVT имеет механизм, вращающий лопасть ротора с создаваемой гидравлической силой. моторным маслом, подаваемым в камеру опережения или замедления в соответствии с управление масляным клапаном CVVT.

[Системный режим CVVT]

(1) Низкая скорость/низкая нагрузка
(2) Частичная нагрузка


(3) Низкая скорость/высокая нагрузка
(4) Высокая скорость/высокая нагрузка



Вождение
Состояние
Выхлопной клапан
Впускной клапан
Клапан
Сроки
Эффект
Клапан
Сроки
Эффект
(1) Низкая скорость
/Низкая нагрузка
Полностью
Продвигать
* Нижний клапан клапана
* Улучшение стабильности горения
Полностью
Замедлить
* Нижний клапан клапана
* Улучшение стабильности горения
(2) Частичная нагрузка
Замедлить
* Увеличение работы расширения
* Снижение насосных потерь
* Снижение НС
Замедлить
* Снижение насосных потерь
(3) Низкая скорость
/Высокая нагрузка
Замедлить
* Увеличение работы расширения
Продвигать
* Предотвращение обратного потока на впуске (улучшение объемной эффективности)
(4) Высокая скорость
/Высокая нагрузка
Продвигать
* Снижение насосных потерь
Замедлить
* Улучшение объемной эффективности

Каталитический нейтрализатор Описание и работа
Описание Каталитический нейтрализатор бензинового двигателя представляет собой трехкомпонентный катализатор. Он окисляется окись углерода и углеводороды (HC), и отделяет кислород от оксидов нит ...
Топливная система
...
Дополнительная информация:

Руководство по эксплуатации Ford Escape 2020-2023: Распознавание знаков скорости – устранение неполадок
Распознавание знаков скорости – информационные сообщения Распознавание знаков скорости – часто задаваемые вопросы Почему меняется ограничение скорости без каких-либо знаков на дороге? Ограничение скорости меняется в связи с данные об ограничении скорости сохраняются на карте данные. Почему показывает распознавание знаков скорости неправильное ограничение скорости...

Руководство по обслуживанию Kia Cee'd JD: Процедуры ремонта микрофона Hands Free
осмотр 1. Отсоедините отрицательную (-) клемму аккумуляторной батареи. 2. Снимите обивку крыши в сборе. (См. Кузов — «Обшивка крыши в сборе») 3. Снимите микрофон громкой связи (A) после отключения ...

avtotema.org