Kia Cee'd: Процедуры ремонта головки блока цилиндров / CVVT и распределительного вала
|
1.
|
Снимите крышку головки блока цилиндров.
(См. раздел Головка цилиндра в сборе — «Крышка головки цилиндра»)
|
|
2.
|
Поверните шкив демпфера коленчатого вала так, чтобы поршень № 1 находился в верхней мертвой точке.
центр.
|
(1)
|
Поверните шкив демпфера коленчатого вала и совместите его канавку с
метка на крышке цепи привода ГРМ (метка 0° на
шкала).
|
|
(2)
|
Убедитесь, что установочные метки ВМТ на впускном и выпускном CVVT
звездочки расположены по прямой линии на поверхности головки блока цилиндров
как показано на рисунке. Если нет, поверните демпфер коленчатого вала
шкива на один оборот (360°).
|
Не поворачивайте демпферный шкив коленчатого вала против часовой стрелки.
|
|
|
(3)
|
Пометьте звенья цепи ГРМ в соответствии с метками ГРМ.
на звездочках CVVT несмываемым маркером.
|
|
|
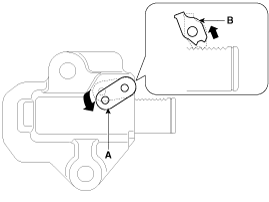
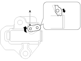
3.
|
Снимите переходник (А) клапана управления выпускным маслом (OCV).
|
|
4.
|
Снимите крышки подшипников распределительных валов (А) в порядке, показанном на рисунке.
|
|
5.
|
Снимите опорный кронштейн крепления двигателя.
|
(1)
|
Ставим домкрат под масляный поддон.
|
Поместите деревянный брусок между домкратом и масляным поддоном.
во избежание повреждения масляного поддона.
|
|
|
(2)
|
Отсоедините кабель массы (А) и снимите опору двигателя.
опорный кронштейн (В).
|
|
(3)
|
Слегка приподнимите двигатель с помощью домкрата, чтобы освободить место для
отпуская натяжитель цепи ГРМ.
|
|
|
6.
|
Выверните болт (А) из сервисного отверстия в крышке цепи привода ГРМ.
|
|
7.
|
Заблокируйте натяжитель цепи ГРМ в полностью втянутом положении.
|
(1)
|
Вставьте отмычку в сервисное отверстие в крышке цепи привода ГРМ.
и опустите отверстие в левой части храповой пластины (A)
на натяжителе, чтобы собачка (B: расположена внутри натяжителя
за пластиной храповика) для подъема.
|
|
(2)
|
Когда собачка поднята, попросите помощника поднять выпускной CVVT.
и распределительный вал (A), чтобы позволить плунжеру натяжителя (B) втянуться.
|
|
(3)
|
Когда поршень натяжителя находится в полностью втянутом положении,
снова поднимите отверстие в левой части храповой пластины (A)
через сервисное отверстие в крышке цепи для выравнивания храповика
отверстие пластины с отверстием в корпусе натяжителя за храповиком
пластину, затем заблокируйте натяжитель, вставив отмычку через
пластину храповика и отверстия корпуса натяжителя.
|
|
|
8.
|
Отделите выпускной распределительный вал (А) от выпускного CVVT, сняв
болт.
|
|
9.
|
Снимите выпускной CVVT (A) с цепи привода ГРМ.
|
|
10.
|
Снимите впускной CVVT и распределительный вал (A).
|
Закрепите цепь ГРМ на подвеске двигателя с помощью кабельной стяжки.
или ремешок, чтобы цепь ГРМ не спадала при снятии
впускной CVVT и распределительный вал.
|
|
|
11.
|
Снимите впускной CVVT (A) с впускного распределительного вала (B).
|
При снятии болта CVVT удерживайте шестигранную часть (B)
на распределительный вал с помощью ключа, чтобы предотвратить вращение распределительного вала.
|
|
распределительный вал
|
1.
|
Измерьте высоту выступа кулачка с помощью микрометра и проверьте
поверхность выступа кулачка на предмет износа. При необходимости замените
распределительный вал.
|
Высота кулачка
Впуск: 44,15 мм (1,738 дюйма)
Выхлоп: 43,55 мм (1,715 дюйма)
|
|
|
2.
|
Проверьте поверхность шейки распределительного вала на предмет износа. Если
шейка распределительного вала сильно повреждена, замените распределительный вал.
|
|
3.
|
Проверьте зазор шейки распределительного вала.
|
(1)
|
Очистите шейки распределительных валов и крышки подшипников.
|
|
(2)
|
Поместите распределительные валы в головку блока цилиндров.
|
|
(3)
|
Наложите полоску пластигажа на каждую шейку распределительного вала.
|
|
(4)
|
Установите крышки подшипников и затяните болты до указанного
крутящий момент.
|
Момент затяжки
1-й шаг
Болт M6: 5,9 Н·м (0,6 кгс·м, 4,3 фунт-фут)
Болт M8: 9,8 Н·м (1,0 кгс·м, 7,2 фунт-фут)
2-й шаг
Болты М6:
11,8 ~ 13,7 Н·м (1,2 ~ 1,4 кгс·м, 8,7 ~ 10,1 фунт-фут)
Болты М8:
18,6 ~ 22,6 Н·м (1,9 ~ 2,3 кгс·м, 13,7 ~ 16,6 фунт-фут)
|
|
Не поворачивайте распределительный вал.
|
|
|
(5)
|
Снимите крышки подшипников.
|
|
(6)
|
Измерьте пластигаж в самом широком месте. Если зазор
больше, чем указано в спецификации, замените распределительный вал. Если
При необходимости замените крышки подшипников и головку блока цилиндров.
множество.
|
Масляный зазор крышки подшипника распределительного вала
Стандарт:
0,027 ~ 0,058 мм (0,0011 ~ 0,0023 дюйма)
Предел: 0,1 мм (0,0039 дюйма)
|
|
|
|
4.
|
Осмотрите осевой люфт распределительного вала.
|
(1)
|
Осмотрите осевой люфт распределительного вала.
|
|
(2)
|
Измерьте осевой люфт при перемещении распределительного вала вперед и назад.
с помощью стрелочного индикатора. Если осевой люфт больше указанного в спецификации,
замените распределительный вал. При необходимости заменить крышки подшипников
и ГБЦ в комплекте.
|
Осевой люфт распределительного вала
Стандарт: 0,1 ~ 0,2 мм (0,0039 ~ 0,0079 дюйма)
|
|
|
(3)
|
Снимите распределительные валы.
|
|
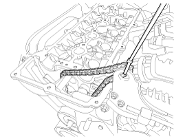
CVVT (с бесступенчатой регулировкой фаз газораспределения) в сборе
|
1.
|
Осмотрите CVVT на плавность вращения.
|
(1)
|
Зажмите распределительный вал с помощью тисков. Будьте осторожны, чтобы не повредить
кулачки и шейки в тисках.
|
|
(2)
|
Убедитесь, что CVVT заблокирован, повернув его по часовой стрелке или против часовой стрелки.
Он не должен вращаться.
|
|
(3)
|
Впускной CVVT: Закройте одно из двух отверстий опережения в распределительном валу.
журнал с лентой.
CVVT выпускных клапанов: Закройте одно из двух отверстий в распределительном валу.
журнал с лентой.
|
|
(4)
|
Впуск CVVT : Нанести прибл. 150 кПа (1,5 кгс/см², 21 фунт/кв. дюйм)
сжатый воздух в незагерметизированное предварительное отверстие, чтобы освободить
замок.
Выхлоп CVVT : Приблиз. 150 кПа (1,5 кгс/см², 21 фунт/кв. дюйм)
сжатого воздуха в незагерметизированное отверстие замедления, чтобы освободить
замок.
|
При нанесении накройте масляные каналы тканью.
сжатым воздухом для предотвращения разбрызгивания масла.
|
|
|
(5)
|
Впускной CVVT: При подаче сжатого воздуха поверните CVVT в
направление продвижения (против часовой стрелки) в пределах его фазы
диапазоне и убедитесь, что CVVT вращается плавно.
Выпускной CVVT: При подаче сжатого воздуха поверните CVVT.
в направлении замедления (по часовой стрелке) и убедитесь, что CVVT
плавно поворачивается.
|
Диапазон фаз CVVT
Впуск: 25°±1° (от крайнего замедленного положения до
самая передовая позиция)
Выхлоп: 20°±1° (от крайнего положения до
самая отсталая позиция)
|
|
|
(6)
|
Впускной CVVT: поверните CVVT в крайнее замедленное положение.
(по часовой стрелке), а затем убедитесь, что CVVT заблокирован.
CVVT выхлопа: поверните CVVT в крайнее переднее положение.
(против часовой стрелки), а затем убедитесь, что CVVT заблокирован.
|
|
|
1.
|
Установите впускной CVVT (A) на впускной распределительный вал.
|
Момент затяжки :
63,7 ~ 73,5 Н·м (6,5 ~ 7,5 кгс·м, 47,0 ~ 54,2 фунт-фут)
|
|
При установке болта CVVT удерживайте шестигранную часть (B)
на распределительный вал с помощью ключа, чтобы предотвратить вращение распределительного вала.
|
|
|
2.
|
Установите впускной CVVT и распределительный вал (A), с установочной меткой на
впускная звездочка CVVT совмещена с меткой (нарисовано звеном) на ГРМ
цепь.
|
|
3.
|
Установите выпускной CVVT (A), с установочной меткой на выпускном CVVT.
звездочка совмещена с меткой (окрашенным звеном) на цепи привода ГРМ.
|
|
4.
|
Установите распределительный вал выпускных клапанов (А) на выпускной CVVT.
|
Момент затяжки :
63,7 ~ 73,5 Н·м (6,5 ~ 7,5 кгс·м, 47,0 ~ 54,2 фунт-фут)
|
|
|
5.
|
Выньте отмычку из сервисного отверстия в крышке цепи привода ГРМ.
|
|
6.
|
Убедитесь, что каждая установочная метка на впускной и выпускной звездочках CVVT
выравнивается, как показано на картинке.
|
|
7.
|
Установите болт (А) в сервисное отверстие в крышке цепи привода ГРМ.
|
Момент затяжки :
27,5 ~ 30,4 Н·м (2,8 ~ 3,1 кгс·м, 20,3 ~ 22,4 фунт-фут)
|
|
|
8.
|
Установите опорный кронштейн крепления двигателя.
|
(1)
|
Подсоедините кабель заземления (A) и установите опорный кронштейн подвески двигателя (B).
|
Момент затяжки
Болт троса заземления: 10,8 ~ 13,7 Н·м (1,1 ~ 1,4 кгс·м,
8,0 ~ 10,1 фунт-фут)
Болт (C): 88,3 ~ 107,9 Н·м (9,0 ~ 11,0 кгс·м, 65,1
~ 79,6 фунт-фут)
Болт (D) и гайки (E): 58,8 ~ 73,5 Н·м (6,0 ~ 7,5 кгс·м,
43,3 ~ 54,2 фунт-фут)
|
|
|
(2)
|
Снимите домкрат с масляного поддона.
|
|
|
9.
|
Установите крышки подшипников распределительных валов (А) в порядке, показанном на рисунке.
и затяните болты с указанным моментом.
|
Момент затяжки
1-й шаг
Болт M6: 5,9 Н·м (0,6 кгс·м, 4,3 фунт-фут)
Болт M8: 9,8 Н·м (1,0 кгс·м, 7,2 фунт-фут)
2-й шаг
Болты М6:
11,8 ~ 13,7 Н·м (1,2 ~ 1,4 кгс·м, 8,7 ~ 10,1 фунт-фут)
Болты М8:
18,6 ~ 22,6 Н·м (1,9 ~ 2,3 кгс·м, 13,7 ~ 16,6 фунт-фут)
|
|
|
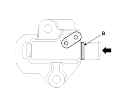
10.
|
Установите переходник (A) клапана управления выпускным маслом (OCV).
|
Момент затяжки :
9,8 ~ 11,8 Н·м (1,0 ~ 1,2 кгс·м, 7,2 ~ 8,7 фунт-фут)
|
|
Убедитесь, что уплотнительное кольцо крышки переднего подшипника распределительного вала установлено правильно.
установлен на место при установке адаптера OCV.
|
|
|
11.
|
Установите крышку головки блока цилиндров.
(См. раздел Головка цилиндра в сборе — «Крышка головки цилиндра»)
|
Описание
Система непрерывного изменения фаз газораспределения (CVVT) опережает или задерживает клапан.
синхронизация впускного и выпускного клапана в соответствии с управляющим сигналом ECM
который ...
Компоненты
1. Распредвал выпускных клапанов
2. Впускной распредвал
3. Крышка подшипника распредвала
4. Крышка переднего подшипника распределительного вала.
5. Переходник OCV (масляный регулирующий клапан)
...
Дополнительная информация:
Руководство по эксплуатации Kia Cee'd JD: Применение скобы на направляющей
Поместите скобу (A) в положение
где скоба вставлена в рельс.
Чтобы переместить скобу, нажмите кнопку
(1) и переместите скобу вдоль рельса.
Убедитесь, что дужка защелкнулась
место.
Чтобы зафиксировать багаж, потяните вверх крючок (2)
в среднем грузовом отсеке.
Теперь вы можете ...
Руководство по эксплуатации Kia Cee'd JD: Крышка багажника
(3 двери и 5 дверей)
Используйте крышку, чтобы скрыть предметы, хранящиеся в
грузовая зона.
Крышка грузового отсека будет поднята, когда
дверь багажника открыта. Отключите
ремешок (1) от держателя, если вы хотите вернуть
крышку в исходное положение. Удалять
полностью закройте грузовой отсек, поднимите
крышка на 43 градуса и ...