Kia Cee'd: АБС (антиблокировочная тормозная система) / Процедуры ремонта блока управления АБС

Удаление [левосторонний]
1.
Выключите зажигание.
2.
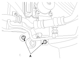
Потяните вверх замок разъема HECU (A), а затем отсоедините разъем.

3.
Удалите тормозную жидкость из бачка главного цилиндра с помощью шприца.
Обязательно полностью удалите посторонние вещества из вокруг бачка с тормозной жидкостью и крышки перед открытием крышка резервуара. В противном случае это может привести к загрязнению тормозной жидкости и снижение эффективности торможения.
Не проливайте тормозную жидкость на автомобиль, это может повредить краска; если тормозная жидкость попала на краску, промойте его немедленно с водой.
4.
Отсоедините тормозные трубки от HECU, отвернув гайки против часовой стрелки. с помощью гаечного ключа.
Момент затяжки:
12,7 ~ 16,7 Н·м (1,3 ~ 1,7 кгс·м, 9,4 ~ 12,3 фунт-фут)

5.
Ослабьте гайки кронштейна HECU (A), затем снимите HECU и кронштейн.
Момент затяжки :
16,7 ~ 25,5 Н·м (1,7 ~ 2,6 кгс·м, 12,3 ~ 18,8 фунт-фут)

1)
Никогда не пытайтесь разбирать HECU.
2)
Никогда не подвергайте HECU ударам.
6.
Выверните 3 болта и снимите кронштейн с HECU.
Момент затяжки :
7,8 ~ 9,8 Н·м (0,8 ~ 1,0 кгс·м, 5,8 ~ 7,2 фунт-фут)
Удаление [RHD]
1.
Выключите зажигание и отсоедините отрицательный (-) кабель аккумуляторной батареи.
2.
Извлеките аккумулятор.
(См. Электрическая система двигателя — «Аккумуляторная батарея»)
3.
Снимите ЕСМ.
(См. Блок управления двигателем/топливная система — «Модуль управления двигателем»)
4.
Потяните вверх замок разъема HECU (A), а затем отсоедините разъем.

5.
Удалите тормозную жидкость из бачка главного цилиндра с помощью шприца.
Обязательно полностью удалите посторонние вещества из вокруг бачка с тормозной жидкостью и крышки перед открытием крышка резервуара. В противном случае это может привести к загрязнению тормозной жидкости и снижение эффективности торможения.
Не проливайте тормозную жидкость на автомобиль, это может повредить краска; если тормозная жидкость попала на краску, промойте его немедленно с водой.
6.
Отсоедините тормозные трубки от HECU, отвернув гайки против часовой стрелки. с помощью гаечного ключа.
Момент затяжки :
12,7 ~ 16,7 Н·м (1,3 ~ 1,7 кгс·м, 9,4 ~ 12,3 фунт-фут)

7.
Ослабьте гайки кронштейна HECU (A), затем снимите HECU и кронштейн.
Момент затяжки :
16,7 ~ 25,5 Н·м (1,7 ~ 2,6 кгс·м, 12,3 ~ 18,8 фунт-фут)

1)
Никогда не пытайтесь разбирать HECU.
2)
Никогда не подвергайте HECU ударам.
8.
Выверните 3 болта и снимите кронштейн с HECU.
Момент затяжки :
7,8 ~ 9,8 Н·м (0,8 ~ 1,0 кгс·м, 5,8 ~ 7,2 фунт-фут)
Монтаж
1.
Установите в порядке, обратном снятию.
2.
Затяните крепежные болты и гайки HECU с указанным моментом.
3.
После установки прокачайте тормозную систему.
(См. прокачку АБС)
4.
При замене HECU всегда выполняйте вариантное кодирование.
Вариантное кодирование
1.
Подключите GDS к разъему канала передачи данных.
2.
Включите зажигание.
3.
Выберите название автомобиля и систему.
4.
Выберите вариант кодирования.
5.
Выполните вариантное кодирование в соответствии с инструкциями на экране.

6.
Зажигание «ВЫКЛ», а затем зажигание «ВКЛ».
7.
Вариантное кодирование завершено.
Модуль управления ABS Компоненты и расположение компонентов
Компоненты 1. Передняя левая труба 2. Задняя - правая трубка 3. Задняя - левая трубка 4. Передняя правая труба 5. МС2 6. МС1 7. Блок управления АБС (HECU) ...
Датчик скорости переднего колеса Компоненты и расположение компонентов
Компоненты 1. Датчик скорости переднего колеса 2. Разъем датчика скорости переднего колеса ...
Дополнительная информация:

Руководство по эксплуатации Ford Escape 2020-2023: Ограничения дистанционного управления
ВНИМАНИЕ: Изменения или модификации, явно не одобренные стороной, ответственной за соблюдение может аннулировать право пользователя на работу оборудование. Термин «IC:» перед Сертификационный номер радиостанции означает только что технические специалисты Министерства промышленности Канады спецификации были соблюдены. Это устройство ...

Руководство по эксплуатации Ford Escape 2020-2023: открывание и закрывание солнцезащитной шторки
ВНИМАНИЕ: Не оставляйте детей без присмотра в автомобиле и не пусть играют с солнечными тенями. Несоблюдение этой инструкции может привести к травме. Органы управления находятся на верхней консоли. Открытие солнцезащитного козырька Нажмите и отпустите переключатель, чтобы активировать управление в одно касание...

avtotema.org