Kia Stonic: Vordersitz / Vordersitzpolsterbezug

Ремонт Kia Stonic (YB) / Karosserie (Innen und Außen) / Фордерзиц / Vordersitzpolsterbezug

Bauteile und bauteile-Übersicht
BAUTEILE-ÜBERSICHT

1. Vordersitzpolsterbezug


Репаратурверфарен
AUS- И EINBAU

Handschuhe anziehen, um die Hände zu schützen.

Mit einem Ausbauwerkzeug für Kunststoffverkleidungen einige Teile der Innenverkleidung entfernen, ohne dabei die Oberfläche zu zerkratzen.

Darauf achten, die Verkleidung und die Bleche nicht zu verbiegen Одер цу zerkratzen.

1.

Фордерзиц аусбауен.

(Siehe Vordersitz - "Vordersitzeinheit")

2.

Schraube lösen und Lehnenverstellhebel (A) entfernen.

3.

Höhenverstellhebelkappe (A) entfernen.

4.

Höhenverstellhebel (A) entfernen.

5.

Befestigungsschrauben lösen, dann äußeren Vordersitzbezug (A) entfernen.

6.

Inneren Vordersitzbezug (A) mit einem Ausbauwerkzeug entfernen.

7.

Unteren Vordersitzlehnenschutz (A) abbauen.

8.

Heizungsstecker (A) abklemmen.

9.

Die Schutzelemente (A) herausziehen und den Vordersitzpolsterbezug vom Vordersitz-Polsterrahmen abnehmen.

[Унтен]

(ССЫЛКИ)

(РЕХТС)

10.

Vordersitzpolsterbezug (A) vom Vordersitz-Polsterrahmen entfernen.

11.

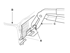
Klettband (A) и Ringclips (B) entfernen, dann Vordersitzpolsterbezug (C) von der Vorderseite des Sitzpolsterrahmens entfernen.

12.

Der Einbau erfolgt in der umgekehrten Reihenfolge des Ausbaus.

Sicherstellen, dass die Steckverbinder ganz angeschlossen грех

Alle beschädigten Clips (или Stifthalter) ersetzen.

Zur Vermeidung von Falten sicherstellen, dass der Stoff (B) gleichmäßig gespannt wird, bevor die Ringclips (A) befestigt Верден.

Ringclips mit Spezialwerkzeug (C) (09880-4F000) durch новый эрсетцен.

Vordersitzlehnenbezug
Bauteile und bauteile-Übersicht BAUTEILE-ÜBERSICHT 1. Vordersitzlehnenbezug Репаратурверфарен AUS- И EINBAU ...
Фордерзицрамен
Bauteile und bauteile-Übersicht BAUTEILE-ÜBERSICHT 1. Vordersitzlehnenrahmen 2. Vordersitzpolsterrahmen Репаратурверфарен AUS- И EINBAU ...
Дополнительная информация:

Kia Stonic (YB) Betriebsanleitung: Einstellung und Aktivierung des Системы


Системные установки Das Fahreraufmerksamkeits-Warnsystem ist auf OFF (aus) gestellt, wenn Ihr Fahrzeug ab Werk ausgeliefert вирд. Ум дас Fahreraufmerksamkeits- Warnsystem einzuschalten (ON), starten Sie den Motor und wählen Sie dann «Настройки пользователя» (Benutzereinstellungen ...