Kia Stonic: Baugruppe Antriebswelle / Schwingungsdämpfer

Ремонт Kia Stonic (YB) / Антрибвеллен и Ахсен / Baugruppe Antriebswelle / Schwingungsdämpfer

Bauteile und bauteile-Übersicht
BAUTEILE-ÜBERSICHT
(РЕХТС)

1. Кугельгеленк
2. Клип
3. Фальтенбалгшелле (Кугельгеленк)
4. БЖ-Фальтенбальг
5. Schwingungsdämpferschelle
6. Швингунгсдампфер
7. Велле
8. TJ-Faltenbalgschelle
9. TJ-Фальтенбальг
10. Триподегеленк
11. Спрингринг
12. TJ-Gehäuse
13. Спрингринг

(ССЫЛКИ)

1. Кугельгеленк
2. Б.Дж.-Спренгринг
3. Фальтенбалгшелле (Кугельгеленк)
4. БЖ-Фальтенбальг
5. Велле
6. TJ-Faltenbalgschelle
7. TJ-Фальтенбальг
8. Запфенкройц
9. Спрингринг
10. TJ-Gehäuse
11. Спрингринг

Репаратурверфарен
AUS- И EINBAU
1.

Vordere Antriebswelle entfernen.

(Siehe Antriebswelle und Antriebsachse - "Vordere Antriebswelle")

2.

TJ-Gelenk ausbauen.

(Siehe Antriebswelle und Antriebsachse - "TJ-Gelenk")

3.

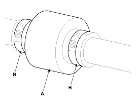
Beide Seiten der Schelle (B) des Schwingungsdämpfers (A) abbauen.

4.

Antriebswelle (A) в einen Schraubstock (B) spannen.

5.

Welle mit Seifenlösung befeuchten, um Beschädigungen beim Abziehen des Schwingungsdämpfers von der Welle zu vermeiden.

6.

Schwingungsdämpfer (A) vorsichtig von der Antriebswelle (B) abziehen.

Эйнбау
1.

Seifenpulver auf die Well auftragen, damit sie zwischen der Wellennut und dem dynamischen Dämpfer nicht beschädigt wird.

2.

Schwingungsdämpfer einbauen.

3.

Die Schelle des Schwingungsdämpfers (A) einbauen.

4.

Faltenbalgschellen (B) mit Spezialwerkzeug (09495-3K000) sichern.

Шпиль (A): до 2,0 мм

5.

TJ-Геленк Эйнбауэн.

(Siehe Antriebswelle - "TJ-Gelenk")

6.

Vordere Antriebswelle einbauen.

(Siehe Antriebswelle - "Вордер Антрибвелле")

7.

Vordere Ausrichtung überprüfen.

(Siehe Radaufhängung - "Радейнстеллунг")

TJ-Геленк
Bauteile und bauteile-Übersicht BAUTEILE-ÜBERSICHT (РЕХТС) 1. Кугельгеленк 2. Клип 3. Фальтенбалгшелле (Кугельгеленк) 4. БЖ-Фальтенбальг 5. ...
Кугельгеленк-Фальтенбалг
Bauteile und bauteile-Übersicht BAUTEILE-ÜBERSICHT (РЕХТС) 1. Кугельгеленк 2. Клип 3. Фальтенбалгшелле (Кугельгеленк) 4. БЖ-Фальтенбальг 5. ...
Дополнительная информация:

Kia Stonic (YB) Betriebsanleitung: Heckklappen-Notentriegelung


Ihr Fahrzeug ist mit einem Hebel für die Notentriegelung der Heckklappe ausgerüstet. Der Hebel befindet sich unten дер Хекклаппе. Wenn eine Person versehentlich im Laderaum eingeschlossen вурде, kann die Heckklappe wie folgt entrigelt Верден: 1. Führen Sie den mechanischen ...