Kia Stonic: Рюкситц

Ремонт Kia Stonic (YB) / Рюкситц

Bauteile und bauteile-Übersicht
BAUTEILE-ÜBERSICHT

1. Sitzpolsterunterlage Rücksitz
2. Rücksitzpolsterbezug
3. Rücksitzlehnenbezug
4. Rücksitzlehnenunterlage
5. Рюкзитцлененплатте
6. Rücksitzlehnenrahmen
7. Rücksitzlehneneinfassung
8. Rücksitzkopfstützenführung
9. Рюкситцкопфштютце

Ситц хинтен

Bauteile und bauteile-Übersicht
BAUTEILE-ÜBERSICHT

1. Рюксицпольстер
2. Рюксицлене

Репаратурверфарен
AUS- И EINBAU
1.

Schraube lösen, dann Rücksitzpolster (A) ausbauen.

Anzugsdrehmoment:

21,6 ~ 31,4 Нм (2,2 ~ 3,2 кгм)

2.

Rücksitzsicherheitsgurt in der Mitte (A) abtrennen.

3.

Befestigungsschraube lösen und mittleres Scharnier (A) des Rücksitzes оффнен.

Anzugsdrehmoment:

21,6 ~ 31,4 Нм (2,2 ~ 3,2 кгм)

4.

Rücksitzlehneneinheit (A) abbauen.

5.

Der Einbau erfolgt in der umgekehrten Reihenfolge des Ausbaus.

Rücksitzlehnenbezug

Bauteile und bauteile-Übersicht
BAUTEILE-ÜBERSICHT

1. Rücksitzlehnenbezug [ссылки]
2. Rücksitzlehnenbezug [rechts]

Репаратурверфарен
AUS- И EINBAU

Handschuhe anziehen, um die Hände zu schützen.

Mit einem Ausbauwerkzeug für Kunststoffverkleidungen einige Teile der Innenverkleidung entfernen, ohne dabei die Oberfläche zu zerkratzen.

Darauf achten, die Verkleidung und die Bleche nicht zu verbiegen Одер цу zerkratzen.

(ССЫЛКИ)

1.

Bauen Sie die Rücksitzeinheit aus.

(Siehe Rücksitz - "Rücksitzeinheit")

2.

Sicherungsstift eindrücken und Rücksitzkopfstütze (A) ausbauen.

3.

Rücksitzlehnen-Gurtführung (A) mit einem Ausbauwerkzeug entfernen.

4.

Obere Einfassungsabdeckung (A) mit einem Ausbauwerkzeug ausbauen.

5.

Kindersitz-Verankerungsabdeckung (A) mit einem Ausbauwerkzeug ausbauen.

6.

Rücksitzlehnenstaubabdeckung (A) abbauen.

7.

Ringclip (A) entfernen.

8.

Den seitlichen Sitzlehnenreißverschluss (A) öffnen.

9.

Ringclips entfernen, dann Sitzlehnenplatte (A) entfernen.

10.

Befestigungsclips (A) des Sitzlehnenbezugs entfernen.

11.

Rücksitz-Kopfstützen (A) herausziehen und dabei beide Seiten des unteren Teils der Führungen zusammendrücken.

12.

Rücksitzlehne Bezug vom Rahmen abnehmen.

13.

Klettband (A) и Ringclip (B) abnehmen und dann Sitzlehnenbezug (C) энфернен.

14.

Der Einbau erfolgt in der umgekehrten Reihenfolge des Ausbaus.

Sicherstellen, dass die Steckverbinder ganz angeschlossen грех

Alle beschädigten Clips (или Stifthalter) ersetzen.

Zur Vermeidung von Falten sicherstellen, dass der Stoff (B) gleichmäßig gespannt wird, bevor die Ringclips (A) befestigt Верден.

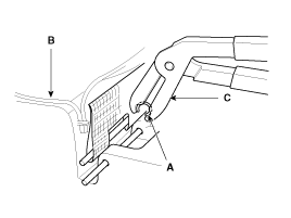
Ringclips mit Spezialwerkzeug (C) (09880-4F000) durch новый эрсетцен.

(РЕХТС)

1.

Bauen Sie die Rücksitzeinheit aus.

(Siehe Rücksitz - "Rücksitzeinheit")

2.

Sicherungsstift eindrücken und Rücksitzkopfstütze (A) ausbauen.

3.

Obere Einfassungsabdeckung (A) mit einem Ausbauwerkzeug ausbauen.

4.

Kindersitz-Verankerungsabdeckung (A) mit einem Ausbauwerkzeug ausbauen.

5.

Rücksitzlehnenstaubabdeckung (A) abbauen.

6.

Ringclip (A) entfernen.

7.

Den seitlichen Sitzlehnenreißverschluss (A) öffnen.

8.

Ringclips entfernen, dann Sitzlehnenplatte (A) entfernen.

9.

Befestigungsclips (A) des Sitzlehnenbezugs entfernen.

10.

Rücksitz-Kopfstützen (A) herausziehen und dabei beide Seiten des unteren Teils der Führungen zusammendrücken.

11.

Rücksitzlehne Bezug vom Rahmen abnehmen.

12.

Klettband (A) и Ringclip (B) abnehmen und dann Sitzlehnenbezug (C) энфернен.

13.

Der Einbau erfolgt in der umgekehrten Reihenfolge des Ausbaus.

Sicherstellen, dass die Steckverbinder ganz angeschlossen грех.

Alle beschädigten Clips (или Stifthalter) ersetzen.

Zur Vermeidung von Falten sicherstellen, dass der Stoff (B) gleichmäßig gespannt wird, bevor die Ringclips (A) befestigt Верден.

Ringclips mit Spezialwerkzeug (C) (09880-4F000) durch новый эрсетцен.

Рюксицпольстер

Bauteile und bauteile-Übersicht
BAUTEILE-ÜBERSICHT

1. Sitzpolsterbezug Rücksitz

Репаратурверфарен
AUS- И EINBAU

Handschuhe anziehen, um die Hände zu schützen.

Mit einem Ausbauwerkzeug für Kunststoffverkleidungen einige Teile der Innenverkleidung entfernen, ohne dabei die Oberfläche zu zerkratzen.

Verkleidung und Bleche nicht beschädigen.

1.

Befestigungsschraube lösen und Rücksitzpolster (A) ausbauen.

Anzugsdrehmoment:

21,6 ~ 31,4 Нм (2,2 ~ 3,2 кгм)

2.

Rücksitzpolsterbezug (A) nach Entfernen der Ringclips auf der Rückseite des Rücksitzpolsterbezugs entfernen.

3.

Der Einbau erfolgt in der umgekehrten Reihenfolge des Ausbaus.

Sicherstellen, dass die Steckverbinder richtig angeschlossen грех.

Лучший зажим клипы Auswechseln.

Zur Vermeidung von Falten sicherstellen, dass der Stoff gleichmäßig über die Kante gezogen ist (B), bevor die Ringclips (A) befestigt werden.

Ringclips mit Spezialwerkzeug (C) (09880-4F000) durch новый эрсетцен.

Hinterturdichtungsleiste
Репаратурверфарен AUS- И EINBAU 1. Befestigungsschraube де Hintertürfeststellers (A) lösen. Anzugsdrehmoment: 21,6 - 32,4 Нм (2,2 - 3,3 кг...
Рюксицгурт
...
Дополнительная информация:

Kia Stonic (YB) Reparaturanleitung: Замена стабилизатора


Репаратурверфарен Аусбау 1. Kreuzgelenkschraube (A) entfernen. Anzugsdrehmoment: 32,4 ~ 37,5 Нм (3,3 ~ 3,8 кгм) ...