Kia Stonic: Тормозная система / система ESC (электронный контроль устойчивости)

Руководство по ремонту Kia Stonic (YB) / система торможения / Система ESC (электронный контроль устойчивости)

Компоненты и обзор компонентов
ОБЗОР КОМПОНЕНТОВ

1. Блок управления ESC
2. Датчик скорости переднего колеса
3. Датчик скорости заднего колеса

описание и работа
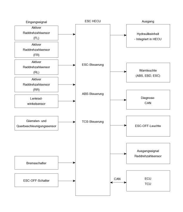
Описание ЭСК

Электронный контроль устойчивости (ESC) обнаруживает опасные дорожные ситуации такие как панические реакции в опасных ситуациях и стабилизирует транспортное средство путем торможения отдельных колес и вмешательства в управление двигателем.

ESC добавляет еще одну функцию к функциям ABS, TCS, EBD и ESC, известный как активный контроль рыскания (AYC). Пока функция ABS/TCS Проскальзывание колес регулируется при торможении и ускорении и, таким образом, в существенно мешает динамике автомобиля в продольном направлении активное управление рысканием вращает автомобиль вокруг своей вертикальной оси.

Это делается путем вмешательства в индивидуальный процесс торможения отдельного человека. колесо и регулировкой текущего крутящего момента двигателя без что водитель должен стать активным.

ESP в основном состоит из трех компонентов: датчиков, электронного блок управления и серводвигатели.

Система курсовой устойчивости работает в любых условиях вождения и эксплуатации. При определенных условиях вождения функция ABS/TCS может работать одновременно с Функция ESC активируется по команде водителя.

Если функция контроля устойчивости выходит из строя, основная функция безопасности, ABS, продолжают поддерживаться.

Описание регулирования ESC

Система ESC включает в себя функции ABS/EBD, TSC и AYC.

Функция ABS/EBD: ЭБУ преобразует активный сигнал датчика (текущий объем), исходящий от четырех колесных датчиков превращается в прямоугольную волну. Используя При получении вышеуказанных сигналов ЭБУ рассчитывает скорость движения и ускорение. и торможение четырех колес. Кроме того, ЭБУ определяет, включена ли система ABS/EBD. должно быть или нет.

Функция TCS предотвращает проскальзывание колес в направлении движения. Добавление тормозного давления и снижение крутящего момента двигателя по шине CAN. Функция TCS использует сигнал датчика скорости вращения колеса для определения проскальзывания колеса. что касается работы АБС.

Функция AYC предотвращает неустойчивое маневрирование автомобиля. об этом Для определения маневров автомобиля функция AYC использует сигналы датчика маневрирования. (датчик угла рыскания, датчик поперечного ускорения, датчик угла поворота рулевого колеса).

Если маневр автомобиля нестабилен (избыточная или недостаточная поворачиваемость), отработайте Функция AYC подает тормозное давление на конкретное колесо и отправляет сигнал для уменьшения крутящего момента двигателя через CAN.

После включения зажигания ЭБУ непрерывно диагностирует неисправность системы (самодиагностика). При обнаружении неисправности системы ЭБУ информирует водителя через контрольную лампу BRAKE/ABS/ESC из-за неисправности системы (предупреждение о безопасности).

ПЛАН ВЪЕЗДА/ВЫХОДА

Режим работы ЭКУ
Гидравлическая схема ЭКУ

1.

ESC Нет функции: обычное торможение.

магнитный клапан
проход
Клапан
насос
клапан ТК
Вход (НО)
Снаружи
открыть
Снаружи
Снаружи
выход (НЗ)
Снаружи
закрывать

2.

работа регулятора скорости

магнитный клапан
проход
Клапан
насос
клапан ТК
недостаточная поворачиваемость
(Только в
Заднее колесо)
Вход (НО)
Снаружи
открыть
А
А
выход (НЗ)
Снаружи
закрывать
избыточная поворачиваемость
(Только снаружи
переднего колеса)

Вход (НО)
Снаружи
открыть
выход (НЗ)
Снаружи
закрывать

Модуль контрольной лампы АБС

Модуль активной контрольной лампы АБС также имеет функцию самопроверки. неисправность АБС. Контрольная лампа ABS загорается при следующих условиях на :

на этапе инициализации после включения зажигания. (постоянно 3 секунды).

Когда функция ABS отключена из-за ошибки.

В диагностическом режиме.

Когда разъем ECU отсоединен от ECU.

Подсветка комбинации приборов загорается при обмене данными с модуль CAN невозможен.

СТОЯНОЧНЫЙ ТОРМОЗ/МОДУЛЬ СИГНАЛЬНОЙ СИГНАЛИЗАЦИИ EBD

Модуль активной сигнальной лампы EBD также имеет функцию самопроверки. состояние ошибки EBD. Однако при включении выключателя стояночного тормоза , сигнальная лампа EBD загорится независимо от рабочего состояния система ЭБД. Контрольная лампа EBD загорается при следующих условиях:

на этапе инициализации после включения зажигания. (постоянно 3 секунды).

Когда выключатель стояночного тормоза включен или уровень Тормозная жидкость.

Если функция EBD неисправна.

В диагностическом режиме.

Когда разъем ECU отсоединен от ECU.

Подсветка комбинации приборов загорается при обмене данными с модуль CAN невозможен.

Функция ESC/сигнальная лампа

Индикатор функции/предупреждения ESC указывает на самопроверку, а также на неисправность ESC. там.

Сигнальная лампа функции ESC загорается при следующих условиях. :

на этапе инициализации после включения зажигания. (постоянно 3 секунды).

Если функция ESC заблокирована из-за системной неисправности.

Когда управление ESC работает. (мигает - 2 Гц)

В диагностическом режиме (кроме стандартного режима)

Подсветка комбинации приборов загорается при обмене данными с модуль CAN невозможен.

ESC не горит

Функциональный индикатор ESC Off указывает на самопроверку, а также на неисправность ESC. там.

Индикатор ESC Off загорается при следующих условиях:

Во время фазы инициализации после IGN ON. (непрерывно 3 секунды длинный).

Индикатор отключения ESC загорается, когда водитель нажимает на выключатель ESP. эксплуатировался.

ПЕРЕКЛЮЧАТЕЛЬ ESC ВКЛ.ВЫКЛ.

Переключатель включения/выключения ESC используется для переключения функции ESC между состояниями. включение/выключение в зависимости от входного сигнала драйвера.

Выключатель включения/выключения представляет собой переключатель мгновенного действия с замыканием контактов. Активировать замыкание контактов зажигание.

Функция ESC изначально включена, и состояние устанавливается с помощью тумблера переключился.

Схематические изображения
принципиальная электрическая схема

ТЕРМИНАЛ ОПИСАНИЕ

ПИН-код
Описание
Электричество
Сопротивление
ЗАМЕЧАНИЕ
(AMPS)
(мОм)
1
B+ ТОК ДВИГАТЕЛЯ НАСОСА
137
10

2
C_CAN НИЗКИЙ
30 мА
250

5
Переключатель сброса входа/выхода TPMS
10 мА
250

11
Сигнал выключателя стояночного тормоза
10 мА
250

13
GND_GROUND ДВИГАТЕЛЯ НАСОСА
137
10

14
C_CAN ВЫСОКИЙ
30 мА
250

16
сигнал выключателя стоп-сигнала
10 мА
250

17
Датчик скорости колеса (передний правый)
16 мА
250

18
ТЕКУЩИЙ ДАТЧИК СКОРОСТИ КОЛЕСА (FR)
30 мА
250

19
ТЕКУЩИЙ ДАТЧИК СКОРОСТИ КОЛЕСА (RR)
30 мА
250

20
СИГНАЛ ДАТЧИКА СКОРОСТИ НАЗЕМНОГО КОЛЕСА (RL)
16,8 мА
250

21
СИГНАЛ ДАТЧИКА СКОРОСТИ НАЗЕМНОГО КОЛЕСА (FL)
16,8 мА
250

22
L-CAN Высокий
30 мА
250

23
Сигнал включения/выключения ESC
10 мА
250

24
СИГНАЛ ПРИВОДА HAC
200 мА
250

25
АККУМУЛЯТОР (+) МАГНИТ
40
10

27
Сигнал привода ESS
200 мА
250

29
зажигание 1
50 мА
60

31
СИГНАЛ ДАТЧИКА СКОРОСТИ НАЗЕМНОГО КОЛЕСА (FR)
16,8 мА
250

32
СИГНАЛ ДАТЧИКА СКОРОСТИ НАЗЕМНОГО КОЛЕСА (RR)
16,8 мА
250

33
ТЕКУЩИЙ ДАТЧИК СКОРОСТИ КОЛЕСА (RL)
30 мА
250

34
ТЕКУЩИЙ ДАТЧИК СКОРОСТИ КОЛЕСА (FL)
30 мА
250

35
L МОЖЕТ низкий
30 мА
250

36
СИГНАЛ ВЫКЛЮЧАТЕЛЯ ЗАДНЕГО ХОДА
10 мА
250

37
сигнал переключателя сцепления
10 мА
250

38
Размеры
40
10


Датчик скорости заднего колеса
Компоненты и обзор компонентов ОБЗОР КОМПОНЕНТОВ процедуры ремонта расширение 1. Снимите задние колеса и шины. Момент затяжки ...
Блок управления ESC
Компоненты и обзор компонентов ОБЗОР КОМПОНЕНТОВ 1. Разъем модуля управления ESC 2. Блок управления ESC 3. Кронштейн регулятора скорости процедуры ремонта ...
Дополнительная информация:

Kia Stonic (YB) Руководство по ремонту: Входной датчик скорости 1


Компоненты и обзор компонентов ОБЗОР КОМПОНЕНТОВ 1. Входной датчик скорости 1 (нечетный) 2. Датчик частоты вращения входного вала 2 (прямой) Спецификации СПЕЦИФИКАЦИЯ позиция СПЕЦИФИКАЦИЯ ...