Kia Stonic: система ISG (Idle Shutdown & Go) / преобразователь постоянного тока в постоянный

Руководство по ремонту Kia Stonic (YB) / Управление двигателем/топливная система / Система ISG (выключение и переход в режим ожидания) / DC/DC преобразователь

описание и работа
Описание

Из-за значительно более частых процессов запуска часто возникающие электрической нагрузки к перепадам напряжения в сети автомобиля.

Для подачи питания на определенные электронные компоненты, чувствительные к напряжению. Для стабилизации используется DC/DC преобразователь вместе с функцией ISG.

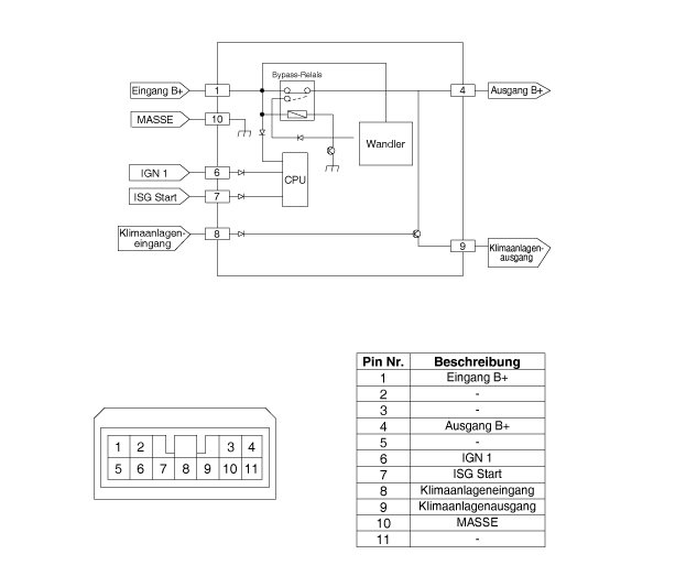
Преобразователь постоянного тока в постоянный имеет реле с напряжением, которое процесс запуска остается постоянным.

Преобразователь постоянного тока в постоянный находится за перчаточным ящиком.

Электроника выбирает контрольные кабели для входного напряжения и реле стартера, подается ли питание на выход через байпас или DC/DC преобразователи.

В режиме байпаса напряжение бортовой сети не подается преобразователем DC/DC, но передается непосредственно на выходы. В фазе усилителя напряжение автомобиля скорректировано.

ПРИНЦИП РАБОТЫ

В режиме ISG, если питание аудиосистемы пропало из-за Падение напряжения во время «автоматического запуска» или «холостого хода». Запуск" прерывается, необходимо заменить преобразователь постоянного тока в постоянный.

Компоненты и обзор компонентов
ОБЗОР КОМПОНЕНТОВ

1. Преобразователь постоянного тока в постоянный [левый привод]
2. Преобразователь постоянного тока в постоянный [правый руль]

Схематические изображения
принципиальная электрическая схема

процедуры ремонта
расширение
1.

Отсоедините кабель заземления аккумуляторной батареи.

2.

Снимите корпус перчаточного ящика.

(См. Кузов — «Корпус перчаточного ящика»)

3.

Отсоедините разъем преобразователя постоянного тока в постоянный (А).

4.

Отверните гайки и снимите преобразователь постоянного тока в постоянный (В).

Гайка крепления DC/DC преобразователя:

4,0~6,0 Нм (0,4~0,6 кгм)

(левый руль)

(правый руль)

монтаж
1.

Установка производится в порядке, обратном снятию.

После переподключения аккумулятора минус работает Функция ISG возобновляется только после стабилизации системы. имеет (ок. 4 часа).

Если минусовая клемма (-) аккумуляторной батареи во время ремонтных работ отключен в автомобиле, оснащенном функцией ISG датчик аккумулятора после завершения ремонтных работ быть перекалиброваны.

(См. Система зарядки — «Датчик аккумулятора»)

АГМ аккумулятор
Спецификации СПЕЦИФИКАЦИЯ ▷ АГМ60Л-ДИН позиция СПЕЦИФИКАЦИЯ Емкость (20 ч / 5 ч) (Ач) 60/48 Холодный пуск А...
Выключить ISG
Компоненты и обзор компонентов ОБЗОР КОМПОНЕНТОВ описание и работа Описание Выключатель ISG OFF на напольной консоли можно использовать для включения ISG ...
Дополнительная информация:

Руководство по эксплуатации Kia Stonic (YB): Самодиагностика


Если вы не слышите предупредительный сигнал или зуммер при переключении на Задняя передача (R) подает звуковой сигнал это может быть неисправность задней части Показать помощь при парковке. Позволять растение в этом случае Проверьте специализированную мастерскую. Киа рекомендует посещение дилера Киа...