Kia Stonic: ГБЦ/CVVT и распредвал

Руководство по ремонту Kia Stonic (YB) / механика двигателя / крышка цилиндра / CVVT и распределительный вал

описание и работа
Описание

Бесступенчатая регулировка фаз газораспределения (CVVT) регулирует фазы газораспределения Впускной и выпускной клапан в направлении «вперед» или «запаздывает» в соответствии с управляющим сигналом ECM, который рассчитывается на основе частоты вращения двигателя и нагрузки.

С изменяемыми фазами газораспределения (CVVT), за счет изменения перекрытия клапанов снижение расхода топлива и выбросов вредных газов (NOx, HC) быть уменьшена. Кроме того, производительность двигателя повышается за счет снижения насосных потерь, внутренний эффект рециркуляции отработавших газов, улучшение стабильности сгорания, улучшение объемного КПД и увеличение работы расширения.

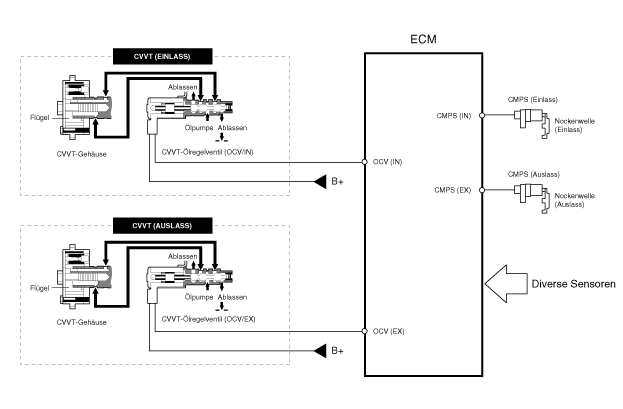
Эта система состоит из

Клапан управления маслом CVVT (OCV), который подает масло к указателю кулачка или ШИМ (широтно-импульсная модуляция) моторного масла в соответствии с управляющим сигналом от ECM позволяет указателю кулачка закончиться,

Датчик температуры масла CVVT (OTS), который измеряет температуру моторного масла,

и фазовращатель кулачка, который регулирует фазу кулачка в соответствии с фазой, создаваемой моторным маслом. Гидравлическая мощность варьируется.

Моторное масло, протекающее через клапан управления маслом CVVT, перемещает распределительный вал. в направлении (впуск-опережение/выпуск-замедление) или в обратном направлении (замедление впуска/выпуска Направление опережения) вращения двигателя путем поворота ротора, который находится на распределительный вал подключен в фазоинвертор.

ПРИНЦИП РАБОТЫ

CVVT имеет механизм, использующий гидравлическую энергию для поворота лопасти несущего винта. вращается, создаваемое моторным маслом, которое опережает или замедляет Питание камеры осуществляется в соответствии с управлением масляным клапаном CVVT.

[Системный режим CVVT]

(1) Низкие обороты/низкая нагрузка
(2) частичная нагрузка


(3) Низкие обороты/высокая нагрузка
(4) Высокие обороты/высокая нагрузка



вождение
Состояние
выхлопной клапан
впускной клапан
Клапан
рулевое управление
влияние
Клапан
рулевое управление
влияние
(1) Низкая скорость
/Низкая нагрузка
полный
РАНО
* Подрез клапана
* Улучшенная эффективность сгорания
полный
ПОЗДНО
* Подрез клапана
* Улучшенная эффективность сгорания
(2) частичная нагрузка
ПОЗДНО
* Большее расширение
* Минимизация потерь насоса
* снижение содержания углеводородов
ПОЗДНО
* Минимизация потерь насоса
(3) Низкая скорость
/Высокая нагрузка
ПОЗДНО
* Большее расширение
РАНО
* Предотвращение обратного потока всасываемого воздуха (повышение эффективности)
(4) Высокая скорость
/Высокая нагрузка
РАНО
* Минимизация потерь насоса
ПОЗДНО
* Повышение эффективности

процедуры ремонта
расширение
1.

Снимите крышку головки блока цилиндров.

(См. Головка цилиндра — «Крышка головки цилиндра»)

2.

Снимите вакуумный насос.

(См. головку блока цилиндров — «Вакуумный насос»)

3.

Снять цепь ГРМ.

(См. Система зажигания — «Цепь ГРМ»)

4.

Снимите впускной узел CVVT (A) и выпускной узел CVVT (B).

Распредвал при снятии блока CVV ключом держите его, чтобы он не вращался.

5.

Крышка переднего подшипника распределительного вала (А) и центральная крышка подшипника распределительного вала (В). Снимите распределительный вал в указанном порядке.

6.

Снимите распределительные валы (А).

ТЕСТ

распределительный вал

1.

Проверьте кулачки распредвала.

Измерьте высоту кулачка микрометром.

ВЫСОТА КУЛАЧКА

Впуск: 41,79824 мм

Выход: 41,57000 мм

Замените распределительный вал, если высота кулачка ниже стандартной. ложь.

2.

Проверьте зазор подшипника распределительного вала.

(1)

Очистите крышки подшипников и шейки распределительных валов.

(2)

Установите распределительные валы на головку блока цилиндров.

(3)

Поместите полоску пластиджа на каждую шейку подшипника.

(4)

Крышка переднего подшипника распределительного вала (A), центральная крышка подшипника распределительного вала Установите (B) и заднюю крышку подшипника распределительного вала (C) следующим образом. и затяните до указанного момента затяжки.

Момент затяжки:

ШАГ 1

А: 9,8 Нм (1,0 кгм)

В: 5,9 Нм (0,6 кгм)

ШАГ 2

А: 18,6~22,6 Нм (1,9~2,3 кгм)

В: 11,8~13,7 Нм (1,2~1,4 кгм)

C: 11,8~13,7 Нм (1,2~1,4 кгм)

Не вращайте распределительные валы.

Если крышки кулачков установлены, стрелки должны в верхней части крышек направлены наружу двигателя.

(5)

Снимите крышку подшипника.

(6)

Измерьте пластиджевую ленту в самом широком месте.

люфт подшипника распределительного вала

ВХОД :

0,027~0,057 мм

выход:

0,027~0,057 мм

Замените распределительный вал, если зазор больше максимального является. При необходимости замените головку блока цилиндров.

(7)

Полностью удалить пластидж.

(8-й)

Снимите распределительный вал.

3.

Проверьте осевой люфт распределительного вала.

(1)

Установите распределительный вал (А).

(2)

Крышка переднего подшипника распределительного вала (A), центральная крышка подшипника распределительного вала Установите (B) и заднюю крышку подшипника распределительного вала (C) следующим образом. и затяните до указанного момента затяжки.

Момент затяжки:

ШАГ 1

А: 9,8 Нм (1,0 кгм)

В: 5,9 Нм (0,6 кгм)

ШАГ 2

А: 18,6~22,6 Нм (1,9~2,3 кгм)

В: 11,8~13,7 Нм (1,2~1,4 кгм)

C: 11,8~13,7 Нм (1,2~1,4 кгм)

Не вращайте распределительные валы.

Когда крышки кулачков установлены, стрелки должны быть направлены вверх. на крышках направлены наружу двигателя.

(3)

Подвигайте распределительный вал вперед и назад в продольном направлении с Индикатор часового типа измеряет осевой люфт.

Осевой люфт распределительного вала:

ВХОД :

0,1~0,2 мм

выход:

0,1~0,2 мм

Замените распределительный вал, если осевой люфт больше максимального является. При необходимости замените головку блока цилиндров.

(4)

Снимите распределительные валы.

Блок CVVT (переменный управление клапаном)

1.

Блок CVVT Проверить.

(1)

Зажмите распределительный вал в тиски. Обратить внимание на, кулачки и штифты в тисках не повреждены.

(2)

Убедитесь, что CVVT заблокирован. Это не должно вращаться.

(3)

Впускной CVVT: одно из двух первых отверстий в шейке распределительного вала. закрыть скотчем.

Выхлоп CVVT: одно из двух последних отверстий в шейке распределительного вала. закрыть скотчем.

[Вход]

[выход]

(4)

Вход CVVT: сжатый воздух около 150 кПа (1,5 кгс/см²) при подайте незапечатанное раннее отверстие, чтобы освободить замок.

Выход CVVT: сжатый воздух около 150 кПа (1,5 кгс/см²) при в разблокированное позднее отверстие, чтобы освободить замок.

При подаче сжатого воздуха масляные дорожки цельным куском Накройте тканью, чтобы предотвратить разбрызгивание масла.

(5)

Впуск CVVT: При подаче сжатого воздуха CVVT внутри их фазовый диапазон в раннем направлении (против часовой стрелки) вращайте и убедитесь, что CVVT вращается плавно.

Выпускной CVVT: при подаче сжатого воздуха CVVT находится в запаздывающем направлении. (по часовой стрелке) и убедитесь, что CVVT движется плавно. повороты.

Диапазон фаз CVVT

ВХОД :

25° (от максимального отставания до максимально опережающего положения)

выход:

20° (от макс. раннего положения до макс. позднего положения)

(6)

Впускной CVVT: CVVT в положение максимальной задержки (по часовой стрелке) поверните и проверьте, заблокирован ли CVVT.

Выпуск CVVT: CVVT в положение максимального выдвижения (против часовой стрелки) поверните и проверьте, заблокирован ли CVVT.

монтаж
1.

Установите распределительные валы (А).

2.

Крышка переднего подшипника распределительного вала (А) и центральная крышка подшипника распределительного вала (В). Установите распределительный вал в указанной последовательности.

Момент затяжки:

ШАГ 1

А: 9,8 Нм (1,0 кгм)

В: 5,9 Нм (0,6 кгм)

ШАГ 2

А: 18,6~22,6 Нм (1,9~2,3 кгм)

В: 11,8~13,7 Нм (1,2~1,4 кгм)

C: 11,8~13,7 Нм (1,2~1,4 кгм)

3.

Установите впускной узел CVVT (A) и выпускной узел CVVT (B).

Момент затяжки:

63,7~73,5 Нм (6,5~7,5 кгм)

Распредвал при установке блока CVVT с помощью ключа держите его, чтобы он не вращался.

4.

Установите остальные детали в порядке, обратном снятию.

вакуумный насос
процедуры ремонта установка и удаление. 1. Отсоедините отрицательный полюс от аккумулятора. 2. Снимите разъемы жгута проводов и зажимы жгута проводов, а S ...
крышка цилиндра
процедуры ремонта расширение • Используйте накладки на крылья, чтобы не повредить лакокрасочное покрытие.
Дополнительная информация:

Kia Stonic (YB) Руководство по ремонту: датчик скорости заднего колеса


Компоненты и обзор компонентов ОБЗОР КОМПОНЕНТОВ процедуры ремонта расширение 1. Снимите задние колеса и шины. Момент затяжки. 107,9~127,5 Нм (11,0~13,0 кгм) 2. Затыкать...