Kia Stonic: система контроля выбросов выхлопных газов / система CVVT (переменная синхронизация клапанов)

Руководство по ремонту Kia Stonic (YB) / система контроля выбросов / Система контроля выбросов выхлопных газов / Система CVVT (изменение фаз газораспределения)

описание и работа
Описание

Бесступенчатая регулировка фаз газораспределения (CVVT) регулирует фазы газораспределения. впускного и выпускного клапана в направлении «вперед» или «запаздывает» в соответствии с управляющим сигналом ECM, который рассчитывается на основе частоты вращения двигателя и нагрузки.

Система CVVT контролирует перекрытие клапанов, тем самым снижая расход топлива. и снижает выхлопные газы (NOx, HC). Система CVVT повышает мощность двигателя снижение насосных потерь, внутренний эффект рециркуляции отработавших газов, улучшение стабильность горения, улучшение объемного КПД и увеличение работы расширения.

Эта система состоит из:

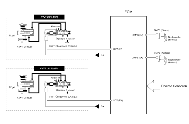
Клапан управления маслом CVVT (OCV), который подает масло к указателю кулачка или ШИМ (широтно-импульсная модуляция) моторного масла в соответствии с управляющим сигналом от ECM позволяет указателю кулачка закончиться,

Датчик температуры масла CVVT (OTS), который измеряет температуру моторного масла,

и фазовращатель кулачка, который регулирует фазу кулачка в соответствии с фазой, создаваемой моторным маслом. Гидравлическая мощность варьируется.

Моторное масло, протекающее через клапан управления маслом CVVT, перемещает распределительный вал. в направлении (впуск-опережение/выпуск-замедление) или в обратном направлении (замедление впуска/выпуска Направление опережения) вращения двигателя путем поворота ротора, который находится на распределительный вал подключен в фазоинвертор.

ПРИНЦИП РАБОТЫ

CVVT имеет механизм, использующий гидравлическую энергию для поворота лопасти несущего винта. вращается, создаваемое моторным маслом, которое опережает или замедляет Питание камеры осуществляется в соответствии с управлением масляным клапаном CVVT.

[Системный режим CVVT]

(1) Низкие обороты/низкая нагрузка
(2) частичная нагрузка


(3) Низкие обороты/высокая нагрузка
(4) Высокие обороты/высокая нагрузка



вождение
Состояние
выхлопной клапан
впускной клапан
Клапан
рулевое управление
влияние
Клапан
рулевое управление
влияние
(1) Низкая скорость
/Низкая нагрузка
полный
РАНО
* Подрез клапана
* Улучшенная эффективность сгорания
полный
ПОЗДНО
* Подрез клапана
* Улучшенная эффективность сгорания
(2) частичная нагрузка
ПОЗДНО
* Большее расширение
* Минимизация потерь насоса
* снижение содержания углеводородов
ПОЗДНО
* Минимизация потерь насоса
(3) Низкая скорость
/Высокая нагрузка
ПОЗДНО
* Большее расширение
РАНО
* Предотвращение обратного потока всасываемого воздуха (повышение эффективности)
(4) Высокая скорость
/Высокая нагрузка
РАНО
* Минимизация потерь насоса
ПОЗДНО
* Повышение эффективности

катализатор
описание и работа Описание Каталитический нейтрализатор в бензиновом двигателе представляет собой трехкомпонентный каталитический нейтрализатор. Он окисляет угарный газ и углеводороды (HC) и отделяет кислород от ...
Управление двигателем/топливная система
специальные инструменты СПЕЦИАЛЬНЫЕ ИНСТРУМЕНТЫ Обозначение/номер инструмента Иллюстрация Описание датчик давления топлива 09353-24100 ...
Дополнительная информация:

Руководство по ремонту Kia Stonic (YB): передний стабилизатор поперечной устойчивости


процедуры ремонта расширение 1. Снимите винт универсального шарнира (А). Момент затяжки: 32,4~37,5 Нм (3,3~3,8 кгм) ...