Kia Stinger: Тормозная система / Выключатель стоп-сигнала

Kia Stinger CK 2018-2023 Руководство по ремонту / Тормозная система / Тормозная система / Выключатель стоп-сигнала

Компоненты и расположение компонентов
Компоненты

1. Выключатель стоп-сигнала
2. Педаль тормоза

Описание и работа
Операция

Принцип работы индуктивного бесконтактного выключателя

1.

Используйте высокочастотное магнитное поле и индуцированный ток, которые генерируется колебаниями (до утвержденного напряжения) катушки в переключателе.

2.

Вихревой ток возникает на поверхности металла за счет собственной индуктивности. эффект, если есть металл в высокочастотном магнитном поле.

3.

Образующийся вихревой ток ослабляет высокочастотное магнитное поле. поле столько же, сколько количество, генерируемое путем нарушения магнитного поля переключателя поток.

4.

ON-OFF, оценивая, ослабляется ли магнитное поле высокого напряжения или нет (рассчитать разность напряжений по длине между металлом и катушкой)

Принципиальные диаграммы
Терминальная функция

Пин №
Описание
1
IGN1
2
IBU
3
-
4
В+
5
Стоп-сигнал
6
Земля

Поиск неисправностей
Поиск неисправностей
1.

Диагностика деталей

Предметы
Причина
Симптом

Выключатель предохранителя
Неисправное соединение предохранителя, Поврежденный предохранитель

Код неисправности: P0504

Симптом: проблемы с переключением передач, отказ при запуске, круиз. проблема с отменой функции управления, отмена функции EPB неисправность, неисправность стоп-сигнала, горит лампа ESP OFF.

① Проверка формы сигнала выполняется с помощью осциллографа на каждом части во время разгона/торможения автомобиля. (См. переключатель стоп-сигнала процедуры проверки цепи)

② Обратитесь к соответствующим процедурам ремонта детали, если что-то в осциллограмме обнаружена аномалия (обратитесь к процедурам ремонта соответствующей детали и при необходимости заменить ее)
Реле предохранителя
Неисправное соединение предохранителя, Поврежденный предохранитель

Код неисправности: P0504

Симптом: проблемы с переключением передач, отказ при запуске, круиз. проблема с отменой функции управления, отмена функции EPB неисправность, неисправность стоп-сигнала, горит лампа ESP OFF.

Выключатель стоп-сигнала

Поврежденная проводка каждой части

Неправильное подключение к разъему

Каждая часть неисправна

Код неисправности: P0504

Симптом: проблемы с переключением передач, отказ при запуске, круиз. проблема с отменой функции управления, отмена функции EPB неисправность, неисправность стоп-сигнала, горит лампа ESP OFF.

Стоп-сигнал электронный
модуль (если применимо)

Код неисправности: P0504, C2130, C2131

Симптом: проблемы с переключением передач, отказ при запуске, круиз. проблема с отменой функции управления, отмена функции EPB неисправность, неисправность стоп-сигнала, горит лампа ESP OFF.

Модуль управления двигателем (ECM)

Код неисправности: P0504

Симптом: проблемы с переключением передач, круиз-контроль. проблема отмены

Модуль управления кузовом (BCM)

Проблемы с переключением передач

Соленоид блокировки переключения передач

Проблемы с переключением передач

Переключатель ингибитора

Симптом: проблемы с переключением передач, отказ при запуске, круиз. проблема с отменой функции управления, отмена функции EPB беда

Блок смарт-ключей (SMK)

Стартовый сбой

Электронный стояночный тормоз

Симптом: проблема с отменой функции EPB, ESP OFF свет освещен.

Блок управления ABS/VDC
(Датчик давления)

Симптом: горит индикатор ESP OFF.


2.

Симптоматическая диагностика

Симптом
Часть, которая может быть причиной

Проблемы с запуском
Предохранитель выключателя, предохранитель реле, выключатель стоп-сигнала, электронный стоп-сигнал модуль, модуль управления ABS/VDC, каждый провод, разъем
① Проверьте форму сигнала с помощью осциллографа на каждой детали во время движения автомобиля. ускорение/торможение. (См. проверку цепи выключателя стоп-сигналов. процедуры)

② Обратитесь к соответствующим процедурам ремонта детали, если что-то в осциллограмме обнаружена аномалия (обратитесь к процедурам ремонта соответствующей детали и при необходимости заменить ее)
Проблемы с переключением передач
Предохранитель выключателя, предохранитель реле, выключатель стоп-сигнала, электронный стоп-сигнал модуль, BCM, ECM, выключатель ингибитора, каждый провод, разъем
горит лампочка ESP OFF
Предохранитель выключателя, предохранитель реле, выключатель стоп-сигнала, электронный стоп-сигнал модуль, модуль управления ABS/VDC, каждый провод, разъем
P0504
Предохранитель выключателя, предохранитель реле, выключатель стоп-сигнала, электронный стоп-сигнал модуль, ECM, каждый провод, разъем
Не работает стоп-сигнал
Предохранитель выключателя, предохранитель реле, выключатель стоп-сигнала, электронный стоп-сигнал модуль, провод/разъем отсоединен
Стоп-сигнал всегда
включенный
Выключатель стоп-сигнала, электронный модуль стоп-сигнала,
Короткое замыкание проводки, сгорел предохранитель

3.

Диагностика системы выключателя стоп-сигналов

SSEM: Электронный модуль стоп-сигнала

4.

Обратитесь к руководству по кодам DTC, когда отображаются соответствующие коды DTC.

Процедуры ремонта
Удаление
1.

Выключите зажигание и отсоедините отрицательный (-) кабель аккумуляторной батареи.

2.

Снимите нижнюю панель аварийной подушки.

(См. Кузов — «Нижняя панель аварийной площадки»)

3.

Снимите коленную подушку безопасности.

(См. Система пассивной безопасности — «Модуль коленной подушки безопасности (KAB))».

4.

Отсоедините разъем выключателя стоп-сигналов (А).

5.

Потяните стопорную пластину (А), как показано стрелкой, а затем поверните тормоз. переключатель (B) на 45° по часовой стрелке и снимите его.

6.

Осмотрите снятый выключатель стоп-сигнала в соответствии с описанными ниже процедурами.

(1)

Подтвердите нормальное соединение с клеммной частью.

Можно сделать подтверждение, чтобы убедиться, что разъем должным образом закреплены и присутствует метка соединения.

(2)

Выполнить проверку сопротивления деталей.

Монтаж
1.

Зафиксируйте рычаг педали тормоза и полностью вставьте тормозной выключатель так, чтобы Контактная часть невидима.

2.

После вставки поверните переключатель тормоза на 45° против часовой стрелки, а затем соберите стопорную пластину, нажав.

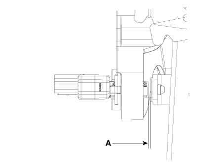
3.

Проверьте зазор между выключателем стоп-сигнала и кронштейном.

Зазор стоп-сигнала (A):

1,0–2,0 мм (0,04–0,08 дюйма)

Если зазор между выключателем стоп-сигнала и кронштейном не между 1,0–2,0 мм (0,04–0,08 дюйма), проверьте зажим и другие детали вокруг стоп-сигнала.

Если все в порядке, переустановите выключатель стоп-сигнала. и снова проверьте зазор.

4.

Установите разъем выключателя стоп-сигналов (А).

осмотр

1. Проверка предохранителей

Установите тестовый предохранитель на предохранитель выключателя и часть предохранителя реле, чтобы подтвердить нормальную работу. совместная подгонка.

2. Анализ данных КДС

1.

Проанализируйте данные KDS и проверьте исправность выключателя стоп-сигнала.

(1)

Подключите KDS к разъему самодиагностики.

(2)

Включите искровой выключатель.

(3)

Нажмите на педаль тормоза.

(4)

Осмотрите категорию «тормозной выключатель», в которой отображается «датчик данные" КДС.)

Нормальная форма сигнала: значение сигнала датчика давления будет изменить в соответствии с переключателем ВКЛ/ВЫКЛ тормоза.

3. Проверка разъема по каждой части

Проверьте наличие повреждений, перенапряжения клемм или неполного соединения в каждом разъеме.

[Распределительная коробка машинного отделения]

[Модуль управления ABS/VDC]

4. Осмотрите упор схема лампы

Подсоедините щуп к каждому клеммному проводу и проверьте осциллограмму сигнала.

[Вход/выход переключателя стоп-сигнала]

[Экран формы сигнала осциллографа]

Задний дисковый тормоз
Компоненты и расположение компонентов Компоненты [Стандарт] 1. Корпус суппорта 2. Тормозной элемент 3. Тормозная колодка в сборе [IN] 4. Фиксатор 5. Тормоз...
Стояночная тормозная система
...
Дополнительная информация:

Руководство по обслуживанию Kia Stinger CK 2018-2023: предупреждающие надписи


Общая информация Предупреждающие и предостерегающие этикетки 1. Внимание болельщиков 2. Предупреждение о крышке радиатора 3. Аккумулятор осторожно Этикетка с предупреждением о батарее Предупреждающая / предостерегающая этикетка (продолжение) А. Держите зажженные сигареты и все другие источники пламени или искры...

Kia Stinger CK 2018-2023 Service Manual: Сдержанность


Общая информация Общий Дополнительная удерживающая система (SRS) предназначена для дополнения ремня безопасности. чтобы помочь снизить риск или тяжесть травм водителя и пассажира, активировав и срабатывание водителя, пассажира, боковой подушки безопасности и преднатяжителя ремня безопасности в определенных ...