Kia Stinger: стояночная тормозная система / стояночный тормоз в сборе

Kia Stinger CK 2018-2023 Руководство по ремонту / Тормозная система / Стояночная тормозная система / Сборка стояночного тормоза

Процедуры ремонта
Удаление
1.

Выключите зажигание и отсоедините отрицательный (-) кабель аккумуляторной батареи.

2.

Снимите нижнюю панель аварийной подушки.

(См. Кузов — «Нижняя панель аварийной площадки»)

3.

Снимите коленную подушку безопасности.

(См. Система пассивной безопасности — «Модуль коленной подушки безопасности (KAB))».

4.

Отсоедините разъем выключателя стоп-сигналов (А).

5.

Потяните стопорную пластину (А), как показано стрелкой, а затем поверните тормоз. переключатель (B) на 45° по часовой стрелке и снимите его.

6.

Осмотрите снятый выключатель стоп-сигнала в соответствии с описанными ниже процедурами.

(1)

Подтвердите нормальное соединение с клеммной частью.

Можно сделать подтверждение, чтобы убедиться, что разъем должным образом закреплены и присутствует метка соединения.

(2)

Выполнить проверку сопротивления деталей.

Монтаж
1.

Зафиксируйте рычаг педали тормоза и полностью вставьте тормозной выключатель так, чтобы Контактная часть невидима.

2.

После вставки поверните переключатель тормоза на 45° против часовой стрелки, а затем соберите стопорную пластину, нажав.

3.

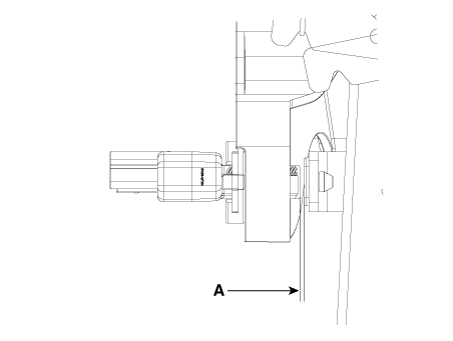
Проверьте зазор между выключателем стоп-сигнала и кронштейном.

Зазор стоп-сигнала (A):

1,0–2,0 мм (0,04–0,08 дюйма)

Если зазор между выключателем стоп-сигнала и кронштейном не между 1,0–2,0 мм (0,04–0,08 дюйма), проверьте зажим и другие детали вокруг стоп-сигнала.

Если все в порядке, переустановите выключатель стоп-сигнала. и снова проверьте зазор.

4.

Установите разъем выключателя стоп-сигналов (А).

осмотр

1. Проверка предохранителей

Установите тестовый предохранитель на предохранитель выключателя и часть предохранителя реле, чтобы подтвердить нормальную работу. совместная подгонка.

2. Анализ данных КДС

1.

Проанализируйте данные KDS и проверьте исправность выключателя стоп-сигнала.

(1)

Подключите KDS к разъему самодиагностики.

(2)

Включите искровой выключатель.

(3)

Нажмите на педаль тормоза.

(4)

Осмотрите категорию «тормозной выключатель», в которой отображается «датчик данные" КДС.)

Нормальная форма сигнала: значение сигнала датчика давления будет изменить в соответствии с переключателем ВКЛ/ВЫКЛ тормоза.

3. Проверка разъема по каждой части

Проверьте наличие повреждений, перенапряжения клемм или неполного соединения в каждом разъеме.

[Распределительная коробка машинного отделения]

[Модуль управления ABS/VDC]

4. Осмотрите упор схема лампы

Подсоедините щуп к каждому клеммному проводу и проверьте осциллограмму сигнала.

[Вход/выход переключателя стоп-сигнала]

[Экран формы сигнала осциллографа]

Стояночная тормозная система
...
Электрический стояночный тормоз (EPB)
Описание и работа Описание Описание ЭПБ EPB — это электронный стояночный тормоз. EPB отличается от существующей парковки системы, работающие с педалью тормоза...
Дополнительная информация:

Kia Stinger CK 2018-2023 Руководство по техническому обслуживанию: Обшивка дверей


Компоненты и расположение компонентов Расположение компонента 1. Накладка на пороги передних дверей. 2. Облицовка потертости задней двери Процедуры ремонта Замена Наденьте перчатки, чтобы защитить руки...

Руководство по эксплуатации Kia Stinger CK 2018-2023: Воздушный фильтр


Замена фильтра ■ Двигатель THETA II 2,0 л T-GDI (бензин) ■ Двигатель Lambda II PE 3,3 л T-GDI (бензин) (со стороны пассажира) Воздушный фильтр необходимо заменять при необходимости, его нельзя мыть. Обратитесь к авторизованному дилеру Киа для проверки или замены фильтра воздушного фильтра. ■ Лямбда I...