Kia Stinger: Тормозная система / ESP (электронная программа стабилизации)

Kia Stinger CK 2018-2023 Руководство по ремонту / Тормозная система / Система ESP (электронная программа стабилизации)

Компоненты и расположение компонентов
Расположение компонентов

1. Модуль HECU
2. Датчик скорости переднего колеса (2WD)
3. Датчик скорости переднего колеса (AWD)
4. Датчик скорости заднего колеса

Описание и работа
Описание ЭСП

Электронная программа стабилизации (ESP) распознает критические условия вождения, такие как как панические реакции в опасных ситуациях, так и стабилизирует транспортное средство с помощью отдельных колес. вмешательство в систему торможения и управления двигателем.

ESP добавляет дополнительную функцию, известную как Active Yaw Control (AYC), к ABS, TCS, Функции EBD и ESP. В то время как функция ABS/TCS контролирует проскальзывание колес при торможении. и ускорение и, таким образом, в основном вмешивается в продольную динамику автомобиля активная система контроля рыскания стабилизирует автомобиль относительно его вертикальной оси.

Это достигается за счет индивидуального торможения колес и адаптации мгновенный крутящий момент двигателя без необходимости каких-либо действий со стороны водителя.

ESP по существу состоит из трех узлов: датчиков, электронного управления узел и приводы.

Функция контроля устойчивости работает при любых условиях вождения и эксплуатации. При определенных условиях вождения функция ABS/TCS может быть активирована одновременно. с функцией ESP в ответ на команду водителя.

В случае отказа функции контроля устойчивости основные функции безопасности функция ABS по-прежнему сохраняется.

Описание ЭСП Контроль

Система ESP включает функции ABS/EBD, TCS и AYC.

Функция ABS/EBD: ЭБУ изменяет активный сигнал датчика (текущее переключение), поступающее от четырех колесных датчиков до прямоугольной волны. Используя ввод вышеуказанных сигналов, ЭБУ вычисляет скорость автомобиля, а также ускорение и торможение автомобиля. четыре колеса. И ECU решает, следует ли активировать ABS / EBD или нет.

Функция TCS предотвращает проскальзывание колес в направлении движения, добавляя тормозное давление. и снижение крутящего момента двигателя по шине CAN. Функция TCS использует скорость вращения колеса. сигнал датчика для определения проскальзывания колеса до функции ABS.

Функция AYC предотвращает неустойчивое маневрирование автомобиля. Для определения транспортного средства маневр, функция AYC использует сигналы датчика маневра (датчик скорости рыскания, боковой датчик ускорения, датчик угла поворота рулевого колеса).

Если маневр автомобиля нестабилен (избыточная или недостаточная поворачиваемость), применяется функция AYC. тормозное давление на определенном колесе и отправить сигнал снижения крутящего момента двигателя с помощью МОЖЕТ.

После включения зажигания ЭБУ постоянно диагностирует отказ системы. (самодиагностика)Если обнаружен сбой системы, ЭБУ информирует водителя о сбое системы через контрольная лампа BRAKE/ABS/ESP. (отказоустойчивое предупреждение)

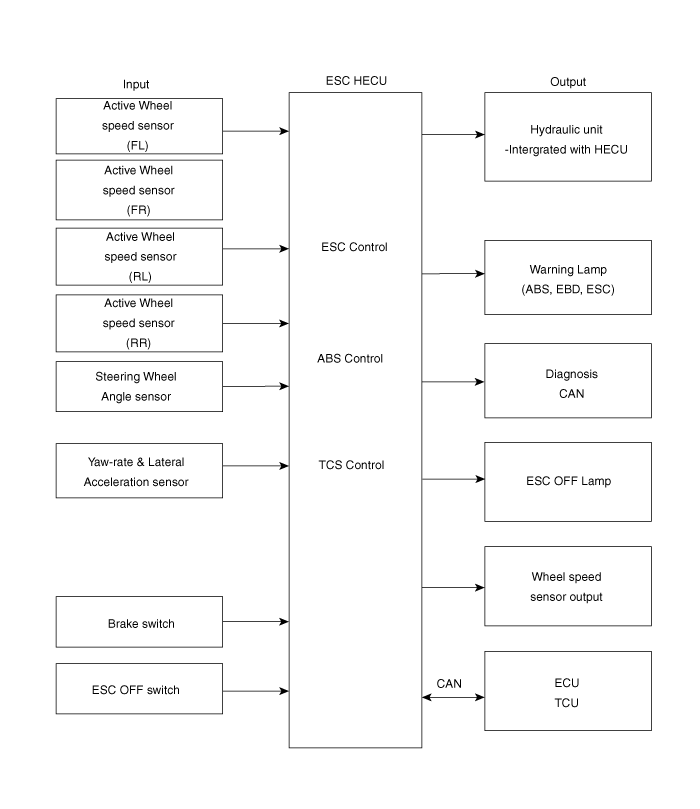
Диаграмма ввода и вывода

Режим работы ЭСП
Схема гидравлической системы ESP

1.

ESP не работает: Обычное торможение.

Соленоидный клапан
Преемственность
Клапан
Мотопомпа
Клапан ТК
В (НЕТ)
ВЫКЛЮЧЕННЫЙ
ОТКРЫТЬ
ВЫКЛЮЧЕННЫЙ
ВЫКЛЮЧЕННЫЙ
ВЫХОД (НЗ)
ВЫКЛЮЧЕННЫЙ
ЗАКРЫВАТЬ

2.

работа ЭСП

Соленоидный клапан
Преемственность
Клапан
Мотопомпа
Клапан ТК
недостаточная поворачиваемость
(Только внутри заднего колеса)
В (НЕТ)
ВЫКЛЮЧЕННЫЙ
ОТКРЫТЬ
НА
НА
ВЫХОД(НЗ)
ВЫКЛЮЧЕННЫЙ
ЗАКРЫВАТЬ
избыточная поворачиваемость
(Только снаружи переднего колеса)
В (НЕТ)
ВЫКЛЮЧЕННЫЙ
ОТКРЫТЬ
ВЫХОД(НЗ)
ВЫКЛЮЧЕННЫЙ
ЗАКРЫВАТЬ

Модуль контрольной лампы АБС

Активный модуль контрольной лампы АБС указывает на состояние самопроверки и неисправности. АБС. Контрольная лампа АБС должна гореть:

Во время фазы инициализации после IGN ON. (непрерывно 3 секунды).

В случае торможения работы АБС по отказу.

В режиме диагностики.

Когда разъем ECU отделен от ECU.

Лампа кластера горит, когда связь с модулем CAN невозможна.

Предупреждение EBD/стояночного тормоза Модуль лампы

Активный модуль контрольной лампы EBD указывает на состояние самопроверки и неисправности. из ЕБД. Однако, если переключатель стояночного тормоза включен, предупреждение EBD лампа всегда включена независимо от функций EBD. Контрольная лампа EBD должна быть на:

Во время фазы инициализации после IGN ON. (непрерывно 3 секунды).

Когда переключатель стояночного тормоза включен или уровень тормозной жидкости низкий.

Когда функция EBD вышла из строя.

В режиме диагностики.

Когда разъем ECU отделен от ECU.

Лампа кластера горит, когда связь с модулем CAN невозможна.

Функция ESP/предупреждение Лампа (система ESP)

Индикатор функции/предупреждения ESP указывает на состояние самопроверки и неисправности системы ESP. ЕСП.

Функция/контрольная лампа ESP загорается при следующих условиях:

Во время фазы инициализации после IGN ON. (непрерывно 3 секунды).

Когда функция ESP заблокирована из-за отказа системы.

Когда работает система ESP. (мигание - 2 Гц)

В режиме диагностики (кроме стандартного режима).

Лампа кластера горит, когда связь с модулем CAN невозможна.

Лампа отключения ESP (система ESP)

Лампа ESP Off указывает на самопроверку и рабочее состояние ESP.

Лампа ESP Off работает при следующих условиях:

В режиме инициализации после IGN ON. (непрерывно 3 секунды).

Лампа ESP Off загорается, когда водитель нажимает кнопку ESP Off.

Переключатель включения/выключения ESP (ESP система)

Переключатель ESP On/Off должен использоваться для переключения функции ESP между On/Off. состояния, основанные на вводе драйвера.

Переключатель включения/выключения должен быть нормально разомкнутым контактным выключателем мгновенного действия. Замкнутые контакты. переключите цепь на зажигание.

Начальное состояние функции ESP включено, и переключатель переключает состояние.

Принципиальные диаграммы
Схематические диаграммы
Подал заявку на EPB

Не применяется для EPB

Терминал Функция
Подал заявку на EPB

Пин №
Описание
1
Мощность двигателя насоса
2
Масса двигателя (RR)
3
Мощность двигателя (об.р.)
5
Питание переключателя EPB, сигнал 2
6
Питание переключателя EPB, сигнал 1
8
EPB Переключатель сигнала 3 отпустить
9
Сигнал переключателя EPB 4 отпустить
10
Вход сигнала Холла 1
11
Вход сигнала Холла 2
12
Масса двигателя (RL)
13
Мощность двигателя (RL)
14
Масса двигателя насоса
15
P-CAN Высокий
16
P-CAN Низкий
17
IGN1
18
ЕСП ВКЛ/ВЫКЛ
20
Сигнал включения/выключения AVH
21
Питание датчика Холла (5В)
22
Вход сигнала Холла 1
23
Масса датчика Холла
24
Вход сигнала Холла 2
25
Сигнал выключателя стоп-сигнала
26
Мощность датчика скорости вращения колеса (RL)
27
Масса датчика скорости вращения колеса (RL)
28
Мощность датчика скорости вращения колеса (FL)
29
Масса датчика скорости вращения колеса (FL)
30
В+
33
C-CAN Высокий
34
C-CAN Низкий уровень
37
Входной сигнал вакуумного переключателя
38
Выход датчика скорости колеса (RR)
39
Выходной сигнал вакуумного насоса
42
Мощность датчика скорости вращения колеса (RR)
43
Масса датчика скорости вращения колеса (RR)
44
Мощность датчика скорости вращения колеса (FR)
45
Масса датчика скорости вращения колеса (FR)
46
Земля

Не применяется для EPB

Пин №
Описание
1
Мощность двигателя насоса
2
P-CAN Низкий
13
Масса двигателя насоса
14
P-CAN Высокий
16
Сигнал выключателя стоп-сигнала
17
Выход датчика скорости вращения колеса (FR)
18
Мощность датчика скорости вращения колеса (FR)
19
Мощность датчика скорости вращения колеса (RR)
20
Масса сигнала датчика скорости вращения колеса (RL)
21
Масса сигнала датчика скорости вращения колеса (FL)
22
C-CAN Высокий
23
Сигнал включения/выключения ESP
25
Б +
29
IGN1
31
Масса сигнала датчика скорости вращения колеса (FR)
32
Масса сигнала датчика скорости вращения колеса (RR)
33
Мощность датчика скорости вращения колеса (RL)
34
Мощность датчика скорости вращения колеса (FL)
35
C-CAN Низкий уровень
38
Земля

Поиск неисправностей
Диагностика отказа
1.

В принципе, управление ESP и TCS запрещено при отказе ABS.

2.

При выходе из строя ESP или TCS запрещается только неисправное управление системой.

3.

Однако, когда реле электромагнитного клапана должно быть выключено в случае Неисправность ESP, см. отказоустойчивость ABS.

4.

Информация об отказоустойчивости АБС идентична отказоустойчивости в системах где ESP не установлен.

Память кода отказа

1.

Он сохраняет код до тех пор, пока подключено питание резервной лампы. (О)

2.

Он сохраняет код до тех пор, пока питание HCU включено. (ИКС)

Проверка неисправности

1.

Первоначальная проверка выполняется сразу после включения HECU.

2.

Проверка реле клапана производится сразу после включения IG2.

3.

Он выполняет проверку все время, пока включено питание IG2.

Контрмеры в Неудача

1.

Выключите систему, выполните следующие действия и подождите, пока HECU выключение.

2.

Выключите реле клапана.

3.

Остановите управление во время операции и не выполняйте никаких действий до тех пор, пока не нормальное состояние восстанавливается.

Сигнальная лампа горит

1.

Контрольная лампа ESP загорается на 3 секунды после включения зажигания.

2.

Лампа функции ESP мигает, когда ESP Act.

3.

Если произошел сбой ESP, включается предупреждение ESP.

4.

Лампа ESP OFF загорается в случае

Выключение ESP

3 секунды после включения зажигания

Стандартный поток диагностики Поиск неисправностей

Примечания относительно Диагноз

Явления, перечисленные в следующей таблице, не являются ненормальными.

Состояние
Объяснение
Звук проверки системы
При запуске двигателя иногда слышен глухой стук
изнутри моторного отсека. Это связано с тем, что работа системы
выполняется проверка.
Звук работы АБС
1)

Звук работы мотора внутри гидроблока АБС (свист).

2)

Звук генерируется вместе с вибрацией педали тормоза (скребком).

3)

При работе АБС звук исходит от шасси автомобиля. из-за

многократное нажатие и отпускание тормоза

(Стук: подвеска; скрип: шины)

Работа ABS (длинный тормозной путь)
Для дорожных покрытий, таких как заснеженные и гравийные дороги, тормозной путь для автомобилей с ABS иногда может быть дольше, чем для других автомобилей. Соответственно, посоветуйте клиенту безопасно ездить по таким дорогам, опустив скорость автомобиля.
Условия обнаружения диагноза могут различаться в зависимости от кода диагноза. При проверке признака неисправности после
диагностический код был стерт, убедитесь, что перечисленные требования в "Комментарии" встречаются.

Контрольный лист АБС

Таблица признаков проблем

Симптом
Подозрительная зона
АБС не работает.
Только когда 1–4 все в норме, а проблема все еще возникает, замените HECU.
1)

Проверьте код неисправности, подтверждающий, что выводится нормальный код.

2)

Цепь источника питания.

3)

Цепь датчика скорости.

4)

Проверьте гидравлический контур на наличие утечек.

АБС не работает периодически.
Только когда 1–4 все в норме, а проблема все еще возникает, замените исполнительный механизм АБС в сборе.
1)

Проверьте код неисправности, подтверждающий, что выводится нормальный код.

2)

Цепь датчика скорости вращения колеса.

3)

Цепь выключателя стоп-сигналов.

4)

Проверьте гидравлический контур на наличие утечек.

Связь с КДС
это невозможно.
(Связь с любой системой
невозможно)
1)

Цепь источника питания

2)

CAN-линия

Связь с КДС
это невозможно.
(Связь только с ABS
невозможно)
1)

Цепь источника питания

2)

CAN-линия

3)

HECU

Когда ключ зажигания включен
(двигатель выключен),
контрольная лампа АБС не загорается.
1)

Цепь контрольной лампы АБС

2)

HECU

Даже после запуска двигателя АБС
сигнальная лампа остается включенной.
1)

Цепь контрольной лампы АБС

2)

HECU


Во время работы ABS педаль тормоза может вибрировать или не уметь впадать в депрессию. Такие явления обусловлены периодическим изменения гидравлического давления в тормозной магистрали для предотвращения колеса от блокировки и не является аномалией.

Состояние обнаружения

Симптомы неисправности
Возможная причина
Работа тормозов зависит от условий вождения и дорожного покрытия. условия, поэтому диагностика может быть затруднена. Однако, если отображается обычный код неисправности, проверьте следующую возможную причину. Когда проблема все еще возникает, замените модуль управления ESP.

Неисправная цепь источника питания

Неисправность цепи датчика скорости вращения колеса

Неисправность гидравлического контура из-за утечки

Неисправный HECU


Процедуры проверки

Проверка кода неисправности

1.

Подсоедините KDS к разъему канала передачи данных и поверните ключ зажигания. НА.

2.

Убедитесь, что выводится код DTC.

3.

Выводится ли код DTC?

▶ Проверьте источник питания схема.

▶ Сотрите код неисправности и повторно проверьте с помощью КДС.

Проверьте источник питания схема

1.

Отсоедините разъем от модуля управления ESP.

2.

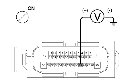
Включите зажигание, измерьте напряжение между контактом 29 разъема со стороны жгута проводов модуля управления ESP и массы кузова.

Спецификация: примерно B+

3.

Напряжение соответствует спецификации?

▶ Проверьте цепь заземления.

▶ Проверьте жгут или разъем между предохранителем (10А) в моторном отсеке блок и модуль управления ESP. При необходимости отремонтируйте.

Проверьте цепь заземления

1.

Отсоедините разъем от модуля управления ESP.

2.

Проверьте целостность цепи между выводами 13, 38 модуля управления ESP. разъем со стороны жгута проводов и точка заземления.

3.

Есть ли преемственность?

▶ Проверьте скорость вращения колеса. цепь датчика.

▶ Устраните разрыв в провод и точка заземления.

Проверьте скорость колеса цепь датчика

1.

См. процедуры поиска и устранения неисправностей DTC.

2.

Это нормально?

▶ Проверьте гидравлическую цепь на утечку.

▶ Отремонтируйте или замените датчик скорости колеса.

Проверьте гидравлику цепь на утечку

1.

Обратитесь к гидравлическим линиям.

2.

Проверьте герметичность гидравлических линий.

3.

Это нормально?

▶ Проблема остается случае, замените модуль управления ESP.

▶ Отремонтируйте гидравлическую линии на утечку.

Состояние обнаружения

Симптомы неисправности
Возможная причина
Работа тормозов зависит от условий вождения и дорожного покрытия. условия, поэтому диагностика может быть затруднена. Однако, если отображается обычный код неисправности, проверьте следующую возможную причину. Когда проблема все еще возникает, замените модуль управления ESP.

Неисправная цепь источника питания

Неисправность цепи датчика скорости вращения колеса

Неисправность гидравлического контура из-за утечки

Неисправный HECU


Процедуры проверки

Проверка кода неисправности

1.

Подсоедините KDS к разъему канала передачи данных и поверните ключ зажигания. НА.

2.

Убедитесь, что выводится код DTC.

3.

Выводится ли код DTC?

▶ Проверьте скорость вращения колеса. цепь датчика.

▶ Сотрите код неисправности и повторно проверьте с помощью КДС.

Проверьте скорость колеса цепь датчика

1.

См. процедуры поиска и устранения неисправностей DTC.

2.

Это нормально?

▶ Проверьте стоп-сигнал. схема переключателя.

▶ Отремонтируйте или замените датчик скорости колеса.

Проверьте стоп-сигнал переключатель цепи

1.

Убедитесь, что стоп-сигнал загорается, когда педаль тормоза нажата и поворачивается. гаснет при отпускании педали тормоза.

2.

Измерьте напряжение между клеммой 23 жгута проводов модуля управления ESP. боковой разъем и масса кузова при нажатой педали тормоза.

Спецификация: примерно B+

3.

Напряжение соответствует спецификации?

▶ Проверьте гидравлическую цепь на утечку.

▶ Отремонтируйте стоп-сигнал выключатель. Устранить разрыв провода между модулем управления ESP. и выключатель стоп-сигналов.

Проверьте гидравлику цепь на утечку

1.

Обратитесь к гидравлическим линиям.

2.

Проверка герметичности гидравлических линий.

3.

Это нормально?

▶ Проблема остается случае, замените модуль управления ESP.

▶ Отремонтируйте гидравлическую линии на утечку.

Состояние обнаружения

Симптомы неисправности
Возможная причина
Возможная неисправность в системе питания (в т.ч. заземления) для диагностики линия.

Разрыв в проводе

Плохая земля

Неисправная цепь источника питания


Процедуры проверки

Проверьте цепь питания для диагностики

1.

Измерьте напряжение между контактом 16 разъема канала передачи данных и заземление тела.

Спецификация: примерно B+

2.

Напряжение соответствует спецификации?

▶ Проверьте цепь заземления. для диагностики.

▶ Устраните разрыв в проволока. Проверьте и замените предохранитель от соединения моторного отсека блокировать.

Проверьте цепь заземления для диагностики

1.

Проверьте целостность цепи между выводом 4 разъема канала передачи данных и заземление тела.

2.

Есть ли преемственность?

▶ Устраните разрыв в провод между клеммой 4 разъема канала передачи данных и точкой заземления.

Состояние обнаружения

Симптомы неисправности
Возможная причина
Если связь с KDS невозможна, причиной может быть обрыв в цепи питания HECU или обрыв в выходной цепи диагностики.

Разрыв в проводе

Неисправный HECU

Неисправная цепь источника питания


Процедуры проверки

Проверьте целостность линии CAN.

1.

Отсоедините разъем от модуля управления ESP.

2.

Проверьте целостность цепи между выводами 26, 14 модуля управления ESP. разъем и 3, 11 разъема канала передачи данных.

3.

Есть ли преемственность?

▶ Проверьте источник питания модуля управления ESP.

▶ Устраните разрыв в проволока.

Проверьте источник питания модуля управления ESP

1.

Отсоедините разъем от модуля управления ESP.

2.

Включите зажигание, измерьте напряжение между контактом 29 разъема со стороны жгута проводов модуля управления ESP и массы кузова.

Спецификация: примерно B+

3.

Напряжение соответствует спецификации?

▶ Проверьте наличие плохого заземления.

▶ Проверьте жгут или разъем между предохранителем (10А) в моторном отсеке блок и модуль управления ESP. При необходимости отремонтируйте.

Проверьте на плохое заземление

1.

Проверьте целостность цепи между выводом 4 разъема канала передачи данных и наземная точка.

▶ Замените регулятор ESP. модуль и перепроверьте.

▶ Устраните разрыв в провод или плохое заземление

Состояние обнаружения

Симптомы неисправности
Возможная причина
Когда в блоке HECU протекает ток, контрольная лампа АБС выключается.
на OFF в качестве начальной проверки. Поэтому, если лампа не загорается,
причиной может быть обрыв в цепи питания лампы, перегоревшая лампочка,
обрыв в обеих цепях между контрольной лампой АБС и
HECU и неисправный HECU.

Неисправная лампа контрольной лампы ABS

Перегоревший предохранитель связан с АБС в подкапотном пространстве. блокировать

Неисправный модуль контрольной лампы ABS

Неисправный HECU


Процедуры проверки

Проверка проблемы

1.

Отсоедините разъем от модуля управления ESP и включите зажигание. включить.

2.

Контрольная лампа АБС горит?

▶ Проверьте еще раз после замена ESP HECU.

▶ Проверьте источник питания для контрольной лампы АБС.

Проверьте источник питания для контрольной лампы АБС

1.

Отсоедините разъем комбинации приборов (M08) и включите зажигание. включить.

2.

Измерьте напряжение между клеммой (M08) 39 жгута проводов комбинации приборов. боковой разъем и масса кузова.

Спецификация: примерно B+

3.

Напряжение соответствует спецификации?

▶ Проверьте цепь CAN. сопротивление контрольной лампы АБС.

▶ Проверьте, не перегорел ли предохранитель.

Проверьте цепь CAN сопротивление контрольной лампы АБС

1.

Отсоедините разъем комбинации приборов (M08) и включите зажигание. выключить.

2.

Измерьте сопротивление между контактами (M08) 32 и 33 комбинации приборов. разъем со стороны жгута.

Спецификация: 60 Ом

3.

Сопротивление соответствует спецификации?

▶ Отремонтировать предупреждение ABS лампа накаливания или комбинация приборов в сборе.

▶ Проверьте CAN электрическая цепь контрольной лампы АБС.

Проверьте цепь CAN проводка контрольной лампы АБС

1.

Отсоедините разъем комбинации приборов (M08) и разъем ESP HECU, а затем выключите зажигание.

2.

Проверьте целостность цепи между клеммой (M08) 32 жгута проводов комбинации приборов. боковой разъем и контакт 26 со стороны жгута ESP HECU.

Проверьте целостность цепи между клеммой (M08) 33 жгута проводов комбинации приборов. боковой разъем и контакт 14 со стороны жгута ESP HECU.

Спецификация: Ниже 1 Ом

3.

Сопротивление соответствует спецификации?

▶ Отремонтируйте короткую проводки между выводами 26, 14 разъема жгута ESP HECU и модуль контрольной лампы АБС.

▶ Отремонтируйте открытый проводка между контактами 26, 14 разъема жгута ESP HECU и Модуль контрольной лампы АБС.

Состояние обнаружения

Симптомы неисправности
Возможная причина
Если блок HECU обнаруживает неисправность, он зажигает контрольную лампу АБС,
одновременно запрещая управление ABS. В это время HECU записывает
Код неисправности в памяти. Несмотря на то, что выводится нормальный код, ABS
контрольная лампа продолжает гореть, то причина может быть в обрыве
или короткое замыкание в цепи контрольной лампы АБС.

Разрыв в проводе

Неисправная сборка комбинации приборов

Неисправный модуль контрольной лампы ABS

Неисправный HECU


Процедуры проверки

Проверьте вывод кода неисправности.

1.

Подключите KDS к 16-контактному разъему канала передачи данных, расположенному за водительским сиденьем. боковая кик-панель.

2.

Проверьте вывод DTC с помощью KDS.

3.

Выводится ли код неисправности?

▶ Выполните поиск и устранение неисправностей DTC. процедуру (см. поиск и устранение неисправностей DTC).

▶ Проверьте цепь CAN. сопротивление контрольной лампы АБС.

Проверьте цепь CAN сопротивление контрольной лампы АБС

1.

Отсоедините разъем комбинации приборов (M08) и включите зажигание. выключить.

2.

Измерьте сопротивление между контактами (M08) 32 и 33 комбинации приборов. разъем со стороны жгута.

Спецификация: 60 Ом

3.

Сопротивление соответствует спецификации?

▶ Отремонтировать предупреждение ABS лампа накаливания или комбинация приборов в сборе.

▶ Проверьте цепь CAN. проводка контрольной лампы АБС.

Проверьте цепь CAN проводка контрольной лампы АБС

1.

Отсоедините разъем комбинации приборов (M08) и разъем ESP HECU, а затем выключите зажигание.

2.

Проверьте целостность цепи между клеммой (M08) 32 жгута проводов комбинации приборов. боковой разъем и контакт 26 со стороны жгута ESP HECU.

Проверьте целостность цепи между клеммой (M08) 33 жгута проводов комбинации приборов. боковой разъем и контакт 14 со стороны жгута ESP HECU.

Спецификация: Ниже 1 Ом

3.

Сопротивление соответствует спецификации?

▶ Устраните короткое замыкание проводки. между выводами 26, 14 разъема жгута проводов ESP HECU и предупреждением ABS модуль лампы.

▶ Устраните разрыв проводки. между выводами 26, 14 разъема жгута проводов ESP HECU и предупреждением ABS модуль лампы.

Электрический стояночный тормоз (EPB)
Описание и работа Описание Описание ЭПБ EPB — это электронный стояночный тормоз. EPB отличается от существующей парковки системы, работающие с педалью тормоза...
Система аварийной сигнализации
Описание и работа Описание Внедрение быстрого система предупреждения о торможении (ESS) В случае резкого торможения водителем стоп-сигнал или сигнал поворота мигают, чтобы предостеречь от...
Дополнительная информация:

Руководство по эксплуатации Kia Stinger CK 2018-2023: Windows


(1) Переключатель электрического стеклоподъемника двери водителя (2) Выключатель электрического стеклоподъемника двери переднего пассажира (3) Переключатель электрического стеклоподъемника задней двери (левой) (4) Переключатель электрического стеклоподъемника задней двери (правой) (5) Открытие и закрытие окна (6) Автоматическое подъем/опускание стеклоподъемника (окно водителя и пассажира) (7) Блокировка стеклоподъемника ...

Kia Stinger CK 2018-2023 Service Manual: Технические характеристики


Сервисные данные Сервисные данные Передняя подвеска Элемент Спецификация Тип подвески Макферсон многозвенный Амортизатор Тип HPD (высокопроизводительный демпфер) ECS (электронный контроль ...