Kia Stinger: система смазки / моторное масло

Kia Stinger CK 2018-2023 Руководство по ремонту / Механическая система двигателя / Система смазки / Машинное масло

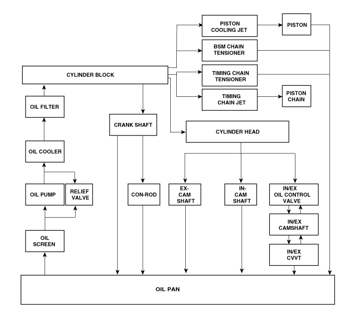
Диаграмма потока
Диаграмма потока

Процедуры ремонта
Замена масла и фильтра

Длительный и повторяющийся контакт с минеральным маслом приведет к удаление естественных жиров с кожи, что приводит к сухости, раздражению и дерматит. Кроме того, отработанное моторное масло содержит потенциально вредных примесей, которые могут вызвать рак кожи.

Соблюдайте осторожность, чтобы свести к минимуму длину и частоту контакта кожи с отработанным маслом. Носите защитную одежду и перчатки. Тщательно промойте кожу водой с мылом или используйте безводную очиститель для рук для удаления отработанного моторного масла. Не используйте бензин, разбавители или растворители.

В целях защиты окружающей среды отработанное масло и отработанный масляный фильтр должны утилизироваться только в специально отведенных для этого местах.

1.

Снимите переднюю и заднюю нижнюю крышку моторного отсека.

(См. Двигатель и трансмиссия в сборе — «Под крышкой моторного отсека»)

2.

Слейте моторное масло.

(1)

Снимите крышку заливной горловины (А).

(2)

Снимите пробку слива масла (А) и слейте масло в емкость.

3.

Снимите масляный фильтр (A) с помощью SST (09263-2E000, ключ для масляного фильтра).

(1)

Снимите масляный фильтр.

(2)

Проверьте и очистите поверхность установки масляного фильтра.

(3)

Убедитесь, что номер детали нового масляного фильтра такой же, как у старого. один.

(4)

Нанесите чистое моторное масло на прокладку нового масляного фильтра.

(5)

Слегка завинтите масляный фильтр на место и затяните его, пока прокладка касается седла.

(6)

Затяните его с моментом, указанным ниже.

Момент затяжки :

11,8–15,7 Н·м (1,2–1,6 кгс·м, 8,7–11,6 фунт-фут)

4.

Установите пробку сливного отверстия с новой прокладкой.

Момент затяжки :

34,3–44,1 Н·м (3,5–4,5 кгс·м, 25,3–32,5 фунт·фут)

5.

Залейте новое моторное масло, предварительно сняв датчик уровня моторного масла.

Емкость

Общий :

6,3 л (6,66 кварты США, 5,54 литр. кварты, 1,66 галлона США)

Маслосборник :

5,3 л (5,60 кварты США, 4,66 литр. кварты, 1,40 галлона США)

Слить и заполнить, включая масляный фильтр:

5,7 л (6,02 кварты США, 5,01 литр. кварты, 1,50 галлона США)

6.

Установите крышку маслозаливной горловины.

7.

Запустите двигатель и проверьте наличие утечек масла, а также проверьте указатель уровня масла или световой индикатор. для индикации давления масла.

8.

Повторно проверьте уровень моторного масла.

9.

Чтобы сбросить интервал обслуживания до рекомендуемого пробега, см. раздел сервисного режима в руководстве пользователя для процедуры (если применимо).

осмотр
1.

Проверьте качество моторного масла.

Проверьте износ масла, попадание воды, обесцвечивание или разжижение. Если качество явно плохое, замените масло.

2.

Проверьте уровень моторного масла.

После прогрева двигателя остановите двигатель, подождите 5 минут, затем проверьте масло. уровень. Уровень масла должен быть между отметками «L» и «F» на щупе. Если уровень низкий, проверьте наличие утечек и долейте масло до отметки «F».

Не заливайте моторное масло выше отметки «F».

Выбор двигателя Масло

Рекомендация: ACEA C2 или выше / 0W-30

Разрешенный сорт масла

- API SL или выше

- ILSAC GF-3 или выше

- ACEA A3 или выше

Допустимая вязкость масла по SAE

Для лучшей производительности и максимальной защиты всех типов операций, Выбирайте только те смазочные материалы, которые:

1)

Удовлетворяют требованиям классификации API, ILSAC или ACEA.

2)

Иметь надлежащий номер класса SAE для ожидаемой температуры окружающей среды. диапазон.

3)

Смазочные материалы, не имеющие ни номера класса SAE, ни API, Классификация ILSAC, ACEA на контейнере не должна быть использовал.

Система смазки
...
Масляный радиатор
Процедуры ремонта Удаление 1. Слейте охлаждающую жидкость. (См. Система охлаждения — «Охлаждающая жидкость») 2. Снимите масляный фильтр. (См. Lubricati...
Дополнительная информация:

Kia Stinger CK 2018-2023 Руководство по техническому обслуживанию: Датчик уровня топлива в сборе


Процедуры ремонта Удаление Главный топливный датчик нельзя заменить самостоятельно; его следует заменить с топливным насосом в сборе. (См. Система подачи топлива — «Топливный насос низкого давления») ...

Kia Stinger CK 2018-2023 Руководство по обслуживанию: Модуль задней двери


Компоненты и расположение компонентов Расположение компонента 1. Модуль задней двери Процедуры ремонта Замена Наденьте перчатки, чтобы защитить руки. ...