Kia Stinger: адаптивная система переднего освещения (AFS) / блок адаптивной системы переднего освещения (AFS)

Kia Stinger CK 2018-2023 Руководство по ремонту / Электрическая система кузова / Адаптивная система переднего освещения (AFS) / Блок адаптивной системы переднего освещения (AFS)

Компоненты и расположение компонентов
Компоненты

Принципиальные диаграммы
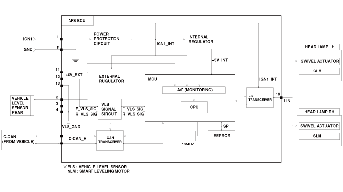
Схематические диаграммы

Описание и работа
Описание

Блок AFS (ЭБУ)

AFS, расположенный в модуле кабины, предоставляет информацию о транспортном средстве (рулевое колесо). сигнал, скорость автомобиля, наклон автомобиля).

На основе предоставленной информации он рассчитывает алгоритм и регулирует ближний свет H/лампа.

Он передает информацию о вождении по протоколу LIN, работает в отказоустойчивом режиме. режим реакции В случае отказа системы.

Процедуры ремонта
Удаление

При поддевании отверткой с плоским наконечником или с помощью накладки инструмент, оберните его защитной лентой и наклейте защитную ленту вокруг соответствующие части, чтобы предотвратить повреждение.

Используйте инструмент для снятия пластиковой панели, чтобы удалить элементы внутренней отделки. для защиты от повреждения поверхности.

Будьте осторожны, чтобы не погнуть и не поцарапать обивку и панели.

1.

Отсоедините отрицательную (-) клемму аккумуляторной батареи.

2.

Снимите боковую панель подушки безопасности пассажира.

(См. Кузов — «Центральная панель аварийной площадки»)

3.

Снимите боковой вентиляционный канал [RH] (A) после ослабления крепежного винта.

4.

Отсоедините разъем (А) блока AFS после ослабления крепежного болта.

5.

Снимите блок AFS (А).

Монтаж
1.

Установите блок AFS.

2.

Подсоедините разъем блока AFS.

3.

Установите боковой вентиляционный канал [RH].

4.

Установите панель боковой панели пассажира.

5.

Подсоедините отрицательную (-) клемму аккумуляторной батареи.

Убедитесь, что разъемы подключены правильно.

Адаптивная система переднего освещения (AFS)
Технические характеристики Технические характеристики Содержание Ценить АФС Номинальное напряжение 13,5 В постоянного тока Максимальное напряжение 16,5 ...
Датчик высоты
Компоненты и расположение компонентов Компоненты Описание и работа Описание Датчик высоты определяет изменение высоты автомобиля и отправляет этот сигнал в ЭБУ AFS. Он ...
Дополнительная информация:

Kia Stinger CK 2018-2023 Руководство по техническому обслуживанию: Линия хладагента


Процедуры ремонта Замена 1. Слейте хладагент из системы охлаждения. 2. Замените неисправную трубку или шланг. Немедленно закройте открытые фитинги ...

Kia Stinger CK 2018-2023 Service Manual: Наружное зеркало заднего вида


Компоненты и расположение компонентов Расположение компонента 1. Наружное зеркало заднего вида Процедуры ремонта Замена Наденьте перчатки, чтобы защитить руки. ...