Kia Soul EV: Система задней подвески / Процедуры ремонта заднего амортизатора

Kia Soul EV (PS EV) 2015-2020 Руководство по техническому обслуживанию / Подвесная система / Система задней подвески / Процедуры ремонта заднего амортизатора

Замена
1.
Слегка ослабьте колесные гайки. Поднимите автомобиль и убедитесь, что он надежно закреплен.
2.
Снимите переднее колесо и шину (А) с передней ступицы.

Момент затяжки :
88,2 ~ 107,8 Н·м (9,0 ~ 11,0 кгс·м, 65,0 ~ 79,5 фунт-фут)

Будьте осторожны, чтобы не повредить болты ступицы при снятии заднего колеса и шины (А).
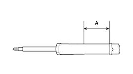
3.
Ослабьте верхний болт крепления заднего амортизатора (А).

Момент затяжки :
49,0 ~ 63,7 Н·м (5,0 ~ 6,5 кгс·м, 36,2 ~ 47,0 фунт-фут)

4.
Ослабьте болт и снимите задний амортизатор (А) с оси с торсионной балкой.

Момент затяжки :
98,1 ~ 117,7 Н·м (10,0 ~ 12,0 кгс·м, 72,3 ~ 86,8 фунт-фут)

осмотр
1.
Проверьте резиновые детали на предмет износа и износа.
2.
Сожмите и выдвиньте шток поршня (А) и убедитесь в отсутствии аномального сопротивления или необычного звука во время работы.

Утилизация
1.
Полностью выдвиньте шток поршня.
2.
Просверлите отверстие в секции (А) для удаления газа из баллона.

Выходящий газ безвреден, но будьте осторожны со стружкой, которая может лететь при сверлении.
Компоненты заднего амортизатора и их расположение
Компоненты 1. Амортизатор в сборе 2. Пылезащитный чехол 3. Отбойник 4. Чашка 5. Шайба6. Узел изолятора 7. Контргайка ...
Компоненты задней винтовой пружины и расположение компонентов
Компоненты 1. Пружинная нижняя накладка2. Весна3. Пружинная верхняя накладка ...
Дополнительная информация:

Kia Soul EV (PS EV) 2015-2020 Руководство по техническому обслуживанию: Порядок ремонта


Удаление 1. Отсоедините отрицательную (-) клемму аккумуляторной батареи. 2. Снимите рулевое колесо. (См. Система рулевого управления — «Рулевое колесо») 3. Снимите верхний и нижний кожухи рулевой колонки. (См. Кузов — «Панель кожуха рулевой колонки») 4. Снимите часовую пружину. (См. Рестра...

Kia Soul EV (PS EV) 2015-2020 Руководство по обслуживанию: Технические характеристики


Спецификация ПараметрСпецификацияНоминальное напряжение3 В постоянного токаРабочее напряжение 2,7 В ~ 3,3 В постоянного токаРабочая температура-20°C ~ +60°C (-4°F ~ +140°F)ВЧ модуляцияFSKLF модуляцияЧастота ASKRF433,92 МГцБатарея CR2032 (3 В / 1 шт.)Дальность передачи30 м или болееСрок службы батареи2 года или более (по 20 раз в день...