Kia Soul EV: Процедуры ремонта заднего сиденья / чехла подушки заднего сиденья

Kia Soul EV (PS EV) 2015-2020 Руководство по техническому обслуживанию / Кузов (внутри и снаружи) / Заднее сидение / Процедуры ремонта чехла подушки заднего сиденья

Замена
Наденьте перчатки, чтобы защитить руки.
Поддевая плоской отверткой, оберните ее защитную ленту и наклейте защитную ленту вокруг соответствующих частей, чтобы предотвратить повреждение.
Используйте инструмент для снятия пластиковой панели, чтобы удалить детали внутренней отделки, чтобы не повредить поверхность.
Будьте осторожны, чтобы не погнуть и не поцарапать обивку и панели.
1.
Снимите подушку заднего сиденья в сборе.
(См. Заднее сиденье — «Заднее сиденье в сборе»)
2.
Ослабьте крепежные винты блока ЭБУ отопителя (А).
3.
Отсоедините разъем блока ЭБУ отопителя (В) и снимите монтажные зажимы (С).
[левый]

[Правый]

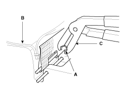
4.
Снимите кольцевой зажим (A), ленту-липучку (C) на задней части спинки сиденья, а затем снимите чехол подушки заднего сиденья (B).
[Задняя сторона]

[Лицевая сторона]

5.
Установите в порядке, обратном снятию.
Во избежание образования складок убедитесь, что материал равномерно натянут на чехол (B), прежде чем закреплять зажимы (A).
Замените кольцевые зажимы новыми с помощью специального инструмента (C) (09880-4F000).

Компоненты чехла подушки заднего сиденья и расположение компонентов
Расположение компонента 1. Чехол подушки заднего сиденья ...
Компоненты замка заднего сиденья и их расположение
Расположение компонента 1. Защелка заднего сиденья в сборе ...
Дополнительная информация:

Kia Soul EV (PS EV) 2015-2020 Руководство по техническому обслуживанию: Бортовое зарядное устройство (OBC) Процедуры ремонта


Удаление • Обязательно прочтите и соблюдайте «Общую информацию по технике безопасности». и осторожность» перед выполнением любых работ, связанных с высоким напряжением. система. Несоблюдение инструкций по технике безопасности может привести к серьезным электрические травмы. • Быть уверенным ...

Kia Soul EV (PS EV) 2015-2020 Руководство по техническому обслуживанию: Порядок ремонта


Удаление 1. Отсоедините отрицательную (-) клемму аккумуляторной батареи. 2. Снимите крышку моторного отсека. (См. Двигательная система — «Под крышкой») 3. Снимите звуковой сигнал (А) после отсоединения крепежного болта и разъема. Монтаж 1. Установите сирены после подсоединения разъемов сирены. ...