Kia Soul EV: Процедуры ремонта заднего сиденья/чехла спинки заднего сиденья

Kia Soul EV (PS EV) 2015-2020 Руководство по техническому обслуживанию / Кузов (внутри и снаружи) / Заднее сидение / Порядок ремонта спинки заднего сиденья

Замена
[левый]
Наденьте перчатки, чтобы защитить руки.
Поддевая плоской отверткой, оберните ее защитную ленту и наклейте защитную ленту вокруг соответствующих частей, чтобы предотвратить повреждение.
Используйте инструмент для снятия пластиковой панели, чтобы удалить детали внутренней отделки, чтобы не повредить поверхность.
Будьте осторожны, чтобы не погнуть и не поцарапать обивку и панели.
1.
Снимите спинку заднего сиденья в сборе [LH].
(См. Заднее сиденье — «Заднее сиденье в сборе»)
2.
Нажмите на стопорный штифт (В), снимите подголовник заднего сиденья (А).

3.
С помощью отвертки или съемника снимите складывающуюся рамку заднего сиденья (А).

4.
С помощью отвертки или съемника снимите центральную крышку заднего ремня безопасности (А).

5.
С помощью отвертки или съемника снимите декоративную накладку анкера страховочного троса (A).

6.
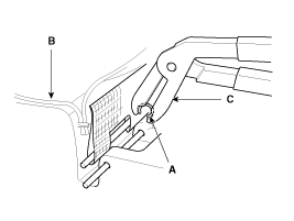
С помощью отвертки или съемника снимите петлю втулки спинки заднего сиденья (А).

7.
Снимите защиту (А), расположенную в нижней части спинки заднего сиденья.

8.
Отстегните молнию на задней обивке спинки сиденья, расположенной сбоку (А), и потяните ее вверх.

9.
Вытяните крючки (А) на раме спинки заднего сиденья.

10.
Выверните наизнанку обивку спинки заднего сиденья. Затем вытащите направляющие подголовника (A), зажимая обе стороны нижней части подголовника. направляющие и снимите их.

11.
Снимите обивку спинки заднего сиденья (А) с рамы спинки заднего сиденья (В).

12.
Снимите зажим (A) с липучкой (B) на задней части спинки сиденья, а затем снимите обивку спинки заднего сиденья (C).

13.
Установите в порядке, обратном снятию.
Во избежание образования складок убедитесь, что материал равномерно натянут на чехол (B), прежде чем закреплять зажимы (A).
Замените кольцевые зажимы новыми с помощью специального инструмента (C) (09880-4F000).

[Правый]
Наденьте перчатки, чтобы защитить руки.
Поддевая плоской отверткой, оберните ее защитную ленту и наклейте защитную ленту вокруг соответствующих частей, чтобы предотвратить повреждение.
Используйте инструмент для снятия пластиковой панели, чтобы удалить детали внутренней отделки, чтобы не повредить поверхность.
Будьте осторожны, чтобы не погнуть и не поцарапать обивку и панели.
1.
Снимите спинку заднего сиденья в сборе [RH].
(См. Заднее сиденье — «Заднее сиденье в сборе»)
2.
Нажмите на стопорный штифт (В), снимите подголовник заднего сиденья (А).

3.
С помощью отвертки или съемника снимите складывающуюся рамку заднего сиденья (А).

4.
С помощью отвертки или съемника снимите декоративную накладку анкера страховочного троса (A).

5.
С помощью отвертки или съемника снимите петлю втулки спинки заднего сиденья (А).

6.
Снимите защиту (А), расположенную в нижней части спинки заднего сиденья.

7.
Отстегните молнию на задней обивке спинки сиденья, расположенной сбоку (А), и потяните ее вверх.

8.
Вытяните крючок (А) на раме спинки заднего сиденья.

9.
Выверните наизнанку обивку спинки заднего сиденья. Затем вытащите направляющие подголовника (A), зажимая обе стороны нижней части подголовника. направляющие и снимите их.

10.
Снимите обивку спинки заднего сиденья (А) с рамы спинки заднего сиденья (В).

11.
Снимите зажимы для боровых колец (A), ленту-липучку (B) на задней части спинки сиденья, а затем снимите обивку спинки сиденья (C).

12.
Установите в порядке, обратном снятию.
Во избежание образования складок убедитесь, что материал равномерно натянут на чехол (B), прежде чем закреплять зажимы (A).
Замените кольцевые зажимы новыми с помощью специального инструмента (C) (09880-4F000).

Компоненты и расположение компонентов обивки спинки заднего сиденья
Расположение компонента 1. Обивка спинки заднего сиденья [левая]2. Обивка спинки заднего сиденья [RH] ...
Компоненты чехла подушки заднего сиденья и расположение компонентов
Расположение компонента 1. Чехол подушки заднего сиденья ...
Дополнительная информация:

Kia Soul EV (PS EV) 2015-2020 Service Manual: Компоненты и расположение компонентов


Индекс расположения компонентов Машинное отделение [Без теплового насоса] 1. Ресивер-осушитель2. Конденсатор3. Датчик давления кондиционера (APT)4. Сервисный порт (низкое давление)5. Сервисный порт (высокое давление)6. Всасывающая и жидкостная трубка7. Расширительный клапан8. Всасывающая труба9. Всасывающий шланг10. Электрический компрессор кондиционера [...

Kia Soul EV (PS EV) 2015-2020 Руководство по техническому обслуживанию: Процедуры ремонта электродвигателя стеклоподъемника


осмотр Электродвигатель переднего стеклоподъемника 1. Отсоедините отрицательную (-) клемму аккумуляторной батареи. 2. Снимите обивку передней двери. (См. Кузов — «Облицовка передней двери») 3. Отсоедините разъем (А) от двигателя. (A : Безопасность, B : Стандарт) 4. Подсоедините клеммы двигателя напрямую к аккумуляторной батарее...