Kia Soul EV: Система передней подвески / Процедуры ремонта передних стоек в сборе

Kia Soul EV (PS EV) 2015-2020 Руководство по техническому обслуживанию / Подвесная система / Система передней подвески / Процедуры ремонта передних стоек в сборе

Замена
1.
Слегка ослабьте колесные гайки.
Поднимите автомобиль и убедитесь, что он надежно закреплен.
2.
Снимите переднее колесо и шину (А) с передней ступицы.

Момент затяжки:
88,3 ~ 107,9 Н·м (9,0 ~ 11,0 кгс·м, 65,1 ~ 79,6 фунт-фут)

Будьте осторожны, чтобы не повредить болты ступицы при снятии переднего колеса и шины (А).
3.
Ослабьте болты (А, В) и снимите датчик скорости вращения колеса.

Момент затяжки:
6,8 ~ 10,7 Н·м (0,7 ~ 1,1 кгс·м, 5,0 ~ 7,9 фунт-фут)

4.
Ослабьте болты кронштейна тормозного шланга (А).

Момент затяжки:
8,8 ~ 13,7 Н·м (0,9 ~ 1,4 кгс·м, 6,5 ~ 10,1 фунт-фут)

5.
Отсоедините стойку стабилизатора (А) от передней стойки в сборе после ослабления гайки (В).

Момент затяжки:
98,1 ~ 117,7 Н·м (10,0 ~ 12,0 кгс·м, 72,3~86,8 фунт-фут)

6.
Снимите верхнюю крышку капота.
(См. Корпус — «Верхняя крышка кожуха»)
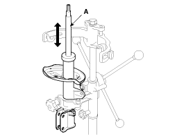
7.
Отсоедините узел передней стойки (А) от поворотного кулака, ослабив болт и гайку.

Момент затяжки:
137,3 ~ 156,9 Н·м (14,0 ~ 16,0 кгс·м, 101,3 ~ 115,7 фунт-фут)

8.
Снимите переднюю стойку в сборе и ослабьте гайки крепления стойки (А).

Момент затяжки:
44,1 ~ 58,8 Н·м (4,5 ~ 6,0 кгс·м, 32,5~43,4 фунт-фут)

9.
Установка обратна снятию.
Разборка
1.
С помощью специального инструмента (09546-26000) сожмите винтовую пружину (А).

Момент затяжки:
58,8 ~ 68,6 Н·м (6,0 ~ 7,0 кгс·м, 43,4 ~ 50,6 фунт-фут)

2.
Снимите самоконтрящуюся гайку (С) со стойки в сборе (В).
3.
Снимите изолятор, седло пружины, цилиндрическую пружину и пылезащитный чехол со стойки в сборе.
4.
Сборка обратна разборке.
осмотр
1.
Проверьте подшипник стойки на предмет износа и повреждений.
2.
Проверьте верхнее и нижнее седло пружины на наличие повреждений и износа.
3.
Сожмите и выдвиньте шток поршня (А) и убедитесь в отсутствии аномального сопротивления или необычного звука во время работы.

Утилизация
1.
Полностью выдвиньте шток поршня.
2.
Просверлите отверстие в секции (А) для удаления газа из баллона.

Выходящий газ безвреден, но будьте осторожны со стружкой, которая может лететь при сверлении.
Компоненты передней стойки в сборе и расположение компонентов
Компоненты 1. Стойка в сборе2. Изолятор3. Подшипник стойки 4. Пружинная верхняя накладка5. Спиральная пружина6. Пылезащитный чехол7. Резина бампера8. Пружинная нижняя накладка ...
Процедуры ремонта переднего нижнего рычага
Замена 1. Слегка ослабьте колесные гайки. Поднимите автомобиль и убедитесь, что он надежно закреплен. 2. Снимите переднее колесо и шину (А) с передней ступицы. Момент затяжки: 88,3 ~ ...
Дополнительная информация:

Kia Soul EV (PS EV) 2015-2020 Руководство по обслуживанию: Описание и работа комбинации приборов


Описание Миан Особенности 1. Индикатор питания и заряда (1) Он отображает степень экономичного вождения, определяя статус действия водителя в зависимости от режима движения транспортного средства условия (например, требуемая мощность, эффективность системы и зарядка). (2) Это приводит к экономичному вождению...

Kia Soul EV (PS EV) 2015-2020 Руководство по обслуживанию: Описание и работа


Описание Система EPS (электроусилитель руля, вспомогательная рулевая колонка) использует электродвигатель для помощи рулевому усилию, и это двигатель работа независимой системы рулевого управления. Модуль управления EPS управляет работой двигателя в соответствии с информация, полученная от каждого датчика и C ...