Kia Sorento: Rear Wiper Motor Removal - Rear Wiper/Washer - Body Electrical System - Kia Sorento XM 2011-2023 Service Manual Киа Соренто: Снятие моторчика заднего дворника

XM второго поколения (2011-2023 гг.) / Kia Sorento XM 2011-2023 Руководство по ремонту / Электрическая система кузова / Задний стеклоочиститель/омыватель / Снятие двигателя заднего стеклоочистителя

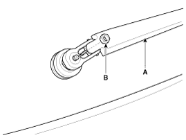
1.
Снимите крышку заднего стеклоочистителя (А).

2.
Снимите рычаг и щетку заднего стеклоочистителя (А) после снятия заднего стеклоочистителя. ШЕСТИГРАННАЯ гайка (В).

3.
Откройте заднюю дверь, затем снимите обшивку задней двери.
(См. Кузов — «Задняя дверь»)
4.
Отсоедините разъем электродвигателя заднего стеклоочистителя (В), затем снимите двигатель заднего стеклоочистителя (A) после ослабления болтов (3EA).

Осмотр мотора заднего стеклоочистителя
Мотор заднего стеклоочистителя 1. Снимите 4-контактный разъем с электродвигателя заднего стеклоочистителя. 2. Подсоедините положительный (+) и отрицательный (-) кабели аккумуляторной батареи к клеммам ...
Установка мотора заднего стеклоочистителя
1. Установите электродвигатель заднего стеклоочистителя в сборе. Момент затяжки Гайка: 7 ~ 11 Н·м (0,7 ~ 1,1 кгс·м, 5 ~ 7,9 фунт-сила-фут) ...
Смотрите также:

Удаление
1. Снимите кожух двигателя. (См. Механическая система двигателя — «Крышка двигателя») 2. Снимите воздушный фильтр в сборе и воздушный фильтр...

Компоненты системы обнаружения присутствия (ODS)
...

Метод измерения
Проекционные размеры 1. Это размеры, измеренные, когда точки измерения проецируются на базовую плоскость и являются базовыми размерами...