Kia Sorento: замена панорамного люка на крыше
Замена подвижного стекла
|
1.
|
Наклоните заднюю часть подвижного стекла (А) с помощью панорамы.
переключатель люка.
|
|
2.
|
Снимите обе стороны декоративной крышки (A).
|
|
3.
|
Ослабьте крепежные винты (А) с обеих сторон.
|
•
|
Будьте осторожны, чтобы не повредить винты.
|
|
|
|
4.
|
Осторожно поднимите подвижное стекло (А) и снимите его.
|
|
5.
|
Установите в порядке, обратном снятию.
|
•
|
После замены подвижного стекла отрегулируйте выравнивание
если нужно.
|
|
|
Замена дефлектора панорамного люка
|
1.
|
Полностью откройте подвижное стекло с помощью переключателя панорамного люка.
|
|
2.
|
Ослабьте крепежные винты (А), расположенные сбоку панорамы.
дефлектор люка.
|
•
|
Будьте осторожны, чтобы не повредить винты.
|
|
|
|
3.
|
Снимите дефлектор панорамного люка (А) после ослабления
крепежные винты, расположенные спереди.
|
•
|
Будьте осторожны, чтобы не повредить винты.
|
|
|
|
4.
|
Установите в порядке, обратном снятию.
|
Замена рулонных штор
|
1.
|
Откройте шторку с помощью переключателя панорамного люка.
|
•
|
Оставьте 10 ~ 20 см (0,3937 ~ 0,7874 дюйма) ролика
слепой неоткрытый.
|
|
|
|
2.
|
Снимите обшивку крыши.
|
|
3.
|
Снимите штангу жалюзи (C), нажав на верхнюю часть
стопорный штифт (B), расположенный с обеих сторон башмака рулонной шторы (A).
|
|
4.
|
Вставьте фиксированный штифт (B) в отверстие, расположенное внутри паза
правый боковой кронштейн роликового ножа (A). Будьте осторожны, чтобы не выпустить
напряжение.
|
|
5.
|
Снимите нижнюю опору (А) рулонной шторы, ослабив крепления
винты.
|
|
1.
|
Установите боковой кронштейн рулонной шторы (А) в направляющий паз.
(Б).
|
|
2.
|
Затяните крепежные винты после установки рулонной шторы
нижняя опора (А).
|
|
3.
|
Снимите фиксированный штифт (B), расположенный внутри правого бокового ролика.
боковой кронштейн отвала (А).
|
|
4.
|
Установите штангу жалюзи (А) поверх башмака жалюзи.
(Б).
|
|
5.
|
Вставьте штангу жалюзи (А) в башмак жалюзи (В).
|
|
6.
|
Установить отделку крыши.
|
|
7.
|
Полностью закрыть подвижное стекло с помощью панорамного люка.
выключатель.
|
|
•
|
Регулировка натяжения роликового полотна
|
|
1.
|
Вставьте фиксированный штифт (B) в отверстие, расположенное внутри паза.
правого бокового кронштейна роликового ножа (A). Будьте осторожны, не
чтобы снять напряжение.
|
|
2.
|
Снимите нижнюю опору рулонной шторы.
|
|
3.
|
Нажмите на стопорный штифт (А) и снимите толкающий ролик.
шторка (B) в направлении стрелки.
|
|
4.
|
Снимите рулонную штору (А) с опоры рулонной шторы.
кронштейн (В).
|
|
5.
|
Удалите фиксированный штифт (B) из паза
правый боковой кронштейн рулонной шторы (A).
|
•
|
Будьте осторожны, чтобы не повредить руку при
натяжение бокового кронштейна рулонной шторы ослабляется.
|
|
|
|
6.
|
Вращайте роликовый нож (B), удерживая рулонную штору.
боковой кронштейн (А).
|
•
|
Будьте осторожны, чтобы не повредить руку при
натяжение бокового кронштейна рулонной шторы ослабляется.
|
|
|
•
|
Поверните его 12 раз по часовой стрелке.
|
|
|
|
7.
|
Вставьте фиксированный штифт (B) в отверстие, расположенное внутри паза.
правого бокового кронштейна роликового ножа (A). Будьте осторожны, не
чтобы снять напряжение.
|
|
8.
|
Установите рулонную штору на опорный кронштейн рулонной шторы.
|
|
Замена панорамного люка в сборе
|
1.
|
Удалите следующие элементы.
|
А.
|
Сборка сидений второго ряда
|
|
Б.
|
Сборка сидений третьего ряда
|
|
С.
|
Обшивка передней стойки
|
|
Д.
|
Нижняя обшивка центральной стойки
|
|
Э.
|
Верхняя обшивка центральной стойки
|
|
Ф.
|
Боковая отделка багажника
|
|
|
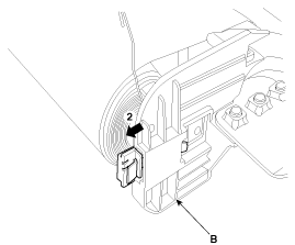
2.
|
Отсоедините разъем электродвигателя панорамного люка (А), нажав на
стопорный штифт.
|
|
3.
|
Ослабьте гайки крепления панорамного люка (А).
[Передний]
Момент затяжки :
6,9 ~ 10,8 Н·м (0,7 ~ 1,1 кгс·м, 5,1 ~ 8,0 фунт-фут)
|
[Задний]
Момент затяжки :
6,9 ~ 10,8 Н·м (0,7 ~ 1,1 кгс·м, 5,1 ~ 8,0 фунт-фут)
|
|
|
4.
|
Ослабьте болты (А) сбоку панорамного люка.
Момент затяжки :
7,8 ~ 11,8 Н·м (0,8 ~ 1,2 кгс·м, 5,8 ~ 8,7 фунт-фут)
|
|
|
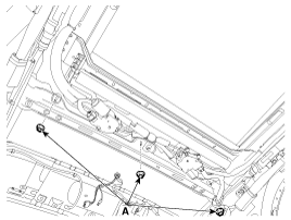
5.
|
Отрежьте герметик на переднем крае, потянув за проволоку (B).
Лево и право.
|
•
|
Наденьте перчатки, чтобы защитить руки.
|
|
•
|
При работе с проводами может возникнуть нагрев. Будь осторожен
чтобы не обжечь руки.
|
|
•
|
Будьте осторожны, чтобы не отсоединить провод.
|
|
|
•
|
При использовании плоской отвертки оберните ее
защитную ленту и наклейте защитную ленту вокруг
соответствующие детали для предотвращения повреждений.
|
|
•
|
Будьте осторожны, чтобы не поцарапать поверхность корпуса.
|
|
|
•
|
На проводах должны работать два или более человека.
|
|
|
|
6.
|
Если внутри шасси виден провод, потяните за трос (A).
внутри.
|
|
7.
|
Отрежьте герметик сбоку (А-А), потянув за провод (В).
Лево и право.
|
•
|
Наденьте перчатки, чтобы защитить руки.
|
|
•
|
При работе с проводами может возникнуть нагрев. Будь осторожен
чтобы не обжечь руки.
|
|
•
|
Будьте осторожны, чтобы не отсоединить провод.
|
|
|
•
|
При использовании плоской отвертки оберните ее
защитную ленту и наклейте защитную ленту вокруг
соответствующие части, чтобы предотвратить повреждение.
|
|
•
|
Будьте осторожны, чтобы не поцарапать поверхность корпуса.
|
|
|
•
|
На проводах должны работать два или более человека.
|
|
|
|
8.
|
Удалите герметик, расположенный на передней стороне (А-А), с помощью специального
инструменты (09816-2P121, 09816-2P122) при подъеме панорамного люка
с корпуса с помощью скребка или плоской отвертки.
|
•
|
Будьте осторожны, чтобы не повредить отверстие устройства (B).
|
|
•
|
Будьте осторожны, чтобы не повредить отверстие под гайку (C).
|
|
|
•
|
При использовании специального инструмента может происходить нагрев. Работа
при распылении воды.
|
|
•
|
Во время работы заменяйте поврежденные инструменты на новые.
|
|
|
•
|
При подъеме панорамного люка с помощью гаечного ключа
или плоской отверткой, будьте осторожны, чтобы не повредить
панель панорамного люка.
|
|
|
|
9.
|
Удалите герметик, расположенный на задней стороне (А-А), с помощью специального
инструменты (09816-2P121, 09816-2P122) при подъеме панорамного люка
с корпуса с помощью скребка или плоской отвертки.
|
•
|
Это лезвие имеет наклон вверх.(09816-2P121,
09816-2П122)
|
|
•
|
Это лезвие имеет тенденцию толкаться вниз.
(09816-2П123, 09816-2П124)
|
|
•
|
При использовании специального инструмента может происходить нагрев. Работа
при распылении воды.
|
|
•
|
Во время работы заменяйте поврежденные инструменты на новые.
|
|
|
•
|
При подъеме панорамного люка с помощью гаечного ключа
или плоской отверткой, будьте осторожны, чтобы не повредить
панель панорамного люка.
|
|
|
|
10.
|
Снимите панорамный люк в сборе (A), предварительно отрезав все
стороны герметика.
|
•
|
Будьте осторожны, чтобы не повредить панорамный люк.
в сборе при его снятии.
|
|
|
|
1.
|
Ножом соскребите старый клей до толщины
около 2 мм (0,08 дюйма) на поверхности склеивания вокруг всей панорамы
фланец открывания люка.
|
•
|
Не соскребайте до окрашенной поверхности
тело; поврежденная краска будет мешать правильному склеиванию.
|
|
•
|
Снимите раббердам и крепления с кузова.
|
|
•
|
Закройте окружающие поверхности перед покраской.
|
|
|
|
2.
|
Очистите поверхность склеивания корпуса губкой, смоченной в спирте.
После очистки следите за тем, чтобы масло, жир и вода не попали на чистую
поверхность.
|
|
3.
|
Протрите края панели кузова и панорамный люк спиртом.
или пневматический пистолет.
|
|
4.
|
Нанесите грунтовку на край панели кузова.
|
•
|
Если вы прикоснетесь к области, может произойти утечка воды.
нанес грунтовку после установки панорамного люка.
|
|
•
|
Не наносите грунтовку на корпус люка.
|
|
•
|
Предотвратить попадание посторонних предметов в
участок, обработанный грунтовкой.
|
|
|
|
5.
|
Нанесите грунтовку на край панорамного люка.
|
•
|
Если вы прикоснетесь к области, может произойти утечка воды.
нанес грунтовку после установки панорамного люка.
|
|
•
|
Не наносите грунтовку на корпус люка.
|
|
•
|
Предотвратить попадание посторонних предметов в
участок, обработанный грунтовкой.
|
|
|
|
6.
|
Нанесите герметик (В) на панорамный люк (А) с помощью пистолета для герметика.
|
•
|
При нанесении герметика с помощью пистолета для герметика
это без каких-либо зазоров, чтобы предотвратить утечку воды.
|
|
|
|
7.
|
При установке панорамного люка совместите отверстие устройства центрирования кузова (A) и поместите панорамный люк на фланец кузова.
[Передний]
[Задний]
|
|
8.
|
После установки панорамного люка проверьте выравнивание и
зазор с каждой стороны.
|
Раздел
|
Выравнивание
|
Зазор
|
Передний
|
А-А
|
0 ± 1 мм
(0 ± 0,0394 дюйма)
|
5 ± 1 мм
(0,1969 ± 0,0394 дюйма)
|
Задний
|
В-В
|
0,7 ± 1 мм
(0,0276 ± 0,0394 дюйма)
|
5 ± 1 мм
(0,1969 ± 0,0394 дюйма)
|
Сторона
|
С-С
|
-
|
5 ± 1 мм
(0,1969 ± 0,0394 дюйма)
|
|
|
9.
|
Установите гайки крепления панорамного люка (А).
[Передний]
Момент затяжки :
6,9 ~ 10,8 Н·м (0,7 ~ 1,1 кгс·м, 5,1 ~ 8,0 фунт-фут)
|
[Задний]
Момент затяжки :
6,9 ~ 10,8 Н·м (0,7 ~ 1,1 кгс·м, 5,1 ~ 8,0 фунт-фут)
|
|
|
10.
|
Установите болты (А) сбоку панорамного люка.
Момент затяжки :
7,8 ~ 11,8 Н·м (0,8 ~ 1,2 кгс·м, 5,8 ~ 8,7 фунт-фут)
|
|
|
11.
|
Подсоедините разъем электродвигателя панорамного люка (А).
|
|
12.
|
Установите ветровое стекло.
|
|
13.
|
Тест на протечки воды.
|
•
|
Не распыляйте воду прямо туда, где она
недавно нанесенный герметиком.
|
|
|
|
14.
|
При возникновении течи нанесите герметик.
|
1. Боковой молдинг крыши [LH]
2. Боковой молдинг крыши [RH]
3. Подвижное стекло
4. Слайд
5. Основа крышки
6. Дефлектор ветра
7. Рама панорамного люка в сборе
8. Механизм ра...
Проверка выравнивания стекла
1.
Проверьте выравнивание подвижного стекла (C), которое находится между
переднее (A) и заднее (B) стекло и при необходимости отрегулируйте его.
...
Смотрите также:
Компоненты радиатора
1. Радиатор
2. Нижний шланг радиатора
3. Верхний шланг радиатора
4. Верхняя решетка радиатора
5. Верхний кронштейн крепления радиатора
6. Изолятор нижнего крепления радиатора
...
Замена резистора заднего вентилятора
1.
Отсоедините отрицательную (-) клемму аккумуляторной батареи.
2.
Снимите боковую обивку заднего багажника.
(См. Кузов — «Внутренняя отделка»)
...
Монтаж
•
Установите компонент с указанным моментом затяжки.
•
...
|
|