Kia Sorento: CVVT & Camshaft Description - Cylinder Head Assembly - Engine Mechanical System - Kia Sorento XM 2011-2023 Service Manual Kia Sorento: CVVT и описание распределительного вала

XM второго поколения (2011-2023 гг.) / Kia Sorento XM 2011-2023 Руководство по ремонту / Механическая система двигателя / Головка цилиндра в сборе / CVVT и описание распределительного вала

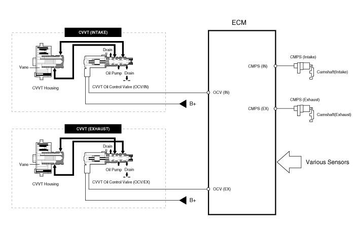
Система непрерывного изменения фаз газораспределения (CVVT) опережает или задерживает клапан. синхронизация впускного и выпускного клапана в соответствии с управляющим сигналом ECM который рассчитывается по частоте вращения двигателя и нагрузке.
При управлении CVVT происходит перекрытие или недопуск клапана, что улучшает экономия топлива и снижение выхлопных газов (NOx, HC) и улучшение характеристик двигателя за счет снижения насосных потерь, внутреннего эффекта рециркуляции отработавших газов, улучшения сгорания стабильность, улучшение объемного КПД и увеличение работы расширения.
Эта система состоит из
-
Клапан управления маслом CVVT (OCV), который подает моторное масло в кулачковый фазовращатель или вытекает моторное масло из кулачкового фазовращателя в соответствии с управляющим сигналом ECM PWM (Pulse With Modulation),
-
датчик температуры масла CVVT (OTS), который измеряет моторное масло температура,
-
и Cam Phaser, который изменяет фазу кулачка с помощью гидравлического сила моторного масла.
Моторное масло, вытекающее из клапана управления маслом CVVT, изменяет фазу кулачка. в направлении (опережение впуска/замедление выпуска) или в противоположном направлении (впуск Retard/Exhaust Advance) вращения двигателя за счет вращения ротора, подключенного с распределительным валом внутри кулачкового фазовращателя.

Компоненты CVVT и распределительного вала
1. Крышка подшипника распредвала 2. Крышка переднего подшипника распредвала 3. Распредвал выпускных клапанов 4. Впускной распредвал 5. Выхлоп CVVT в сборе 6. Впускной CVVT в сборе 7. Верхний выпускной распредвал...
Принцип работы CVVT и распределительного вала
CVVT имеет механизм, вращающий лопасть ротора с создаваемой гидравлической силой. моторным маслом, подаваемым в камеру опережения или замедления в соответствии с клапан управления маслом CVVT ...
Смотрите также:

Снятие и установка водяного насоса
1. Ослабьте сливную пробку, а затем слейте охлаждающую жидкость двигателя. Снимите крышку радиатора, чтобы быстрее слить охлаждающую жидкость. 2. Удалите др...

Компоненты Операции
PCM (модуль управления силовой передачей) 1. PCM(ECM)(A) выполняет проверку ключа зажигания с помощью специальный алгоритм шифрования, который запрограммирован в транспонде...

Запишите номер вашего ключа
Кодовый номер ключа отштампован на бирке с кодом ключа, прикрепленной к комплекту ключей. Должен если вы потеряете ключи, этот номер позволит авторизованному дилеру Киа продублировать ключи легко. Вынуть ключ...