Kia Sorento: Auto Head lamp leveling Unit Circuit Diagram - Head lamp leveling Device - Body Electrical System - Kia Sorento XM 2011-2023 Service Manual Kia Sorento: Принципиальная схема блока автоматической коррекции фар

XM второго поколения (2011-2023 гг.) / Kia Sorento XM 2011-2023 Руководство по ремонту / Электрическая система кузова / Устройство регулировки уровня фар / Принципиальная схема блока автоматического регулирования уровня фар

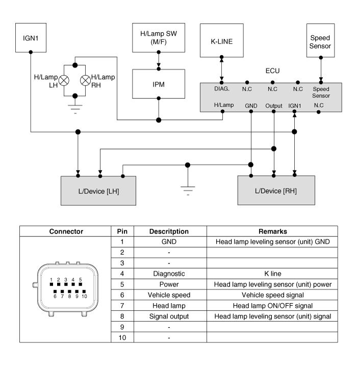
Расположение компонента
1. Датчик и блок регулировки угла наклона фар 2. Привод корректора фар ...
Автоматическое выравнивание фар Блок Описание
В зависимости от условий вождения и состояния загрузки автомобиля, фара направление освещения изменено, чтобы сохранить зону видимости водителя и защитить зрение водителя от gl...
Смотрите также:

Снятие датчика скорости переднего колеса
1. Снимите переднее колесо и шину. Момент затяжки: 88,3 ~ 107,9 Н·м (9,0 ~ 11,0 кгс·м, 65,1 ~ 79,6 фунт-фут) ...

Описание
Выбросы выхлопных газов (CO, HC, NOx) контролируются комбинацией двигателя модификации и добавление специальных компонентов управления. Модификации камеры сгорания, впускного коллектора ...

осмотр
1. Выключите зажигание. 2. Отсоедините разъем форсунки. 3. Измерьте сопротивление между инжекторным...