Kia Optima Hybrid: Многофункциональный переключатель / Процедуры ремонта

осмотр
Проверка выключателя освещения
Когда многофункциональный переключатель находится в каждом положении, убедитесь, что что непрерывность существует между терминалами ниже. Если преемственность не как указано, замените многофункциональный переключатель.

Переключатель освещения (автоматическое освещение)

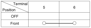
Выключатель освещения

Диммер и проходной переключатель

HU : Фары дальнего света
HL : Фара ближнего света
P : Переключатель ближнего света фар
Переключатель сигнала поворота

Выключатель передних противотуманных фар

Осмотр переключателя стеклоочистителя и омывателя
Когда многофункциональный переключатель находится в каждом положении, убедитесь, что что непрерывность существует между терминалами ниже. Если преемственность не как указано, замените многофункциональный переключатель.

Переключатель стеклоочистителя

Переключатель омывателя

Осмотр (с GDS)
1.
Проверьте спецификацию входа/выхода BCM многофункционального переключателя. с помощью ГДС. Если технические характеристики не соответствуют норме, замените лампу или переключатель дворников.
2.
Если требуется диагностика многофункционального переключателя, выберите модель и "BCM".
3.
Чтобы просмотреть текущее значение ввода/вывода BCM, «Текущий ДАННЫЕ». Предоставляет информацию о входных/выходных состояниях питания BCM. питание, сигнал поворота/стоп-сигнал, фара, дверь, замки, наружное зеркало, стеклоочиститель, автосвет и передатчики и т. д.

4.
Чтобы выполнить принудительную операцию по входным факторам BCM, выберите "ACTUATION TEST".

Удаление
1.
Отсоедините отрицательную (-) клемму аккумуляторной батареи.
2.
Снимите рулевое колесо.
(См. группу ST - "Рулевая колонка и вал")
3.
Снимите верхний и нижний кожухи рулевой колонки, отвернув 3 винта.

4.
Если надо удалить. Переключатель стеклоочистителя и омывателя только (A), разблокируйте замок переключателя стеклоочистителей с помощью инструмента, не снимая рулевое колесо и часовая пружина.

5.
Отсоедините разъем переключателя освещения (А) и разъем переключателя стеклоочистителя и омывателя (В).

6.
Снимите рулевое колесо.
(См. группу ST - "Рулевая колонка и вал")
7.
Снимите часовую пружину.
(См. группу RT - "Модуль подушки безопасности")
8.
Снимите узел многофункционального переключателя (А), предварительно ослабив крепежные винты.

Монтаж
1.
Установите многофункциональный переключатель.
2.
Установите часовую пружину.
3.
Установите верхний и нижний кожухи рулевой колонки.
4.
Установите рулевое колесо.
Убедитесь, что разъемы многофункционального переключателя подключены правильно.
Компоненты и расположение компонентов

Компонент(1) Компонент(2) 1. Вал рулевой колонки 2. Выключатель освещения 3. Выключатель стеклоочистителя и омывателя 4. Винт 5. Часовая пружина6. Датчик угла поворота...

Рог

...

Дополнительная информация:

Kia Optima Hybrid (TF HEV) 2016-2020 Руководство по техническому обслуживанию: Датчик положения коленчатого вала (CKPS) Описание и работа


Описание Датчик положения коленчатого вала (CKPS) определяет положение коленчатого вала и является одним из наиболее важных датчиков системы управления двигателем. Если входной сигнал CKPS отсутствует, двигатель может остановиться из-за отсутствия сигнала CKPS. Этот датчик устанавливается на блоке цилиндров или картере коробки передач...

Kia Optima Hybrid (TF HEV) 2016-2020 Руководство по техническому обслуживанию: Технические характеристики электромагнитного клапана управления тормозами 26 (26/B_VFS)


Технические характеристики Прямое управление VFS[26/B] Тип управления: Нормально-низкий тип Управление Давление кПа (кгс/см?, фунт/кв. дюйм) 9,81 ~ 500,14 (0,1 ~ 5,1, 1,42 ~ 72,54) Значение тока (мА) 50 ~ 850 Внутреннее сопротивление (? )5.1 ...