Kia Optima Hybrid: процедуры ремонта салона/заднего стекла

Удаление
Наденьте перчатки, чтобы защитить руки.
Будьте осторожны, чтобы не повредить окрашенную поверхность.
1.
Удалите следующие элементы.
Молдинг крыши
(См. группу BD - "Панорама")
Заднее сидение
(См. группу BD — «Заднее сиденье»)
Обшивка задней стойки
(См. группу BD - "Внутренняя отделка")
Отделка лотка для пакетов
(См. группу BD - "Внутренняя отделка")
Разъем обогревателя заднего стекла
(См. группу BE - "Обогрев заднего стекла")
2.
Нанесите WD-40 на боковую поверхность заднего стекла.
3.
Вырежьте клей с помощью резака (A).
Пожалуйста, используйте резак с длиной лезвия от 8 до 12 дюймов.

4.
Достаточно на верхней (A) и нижней (B) стороне (C) заднего стекла стекло. а затем вырежьте клей с помощью резака (09861-31100).

5.
Снимите заднее стекло (А).
При снятии и установке стекла заднего стекла необходим помощник.

Монтаж
1.
Ножом соскребите старый клей до толщины около 2 мм (0,08 дюйма) на склеиваемой поверхности по всей задней фланец оконного стекла:
Не соскабливать до окрашенной поверхности кузова; поврежденная краска будет мешать правильному склеиванию.
Снимите раббердам и крепления с кузова.
Закройте окружающие поверхности перед покраской.

2.
Очистите поверхность склеивания кузова губкой, смоченной в алкоголь. После очистки следите за тем, чтобы масло, жир и вода не попали на чистая поверхность.

3.
Губкой нанесите тонкий слой грунтовки для тела на оригинальный клей, оставшийся вокруг фланца проема ветрового стекла. Позволять грунтовка для тела сохнет не менее 10 минут.
Не наносите грунтовку для стекла на кузов и будьте осторожны, чтобы не перепутать губки для грунтовки стекла и кузова.
Никогда не прикасайтесь руками к загрунтованным поверхностям.
Замаскируйте приборную панель перед покраской фланца.

4.
Нанесите тонкий слой грунтовки для стекла на внешнюю сторону крепежных деталей.
Никогда не прикасайтесь к загрунтованной поверхности рукой. Если вы это сделаете, клей может не приклеиться к стеклу должным образом, вызывая утечку после установлено стекло багажника.
Не наносите грунтовку для кузова на стекло.
Не допускайте попадания воды, пыли и абразивных материалов на грунтовку.

5.
Приклейте молдинг заднего стекла (А) и установите заднее стекло (В).

6.
Запакуйте клей в картридж без воздушных карманов, чтобы обеспечить непрерывную доставку. Поместите картридж в пистолет для герметика и запустите валик герметика (B) по краю заднего стекла (A), как показано. Нанесите клей в течение 30 минут после установки стекла. грунтовка. Сделайте немного более толстую бусину на каждом углу.

7.
Используйте присоски (A), чтобы удерживать стекло заднего стекла (B) над отверстие, совместите его с установочными метками (C), сделанными на шаге 15, и положите его на клей. Слегка нажмите на ветровое стекло, пока оно не края полностью сидят на клее по всему периметру. Не открывайте или закройте двери, пока клей не высохнет
При установке заднего стекла (B) точно совместите сервисное отверстие заднего стекла (D) с рамой.

8.
Дайте клею высохнуть в течение как минимум 3-4 часов, затем распылите воду на стекло и проверьте, нет ли утечек.
Не распыляйте непосредственно на клейкую область. Распылите воду на стекло, а затем пролейте воду вокруг стекла.
9.
Участки могут протекать. Дайте стеклу высохнуть, затем заклейте клеем.
Дайте автомобилю постоять не менее четырех часов после монтаж. Если транспортное средство должно быть использовано в течение первых восьми, оно надо ехать медленно.
Держите стекло сухим в течение первого часа после установки.
Пожалуйста, попросите водителя соблюдать осторожность, не вести автомобиль по неровной грунтовой дороге и не водить резко.
10.
Установите на место все оставшиеся снятые детали.
Разъем обогревателя заднего стекла
(См. группу BE - "Обогрев заднего стекла")
Отделка лотка для пакетов
(См. группу BD - "Внутренняя отделка")
Обшивка задней стойки
(См. группу BD - "Внутренняя отделка")
Заднее сидение
(См. группу BD — «Заднее сиденье»)
Молдинг крыши
(См. группу BD - "Панорама")
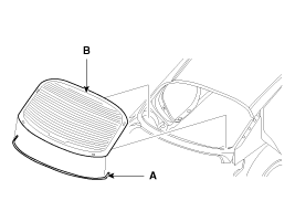
Компоненты стекла заднего стекла и расположение компонентов

Компоненты 1. Молдинг заднего стекла2. Стекло заднего стекла...

Бампер

...

Дополнительная информация:

Kia Optima Hybrid (TF HEV) 2016-2020 Руководство по обслуживанию: Общая информация по технике безопасности и предостережения


Меры предосторожности     Поскольку в гибридных автомобилях используется батарея высокого напряжения, неправильное обращение с системой высокого напряжения или автомобилями может привести к серьезным авариям, таким как поражение электрическим током и утечка тока. • Обязательно отключите высокое напряжение, сняв ...

Kia Optima Hybrid (TF HEV) 2016-2020 Руководство по обслуживанию: Устранение неисправностей


Поиск и устранение неисправностей Таблица признаков проблем Перед заменой или ремонтом компонентов кондиционера сначала определите, связана ли неисправность с заправкой хладагента, воздушным потоком или компрессором. Используйте приведенную ниже таблицу, чтобы найти причину проблемы. Цифры обозначают приоритет вероятного...