Kia Optima Hybrid: Процедуры ремонта сиденья и сиденья с электроприводом / заднего сиденья

Замена
Замена сиденья в сборе
1.
Снимите подушку заднего сиденья (А).

2.
Отсоедините разъемы обогревателя заднего сиденья (А).

3.
Ослабив крепежные болты, снимите спинку заднего сиденья (А).

Момент затяжки :
16,7 ~ 25,5 Н·м (1,7 ~ 2,6 кгс·м, 12,3–18,8 фунт-фут)

4.
Установка обратна снятию.
Убедитесь, что разъем подключен правильно.
Замена крышки спинки заднего сиденья
Поддевая плоской отверткой, оберните ее защитную ленту и наклейте защитную ленту вокруг соответствующих частей, чтобы предотвратить повреждение.
Наденьте перчатки, чтобы защитить руки.
1.
Снимите заднее сиденье в сборе.
2.
Ослабив гайки крепления, снимите задний задний подлокотник (А).

3.
Ослабив крепежные винты, снимите заднюю панель подлокотника (А),

4.
Нажмите на стопорный штифт (B), снимите подголовник (A).

5.
Вытяните направляющие подголовника (A), зажимая концы направляющих, и снимите их.

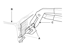
6.
Снимите зажимы кольца (A).

7.
Отсоедините кольцевые зажимы (В) на задней части спинки сиденья, снимите обивку спинки сиденья (А).

8.
Установка обратна снятию.
Во избежание образования складок убедитесь, что материал равномерно натянут на чехол (B), прежде чем закреплять зажимы (A).
Замените кольцевые зажимы новыми с помощью специального инструмента [C (09880-4F000)].

Замена чехла подушки заднего сиденья
Поддевая плоской отверткой, оберните ее защитную ленту и наклейте защитную ленту вокруг соответствующих частей, чтобы предотвратить повреждение.
Наденьте перчатки, чтобы защитить руки.
1.
Снимите подушку заднего сиденья.
2.
Снимите зажимы кольца (A).

3.
Отсоедините кольцевые зажимы (B) на задней части подушки сиденья, снимите чехол подушки сиденья (A).

4.
Установка обратна снятию.
Во избежание образования складок убедитесь, что материал равномерно натянут на чехол (B), прежде чем закреплять зажимы (A).
Замените кольцевые зажимы новыми с помощью специального инструмента [C (09880-4F000)].

Замена заднего подлокотника
1.
Снимите спинку заднего сиденья в сборе.
2.
Ослабьте гайки крепления заднего заднего подлокотника.

3.
Снимите задний подлокотник (А).

4.
Установка обратна снятию.
Компоненты заднего сиденья и расположение компонентов

Компоненты - 1 [Общие] 1. Подголовник2. Направляющая подголовника3. Крышка спинки заднего сиденья4. Рама спинки заднего сиденья в сборе5. Доска заднего подлокотника6. Чехол подушки заднего сиденья7. Задний подлокотник8. Подушка заднего сиденья...

Ремень безопасности

...

Дополнительная информация:

Kia Optima Hybrid (TF HEV) 2016-2020 Руководство по техническому обслуживанию: Процедуры ремонта цепи ГРМ


Снятие     • Используйте накладки на крылья, чтобы не повредить окрашенные поверхности. • Во избежание повреждений осторожно отсоединяйте разъемы проводки, удерживая часть разъема. Пометьте все провода и шланги, чтобы избежать неправильного соединения. • Обязательно прочтите и следуйте «Общим...

Kia Optima Hybrid (TF HEV) 2016-2020 Руководство по обслуживанию: Технические характеристики


Технические характеристикиТип лампыМощность лампы (Вт)Передняя фара(STD)LowH7S55HighH7L55Фары(HID)LowD1S35HighH7L55Указатель поворотаPY28/8W28Гибридный фонарьPY28/8W или LED8 или LEDПротивотуманная фараH8L или LED35 или LEDБоковой габаритный фонарьLEDLEDSБоковой повторитель фонаряLEDLEDRЗадняя задняя комбинация lmap Лампа указателя поворотаP27W27Стоп/задний фонарь...