Kia Optima Hybrid: Процедуры ремонта экстерьера/панорамной крыши

Замены
Замена подвижного стекла
1.
Полностью откройте подвижное стекло.
2.
Снимите откидную крышку (А).

3.
Ослабив крепежные винты, снимите подвижное стекло (А).
Не повредите винты.

4.
Установка обратна снятию.
Замена двигателя
Проверьте положение направляющей, закрыта она или нет, когда снимаете двигатель.
1.
Снимите обшивку крыши.
(См. группу BD - "Отделка крыши")
2.
Ослабив крепежные винты, снимите двигатель (А).

3.
Установка обратна снятию.
Обязательно инициализируйте двигатель.
Замена дефлектора ветра
1.
Полностью откройте подвижное стекло.
2.
С помощью отвертки или съемника снимите молдинг крыши (А).
Для обеспечения качества продукции необходимо изменить молдинг крыши.

3.
Снимите монтажный кронштейн ветрового дефлектора (А).

4.
Снимите планку ветрового дефлектора (А).

5.
Установка обратна снятию.
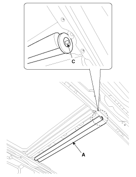
Замена рулонных штор
[Удаление]
1.
Ослабив крепежные винты, снимите нижний кронштейн рулонной шторы (А).

2.
Снимите рулонную штору (А), потянув ее под прямым углом.
При снятии следите за тем, чтобы рулонная штора кромка (C) упирается в раму автомобиля, потому что она натянута в теме.

[Монтаж]
1.
Установка рулонной шторы (А).
Когда вы собираете кронштейн рулонной шторы, установите рулонную вслепую, потянув примерно на 15~20 см (5,9055~7,8740 дюйма), потому что винт (B) упирается в рулонную штору.
Когда натяжение рулонной шторы снято, нажмите на край (C), поверните его против часовой стрелки 19~21. Установите его, сняв напряжение (в отдых).

2.
Установите винты на нижний кронштейн рулонной шторы (A).

Замена панорамной крыши в сборе
[Удаление]
1.
Удалите следующие элементы:
Переднее сиденье
(См. группу BD - "Переднее сиденье")
Заднее сидение
(См. группу BD - "Заднее сиденье")
Внутренняя отделка
(См. группу BD - "Отделка салона")
Отделка крыши
(См. группу BD - "Отделка крыши")
Стекло заднего стекла
(См. группу BD - "Заднее стекло")
Антенна на крыше
(См. группу BE - "Головное устройство AVN")
2.
Ослабьте гайки крепления панорамной крыши (А).

Момент затяжки :
6,9 ~ 10,8 Н·м (0,7 ~ 1,1 кгс·м, 5,1 ~ 8,0 фунт-фут)

[Передний]

[Задний]

3.
С помощью отвертки или съемника снимите молдинг крыши (А).
Для обеспечения качества продукции необходимо изменить молдинг крыши.

4.
Полностью откройте подвижное стекло.
5.
Снимите монтажный кронштейн ветрового дефлектора (А).

6.
Снимите планку ветрового дефлектора (А).

7.
Прикрепите ленту к переднему стеклу (A).
8.
Используя плоскогубцы (B), возьмитесь за край переднего стекла (A) и сломайте его.
Наденьте защитные очки и защитные очки. Следите за стеклом.

Переднее стекло обязательно нужно заменить на новый продукт.
9.
Снимите переднее стекло (А).

10.
Откройте пространство между шасси и люком с помощью плоской головки. отверткой, а затем срежьте герметик передней части с помощью инструмента. (09816-2P121, 09816-2P122).
Этот отвал имеет наклон вверх.(09816-2P121, 09816-2P122)
Это лезвие имеет тенденцию толкаться вниз. (09816-2П123, 09816-2П124)

Будьте осторожны, чтобы не повредить панорамную крышу, вставляя инструменты между шасси и панорамной крышей.
11.
Откройте пространство между шасси и люком с помощью плоской головки. отверткой, а затем срежьте герметик сбоку с помощью инструмента (09816-2P121, 09816-2P122).
Этот отвал имеет наклон вверх.(09816-2P121, 09816-2P122)
Это лезвие имеет тенденцию толкаться вниз. (09816-2П123, 09816-2П124)

Будьте осторожны, чтобы не повредить панорамную крышу, вставляя инструменты между шасси и панорамной крышей.
12.
Откройте пространство между шасси и люком с помощью плоской головки. отверткой, а затем срежьте задний уплотнитель с помощью инструмента (09816-2P127).
Будьте осторожны, чтобы не сломать центральное отверстие (B).
Будьте осторожны, чтобы не сломать отверстие под гайку (С).

Будьте осторожны, чтобы не повредить панорамную крышу, вставляя инструменты между шасси и панорамной крышей.
13.
Разрежьте ленту между панорамной крышей и кузовом. снимите панорамную крышу (A).
Работайте как минимум с четырьмя людьми, чтобы поднять панорамную крышу на автомобиль или снять с него.

[Монтаж]
1.
Ножом соскребите старый клей до толщины около 2 мм (0,08 дюйма) на склеиваемой поверхности вокруг всего фланец панорамной крыши
Не соскабливать до окрашенной поверхности кузова; поврежденная краска будет мешать правильному склеиванию.
Снимите раббердам и крепления с кузова.
Закройте окружающие поверхности перед покраской.

2.
Очистите поверхность склеивания кузова губкой, смоченной в алкоголь. После очистки следите за тем, чтобы масло, жир и вода не попали на чистая поверхность.

3.
С помощью канцелярского ножа (В) снимите левые стеклянные части панели панорамной крыши (А).

4.
Губкой нанесите тонкий слой грунтовки для тела на оригинальный клей, оставшийся вокруг фланца проема ветрового стекла. Позволять грунтовка для тела сохнет не менее 10 минут:
Не наносите грунтовку для стекла на кузов и будьте осторожны, чтобы не перепутать губки для грунтовки стекла и кузова.
Никогда не прикасайтесь руками к загрунтованным поверхностям.
Закройте окружающие поверхности перед покраской.

5.
Нанесите тонкий слой грунтовки для стекла на внешнюю сторону крепежных деталей.
Никогда не прикасайтесь к загрунтованной поверхности рукой. Если вы это сделаете, клей может не приклеиться к стеклу должным образом, вызывая утечку после установлено лобовое стекло.
Не наносите грунтовку для кузова на стекло.
Не допускайте попадания воды, пыли и абразивных материалов на грунтовку.

6.
Запакуйте клей в картридж без воздушных карманов, чтобы обеспечить непрерывную доставку. Поместите картридж в пистолет для герметика и запустите полоску герметика (B) по краю панорамной крыши (A), как показано на рисунке. Нанесите клей в течение 30 минут после нанесения грунтовки для стекла. Сделайте немного более толстую бусину на каждом углу.

7.
Закрепите панорамную крышу на центральной полке (А) кузова, аккуратно установите панорамную крышу на раму кузова.
Работайте как минимум с четырьмя людьми, чтобы поднять панорамную крышу на автомобиль или снять с него.

8.
После установки панорамной крыши проверьте зазор и зазор с каждой стороны.
Раздел
Распродажа
Зазор
Передний край
А-А
2 ± 1 мм
4,9 ± 1 мм
(0,0787 ± 0,0394 дюйма)
(0,1929 ± 0,0394 дюйма)
Задний край
В-В
1,2 ± 1 мм
4,5 ± 1 мм
(0,0472 ± 0,0394 дюйма)
(0,1772 ± 0,0394 дюйма)
Боковой край
С-С
0 ± 1 мм
4,1 ± 1 мм
(0 ± 0,0394 дюйма)
(0,1614 ± 0,0394 дюйма)

9.
Установите гайки (A) на панорамную крышу.

Момент затяжки :
6,9 ~ 10,8 Н·м (0,7 ~ 1,1 кгс·м, 5,1 ~ 8,0 фунт-фут)

[Передний]

[Задний]

10.
Полностью откройте подвижное стекло.
11.
Запакуйте клей в картридж без воздушных карманов, чтобы обеспечить непрерывную доставку. Поместите картридж в пистолет для герметика и запустите полоску герметика (B) по краю переднего стекла (A), как показано на рисунке. Нанесите клей в течение 30 минут после нанесения грунтовки для стекла. Сделайте немного более толстую бусину на каждом углу

12.
Установите переднее стекло (А).

13.
Установите планку ветрового дефлектора (А).

14.
Установите монтажный кронштейн ветрового дефлектора (А).

15.
Установите молдинг крыши (А).
Для обеспечения качества продукции необходимо изменить молдинг крыши.

16.
Полностью закройте подвижное стекло.
17.
Проверьте зазор и зазор с каждой стороны после установки переднего стекла (A).
Раздел
Распродажа
Зазор
Передний край
А-А
2 ± 1 мм
4,9 ± 1 мм
(0,0787 ± 0,0394 дюйма)
(0,1929 ± 0,0394 дюйма)
Задний край
В-В
0 ± 1 мм
5,7 ± 1 мм
(0 ± 0,0394 дюйма)
(0,2244 ± 0,0394 дюйма)
Боковой край
С-С
0 ± 1 мм
0 мм
(0 ± 0,0394 дюйма)
(0 дюймов)

18.
Соскребите или сотрите излишки клея шпателем или шпателем. полотенце. Чтобы удалить клей с окрашенной поверхности или ветрового стекла, протрите мягкой хозяйственной салфеткой, смоченной спиртом.
19.
Дайте клею высохнуть в течение как минимум одного часа, затем распылите воду над крышей и проверить на наличие утечек. Если произошла утечка, дайте ей высохнуть, а затем уплотнить герметиком:
Дайте автомобилю постоять не менее четырех часов после установка лобового стекла. Если транспортное средство должно управляться в течение 4 часов, его нужно вести медленно.
Держите ветровое стекло сухим в течение первого часа после установки.
20.
Установите на место все оставшиеся снятые детали. Установить задний обзор зеркало после полного высыхания клея. Посоветуйте клиенту не сделать следующие вещи в течение двух трех дней:
Хлопни дверью, подними все окна.
Чрезмерное скручивание кузова (например, при въезде и выезде с проезжей части под углом или при движении по неровной дороге).
21.
Установка следующих элементов
Антенна на крыше
(См. группу BE - "Головное устройство AVN")
Стекло заднего стекла
(См. группу BD - "Заднее стекло")
Отделка крыши
(См. группу BD - "Отделка крыши")
Внутренняя отделка
(См. группу BD - "Отделка салона")
Заднее сидение
(См. группу BD - "Заднее сиденье")
Переднее сиденье
(См. группу BD - "Переднее сиденье")
Корректирование
Проверка выравнивания стекла
1.
Проверьте на наличие ненормального шума или изгибов во время работы.
2.
При полностью закрытом люке проверьте, нет ли утечки воды.
3.
Панель крыши (A) должна быть на одном уровне с подвижным стеклом (B) уплотнитель, в пределах стандартного значения "Е" по всему периметру. Если нет, выполните следующую настройку.

Момент затяжки :
Стандартное значение "E" [мм(дюймы)]
(1) Передний край: 1,2 мм (0,0472 дюйма)
(2) Задний край: 1,0 мм (0,0394 дюйма)

4.
Если положение не соответствует указанному, слегка ослабьте регулировочные винты стекла (А), чтобы отрегулировать высоту стекла, и затяните их.
Не повредите винты.

Как инициализировать мотор
Всякий раз, когда батарея отключена, разряжена или соответствующий предохранитель заменяется или переустанавливается, система панорамной крыши должна быть сбросить в соответствии с описанной ниже процедурой.
1.
Поверните ключ зажигания в положение ON и полностью закройте панорамную крышу.
2.
Нажмите и удерживайте кнопку CLOSE более 10 секунд, пока люк немного не сдвинется.
3.
Отпустите рычаг управления панорамной крышей.
4.
Нажмите и удерживайте кнопку CLOSE еще раз, пока люк не начнет работать следующим образом.
Наклон > Открытие слайда > Закрытие слайда
Затем отпустите рычаг.
5.
Процедура сброса панорамной системы завершена.
Когда инициализировать двигатель
1.
На момент изготовления.
2.
Если начальная установка стирается из-за потери питания.
3.
После использования ручной ручки.
Управление аварийной рукояткой панорамной крыши
1.
Используйте аварийную ручку панорамной крыши, чтобы закрыть и открыть панорамную крышу вручную только в следующем случае.
Чтобы закрыть панорамную крышу перед вождением автомобиля в дождливую днем или на трассе, если панорамную крышу нельзя закрыть из-за выход из строя двигателя или контроллера панорамной крыши.
2.
Операционный метод.
Снимите обшивку крыши.
Вставьте аварийную рукоятку вверх в шестигранный привод мотор панорамной крыши. Вы должны нажать достаточно сильно, чтобы отключить двигатель схватить; иначе аварийная ручка соскользнет из-за неполной посадки в моторе.
Осторожно поверните аварийную ручку по часовой стрелке, чтобы закрыть панорамную крышу.
После закрытия люка покачайте ручку вперед-назад. когда вы снимаете инструмент с двигателя, убедитесь, что муфта двигателя возобновляет.
Вместо аварийной рукоятки можно использовать шестигранную головку на 5 мм с рукояткой типа «Спидер».
Не используйте электроинструменты для управления панорамной крышей.
Возможно повреждение компонентов.

Компоненты панорамной крыши и расположение компонентов

Компоненты 1. Молдинг крыши [RH]2. Молдинг крыши [LH]3. Подвижное стекло4. Крышка [правая]5. Ветровой дефлектор в сборе6. Сборка передней крышки7. Сборка каркаса панорамной крыши8. Крышка [левая]9. Защитный кожух10. Дефлектор ветра...

Процедуры ремонта зеркал

Замена Замена наружного зеркала заднего вида     • Поддевая плоской отверткой, оберните ее защитной лентой и нанесите защитную ленту вокруг соответствующих частей, чтобы предотвратить ...

Дополнительная информация:

Kia Optima Hybrid (TF HEV) 2016-2020 Руководство по техническому обслуживанию: Мультимедийный разъем Процедуры ремонта


Снятие 1. Снимите ручку рычага переключения передач. (См. группу BD - "Консоль") 2. Снимите верхнюю крышку консоли (А). 3. Отсоедините разъем от верхней крышки консоли. 4. Снимите мультимедийный разъем (B) с нижней крышки консоли, освободив фиксированные крючки (A). Установка 1. Установите...

Kia Optima Hybrid (TF HEV) 2016-2020 Руководство по ремонту: Рулевой редуктор Порядок ремонта


Замена 1. Снимите переднее колесо и шину. Момент затяжки: 88,3 ~ 107,9 Н·м (9,0 ~ 11,0 кгс·м, 65,1 ~ 79,6 фунт-фут) Будьте осторожны, чтобы не повредить болты ступицы при снятии переднего колеса и шины. 2. Отсоедините стойку стабилизатора (В) от передней стойки в сборе (А) после ослабления...