Kia Optima Hybrid: система рулевого управления / процедуры отключения при высоком напряжении

Процедуры отключения при высоком напряжении
Обязательно прочтите и соблюдайте «Общую информацию по технике безопасности». и осторожность» перед выполнением любых работ, связанных с высоким напряжением. система. Несоблюдение инструкций по технике безопасности может привести к серьезным электрические травмы.
Компоненты высокого напряжения: блок аккумуляторной батареи высокого напряжения, Блок реле питания (PRA), ЭБУ BMS, гибридный блок управления питанием (HPCU), Гибридный приводной двигатель, HSG, электрический компрессор кондиционера, низковольтный преобразователь постоянного тока в постоянный (LDC), силовой кабель, электрический компрессор и т. д.
1.
Выключите зажигание и отсоедините отрицательную (-) клемму вспомогательной аккумуляторной батареи 12 В.
2.
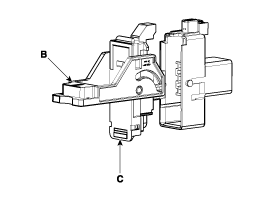
Снимите предохранительную заглушку.
(1)
Снимите крышку предохранительной заглушки (А).

(2)
Отстегните крючок (А) и снимите предохранительную заглушку (С), потянув за рычаг (В) в направлении стрелки.

3.
Подождите более 5 минут, чтобы конденсатор в системе высокого напряжения мог полностью разрядиться.
4.
Измерьте напряжение между клеммами инвертора, чтобы убедиться, что конденсатор в инверторе полностью разряжен.
(1)
Снимите воздушный фильтр в сборе и воздуховод (см. Механическая система двигателя — «Воздушный фильтр»).
(2)
Отсоедините кабель питания инвертора (А).

Отсоедините кабель питания инвертора, как описано ниже.

(3)
Измерьте напряжение между клеммой инвертора (+) и клеммой инвертора (-).

Менее 30 В: Цепь высокого напряжения правильно закрыта
Более 30 В: Неисправность в цепи высокого напряжения

Если измеренное напряжение превышает 30 В, проверьте, удален полностью. При измерении более 30 В, несмотря на то, что предохранительная вилка удалены, это может привести к серьезным проблемам в цепи высокого напряжения. В этом В этом случае проверьте DTC и никогда не прикасайтесь к системе высокого напряжения.
Общие сведения о безопасности и предостережения

Меры предосторожности     Поскольку гибридные автомобили содержат аккумуляторную батарею высокого напряжения, неправильное обращение с высоковольтной системой или транспортными средствами может привести к серьезным авариям, таким как электрическая ...

Технические характеристики

...

Дополнительная информация:

Kia Optima Hybrid (TF HEV) 2016-2020 Руководство по техническому обслуживанию: Ремонт реостата


Проверка 1. Отсоедините отрицательную (-) клемму аккумуляторной батареи. 2. Снимите нижнюю панель аварийной подушки. (См. группу BD — «Аварийная панель») 3. Снимите узел бокового переключателя аварийной панели (A), как показано на рисунке ниже. Наденьте перчатки, чтобы защитить руки. 4. Отсоедините разъем реостата (А) от...

Kia Optima Hybrid (TF HEV) 2016-2020 Руководство по техническому обслуживанию: Датчик положения коленчатого вала (CKPS) Процедуры ремонта


Проверка 1. Проверьте форму сигнала CMPS и CKPS с помощью GDS. Спецификация: См. раздел «Форма волны». Снятие 1. Выключите зажигание и отсоедините отрицательную (-) клемму аккумуляторной батареи. 2. Отсоедините разъем датчика положения коленчатого вала (А). 3. Снимите защитный кожух (А). 4. Удалите...