Kia Optima Hybrid: карданный вал и ось / процедуры отключения высокого напряжения

Процедуры отключения при высоком напряжении
Обязательно прочтите и соблюдайте «Общую информацию по технике безопасности». и осторожность» перед выполнением любых работ, связанных с высоким напряжением. система. Несоблюдение инструкций по технике безопасности может привести к серьезным электрические травмы.
Компоненты высокого напряжения: блок аккумуляторной батареи высокого напряжения, Блок реле питания (PRA), ЭБУ BMS, гибридный блок управления питанием (HPCU), Гибридный приводной двигатель, HSG, электрический компрессор кондиционера, низковольтный преобразователь постоянного тока в постоянный (LDC), силовой кабель, электрический компрессор и т. д.
1.
Выключите зажигание и отсоедините отрицательную (-) клемму вспомогательной аккумуляторной батареи 12 В.
2.
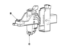
Снимите предохранительную заглушку.
(1)
Снимите крышку предохранительной заглушки (А).

(2)
Отстегните крючок (А) и снимите предохранительную заглушку (С), потянув за рычаг (В) в направлении стрелки.

3.
Подождите более 5 минут, чтобы конденсатор в системе высокого напряжения мог полностью разрядиться.
4.
Измерьте напряжение между клеммами инвертора, чтобы убедиться, что конденсатор в инверторе полностью разряжен.
(1)
Снимите воздушный фильтр в сборе и воздуховод (см. Механическая система двигателя — «Воздушный фильтр»).
(2)
Отсоедините кабель питания инвертора (А).

Отсоедините кабель питания инвертора, как описано ниже.

(3)
Измерьте напряжение между клеммой инвертора (+) и клеммой инвертора (-).

Менее 30 В: Цепь высокого напряжения правильно закрыта
Более 30 В: Неисправность в цепи высокого напряжения

Если измеренное напряжение превышает 30 В, проверьте, удален полностью. При измерении более 30 В, несмотря на то, что предохранительная вилка удалены, это может привести к серьезным проблемам в цепи высокого напряжения. В этом В этом случае проверьте DTC и никогда не прикасайтесь к системе высокого напряжения.
Общие сведения о безопасности и предостережения

Меры предосторожности     Поскольку гибридные автомобили содержат аккумуляторную батарею высокого напряжения, неправильное обращение с высоковольтной системой или транспортными средствами может привести к серьезным авариям, таким как электрическая ...

Технические характеристики

Спецификация ДвигательT/MТип соединенияМакс. допустимый уголВнешнийВнутреннийВнешнийВнутреннийБензин 2.4M/TBJ#95TJ#9545°21°A/TBJ#95TJ#9545°21° Момент затяжки АртикулN.mkgf.mIb.ftГайка переднего колеса88.2 ~ 107.89.0 ~ 11.065.0 ...

Дополнительная информация:

Kia Optima Hybrid (TF HEV) 2016-2020 Руководство по обслуживанию: Процедуры ремонта жидкости


Проверка уровня ATF Проверка     При проверке уровня ATF следите за тем, чтобы пыль, посторонние предметы и т. д. не попали через заливное отверстие. 1. Снимите воздуховод (А). 2. Снимите болт с проушиной (А). 3. Добавьте ATF SP-IV 700cc в отверстие для впрыска ATF (A). 4. Запустите двигатель. (Не нажимайте на тормоз и акселератор...

Kia Optima Hybrid (TF HEV) 2016-2020 Руководство по техническому обслуживанию: Ремонт мультимедийного разъема


Снятие 1. Снимите ручку рычага переключения передач. (См. группу BD - "Консоль") 2. Снимите верхнюю крышку консоли (А). 3. Отсоедините разъем от верхней крышки консоли. 4. Снимите мультимедийный разъем (B) с нижней крышки консоли, освободив фиксированные крючки (A). Установка 1. Установите...