Kia Optima Hybrid: Процедуры ремонта сиденья и сиденья с электроприводом / переднего сиденья

Замена
Замена сиденья в сборе
1.
Снимите крышку крепления направляющей сиденья.
2.
Ослабив болты крепления узла сиденья, снимите узел сиденья (А).

Момент затяжки :
49,0 ~ 63,7 Н·м (5,0 ~ 6,5 кгс·м, 36,2~47,0 фунт-фут)

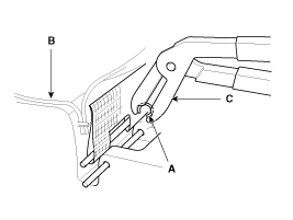
3.
Отсоедините разъемы сиденья с электроприводом (А) и подушки безопасности (В).
[Драйвер]

[Пассажирский]

4.
Установка обратна снятию.
Обязательно выполните повторную установку нуля PODS с помощью GDS после замены деталей (пассажирских).
(см. группу RT - "Подушка безопасности")
ПРОЦЕДУРА УСТАНОВКИ БОЛТА КРЕПЛЕНИЯ СИДЕНЬЯ
Установите сиденье в крайнее заднее положение. Убедитесь, что каждый ползун заблокирован, а затем временно затяните передний крепежный болт.
Установите сиденье в крайнее переднее положение. Убедитесь, что все направляющие заблокированы, а затем полностью затяните задний крепежный болт.
Установите сиденье в крайнее заднее положение. Полностью проверьте передний крепежный болт.
Убедитесь, что сиденье перемещается вперед и назад плавно, а фиксирующая часть надежно фиксируется.
Внешняя защитная крышка переднего сиденья
Поддевая плоской отверткой, оберните ее защитную ленту и наклейте защитную ленту вокруг соответствующих частей вашего Руки.
Наденьте перчатки, чтобы защитить руки.
1.
Снимите переключатель наклона спинки (А) и переключатель высоты (В).

2.
С помощью отвертки или съемника снимите внешний кожух переднего сиденья (А).

3.
Отсоедините разъем (А).

4.
Установка обратна снятию.
Замените все поврежденные клипсы.
Убедитесь, что разъем подключен правильно.
Обязательно выполните повторную установку нуля PODS с помощью GDS после замены деталей (пассажирских).
(см. группу RT - "Подушка безопасности")
Замена спинки сиденья
1.
Снимите переднее сиденье в сборе.
2.
Нажмите на стопорный штифт (B), снимите подголовник (A).

3.
Снимите протектор (А).

4.
Отсоедините разъемы (А).

5.
Сдвиньте зажимы (B) со спинки сиденья (A).
Нажмите на среднюю часть зажима с помощью отвертки с плоской головкой.
Будьте осторожны, чтобы не повредить клипсу.

6.
Нажмите на крючки (B), ослабьте винты крепления воздуховода сиденья (A).

7.
Сдвиньте протектор (А) за раму спинки сиденья.

8.
Вытяните направляющие подголовника (A), зажимая концы направляющих, и снимите их.

9.
Снимите обивку спинки сиденья (А) с рамы.

10.
Снимите зажимы (B) на передней части спинки сиденья и снимите обивку спинки сиденья (A).
При снятии зажима-кольца снимите зажим-кольцо, нажимая на проволоку, чтобы не отделить проволоку от губки.

11.
Установка обратна снятию.
Во избежание образования складок убедитесь, что материал равномерно натянут на чехол (B), прежде чем закреплять зажимы (A).
Замените кольцевые зажимы новыми с помощью специального инструмента (C) (09880-4F000).

Обязательно выполните повторную установку нуля PODS с помощью GDS после замены деталей (пассажирских).
(см. группу RT - "Подушка безопасности")
Замена чехла подушки сиденья
1.
Снимите переднее сиденье в сборе.
2.
Снимите внешний кожух переднего сиденья.
3.
Снимите протектор (А).

4.
Отсоедините разъемы (А).

5.
Сдвиньте защиту (A), а затем чехол подушки сиденья (C) с рамы (B).

6.
Снимите чехол подушки сиденья (А) с рамы.

7.
Сняв кольцевые зажимы (B) на передней части подушки сиденья, снимите чехол подушки сиденья (A).
При снятии кольцевых зажимов снимите зажимы, нажимая на проволоку, чтобы не отделить проволоку от губки.

8.
Установка обратна снятию.
Во избежание образования складок убедитесь, что материал равномерно натянут на чехол (B), прежде чем закреплять зажимы (A).
Замените кольцевые зажимы новыми с помощью специального инструмента (C) (09880-4F000).

Обязательно выполните повторную установку нуля PODS с помощью GDS после замены деталей (пассажирских).
(см. группу RT - "Подушка безопасности")
Замена каркаса сиденья
1.
Удалите следующие элементы:
Переднее сиденье
Обивка спинки переднего сиденья
Чехол подушки переднего сиденья
2.
Ослабив крепежный винт, снимите внутреннюю крышку кожуха переднего сиденья (А).

3.
Отсоедините разъем (С).
4.
Ослабив крепежные болты, отсоедините раму спинки сиденья (А) и раму подушки сиденья (В).

Момент затяжки :
49,0 ~ 63,7 Н·м (5,0 ~ 6,5 кгс·м, 36,2 ~ 47,0 фунт-фут)

5.
Установка обратна снятию.
Снимите боковую подушку безопасности для замены места установки боковой подушки безопасности.
Перед обслуживанием полностью ознакомьтесь с мерами предосторожности и процедурами обслуживания, относящимися к подушке безопасности.
(См. стр. RT — Подушка безопасности)
Обязательно выполните повторную установку нуля PODS с помощью GDS после замены деталей (пассажирских).
(см. группу RT - "Подушка безопасности")
Компоненты переднего сиденья и расположение компонентов

Компоненты 1. Подголовник2. Направляющая подголовника3. Обивка спинки переднего сиденья4. Обогрев спинки переднего сиденья5. Каркас спинки переднего сиденья6. Воздуховод переднего сиденья7. Спинка переднего сиденья8. Чехол подушки переднего сиденья9. Подушка переднего сиденья...

Компоненты заднего сиденья и расположение компонентов

Компоненты - 1 [Общие] 1. Подголовник2. Направляющая подголовника3. Крышка спинки заднего сиденья4. Рама спинки заднего сиденья в сборе5. Доска заднего подлокотника6. Чехол подушки заднего сиденья7. Задний подлокотник8. Подушка заднего сиденья...

Дополнительная информация:

Kia Optima Hybrid (TF HEV) 2016-2020 Руководство по техническому обслуживанию: Компоненты переднего дискового тормоза и расположение компонентов


Компоненты 1. Болт направляющей штанги2. Спускной винт 3. Держатель суппорта4. Корпус суппорта5. Внутренняя прокладка колодки6. Тормозная колодка7. Держатель колодки...

Kia Optima Hybrid (TF HEV) 2016-2020 Руководство по техническому обслуживанию: Печатный обогреватель заднего стекла Процедуры ремонта


Осмотр     Оберните конец щупа вольтметра оловянной фольгой, чтобы не повредить линию нагревателя. Надавите пальцем на оловянную фольгу, перемещая оловянную фольгу вдоль линии сетки, чтобы проверить наличие разомкнутых цепей. 1. Включите переключатель обогревателя и с помощью вольтметра измерьте напряжение ...