Kia Optima Hybrid: головка блока цилиндров в сборе / CVVT и распределительный вал, описание и работа

Описание
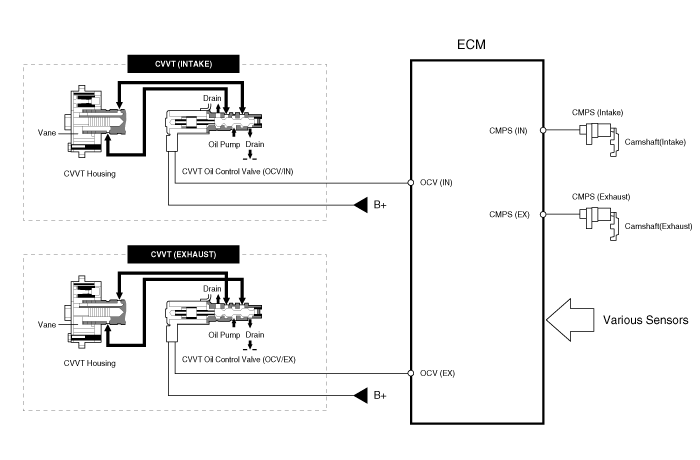
Система непрерывного изменения фаз газораспределения (CVVT) опережает или задерживает фазы газораспределения впускного и выпускного клапанов в соответствии с управляющим сигналом ECM, который рассчитывается по частоте вращения двигателя и нагрузка.
При управлении CVVT происходит перекрытие или недопуск клапана, что обеспечивает лучшую экономию топлива и уменьшает выхлопные газы (NOx, HC) и улучшает работу двигателя за счет снижения насосных потерь, внутреннего Эффект EGR, улучшение стабильности сгорания, улучшение объемный КПД и увеличение работы расширения.
Эта система состоит из
масляный регулирующий клапан CVVT (OCV), который снабжает двигатель масло в фазовращатель или вытекает моторное масло из фазовращателя в в соответствии с управляющим сигналом ECM PWM (Pulse With Modulation),
датчик температуры масла CVVT (OTS), который измеряет температуру моторного масла,
и Cam Phaser, который изменяет фазу кулачка, используя гидравлическую силу моторного масла.
Моторное масло, вытекающее из клапана управления маслом CVVT изменяет фазу кулачка в направлении (опережение впуска/запаздывание выпуска) или направление, противоположное двигателю (замедление впуска/опережение выпуска) вращение за счет вращения ротора, соединенного с распределительным валом внутри кулачковый фазер.

Принцип работы
CVVT имеет механизм, вращающий лопасть ротора с гидравлическая сила, создаваемая моторным маслом, подаваемым на опережение или камеру замедления в соответствии с управлением масляным клапаном CVVT.

[Системный режим CVVT]

(1) Низкая скорость/низкая нагрузка
(2) Частичная нагрузка


(3) Низкая скорость/высокая нагрузка
(4) Высокая скорость/высокая нагрузка



Вождение
Состояние
Выхлопной клапан
Впускной клапан
Клапан
Сроки
Эффект
Клапан
Сроки
Эффект
(1) Низкая скорость
/Низкая нагрузка
Полностью
Продвигать
* Нижний клапан клапана
* Улучшение стабильности горения
Полностью
Замедлить
* Нижний клапан клапана
* Улучшение стабильности горения
(2) Частичная нагрузка
Замедлить
* Увеличение работы расширения
* Снижение насосных потерь
* Снижение НС
Замедлить
* Снижение насосных потерь
(3) Низкая скорость
/Высокая нагрузка
Замедлить
* Увеличение работы расширения
Продвигать
* Предотвращение обратного потока на впуске (улучшение объемной эффективности)
(4) Высокая скорость
/Высокая нагрузка
Продвигать
* Снижение насосных потерь
Замедлить
* Улучшение объемной эффективности

Компоненты и расположение компонентов CVVT и распределительного вала

Компоненты 1. Крышка подшипника распределительного вала2. Крышка переднего подшипника распредвала 3. выпускной распределительный вал4. Впускной распределительный вал5. Выхлоп CVVT в сборе6. Впускной CVVT в сборе7. Верхний подшипник выпускного распределительного вала8. Впускной распредвал нижний...

Процедуры ремонта CVVT и распределительного вала

Снятие 1. Снимите крышку головки блока цилиндров. 2. Установите цилиндр №1 в ВМТ/сжатие. а. Поверните шкив коленчатого вала и совместите его канавку с установочной меткой «Т» на нижней крышке цепи привода ГРМ. б. Проверять ...

Дополнительная информация:

Kia Optima Hybrid (TF HEV) 2016-2020 Руководство по техническому обслуживанию: Компоненты автоматической коробки передач и их расположение


Компоненты 1. Двигатель в сборе2. Электрический масляный насос (EOP)3. Картер автоматической коробки передач4. Задняя крышка5. Крышка корпуса клапана6. Рычаг ручного управления7. Шланг сапуна8. Переключатель ингибитора9. Разъем электромагнитного клапана 10. Датчик резольвера 11. Подогреватель АТФ...

Kia Optima Hybrid (TF HEV) 2016-2020 Руководство по техническому обслуживанию: Мультимедийный разъем Процедуры ремонта


Снятие 1. Снимите ручку рычага переключения передач. (См. группу BD - "Консоль") 2. Снимите верхнюю крышку консоли (А). 3. Отсоедините разъем от верхней крышки консоли. 4. Снимите мультимедийный разъем (B) с нижней крышки консоли, освободив фиксированные крючки (A). Установка 1. Установите...