Kia Forte: система управления двигателем / электрический привод перепускной заслонки (EWGA)

Киа Kia Forte 2019-2023 (БД) Руководство по ремонту / Управление двигателем/топливная система / Система управления двигателем / Электропривод заслонки сброса отходов (EWGA)

Технические характеристики
Спецификация

Элемент
Спецификация
Мотор
,
Напряжение питания (В)
13,5
Диапазон напряжения питания (В)
9 - 16
Макс. Ток (А)
< 8,5
Тип
Двигатель постоянного тока
Датчик
Тип
Эффект Холла, Бесконтактный
Напряжение питания (В)
4,9 - 5,1
Приколоть
6

Описание и работа
Описание

Электрический привод WGT, установленный на турбокомпрессоре, управляет клапан в турбонагнетателе Waste Gate (WGT) и регулирует количество сжатого воздуха с помощью ШИМ-сигнала ECM. Этот привод состоит из двигателя постоянного тока, который приводит в действие клапан, двухступенчатый редуктор, увеличивающий крутящий момент двигателя постоянного тока, датчик положения который определяет состояние клапана, и электрический блок управления, который управляет Двигатель постоянного тока.

Принципиальные диаграммы
Принципиальная электрическая схема

Соединитель жгута

Процедуры ремонта
Снятие и установка
1.

Выключите зажигание и отсоедините отрицательный (-) аккумулятор. Терминал.

2.

Снимите воздушный фильтр в сборе.

(См. Механическая система двигателя — «Воздушный фильтр»)

3.

Отсоедините удлинительный разъем EWGA (A).

4.

Снимите опору впускной трубы (А).

Момент затяжки :

Болт M8: 18,6–23,5 Н·м (1,9–2,4 кгс·м, 13,7–17,4 фунт·фут)

Болт M10: 29,4–34,3 Н·м (3,0–3,5 кгс·м, 21,6–25,3 фунт·фут)

5.

Снимите впускную трубу (А).

Момент затяжки :

Болт: 29,4–39,2 Н·м (3,0–4,0 кгс·м, 21,6–28,9 фунт·фут)

Гайка: 35,3–41,1 Н·м (3,6–4,2 кгс·м, 26,0–30,3 фунт-фут)

6.

Снимите термозащитный кожух (А) после ослабления крепежных болтов.

Болт крепления термозащиты:

9,8–11,8 Н·м (1,0–1,2 кгс·м, 7,2–8,7 фунт·фут)

7.

Снимите водяную трубу и шланг турбонагнетателя (A).

Момент затяжки :

Фланцевый болт: 9,8–11,8 Н·м (1,0–1,2 кгс·м, 7,2–8,7 фунт·фут)

Болт с проушиной: 26,4–32,3 Н·м (2,7–3,3 кгс·м, 19,5–32,3 фунт·фут)

8.

Отсоедините звено вала (А), сняв С-образное кольцо (В).

9.

Снимите электрический привод перепускной заслонки, ослабив болты (С).

10.

Установка производится в порядке, обратном снятию.

Корректирование

[Блок-схема процедуры регулировки штока]

1.

Убедитесь, что турбокомпрессор перепускного клапана достаточно остыл для работы.

Для быстрого охлаждения можно использовать электрический вентилятор.

Охлаждающая часть (A) и направление ветра (B) следующие.

2.

Поверните ключ зажигания в положение OFF.

3.

Подключите диагностический прибор к разъему DLC (16-контактный) под драйвером. боковая панель приборов.

4.

Поверните ключ зажигания в положение ON.

Не запускайте двигатель.

5.

Выберите VIN или Автомобиль на начальном экране.

6.

Войдите в меню «Управление двигателем» после выбора информации об автомобиле (Vehicle модель, Год выпуска, Тип двигателя) или ввод VIN-номера.

7.

Доступ к KDS Engine > Текущие данные

8.

Не запуская двигатель, включите зажигание на 5 секунд, затем выключите зажигание на 5 секунд, затем проверьте «Значение адаптации для нижнего механического останова EWGA» на KDS.

Повторяйте этот шаг до тех пор, пока величина изменения значения адаптации не сравняется с к предыдущему циклу ниже 0,05 В.

Не запускайте двигатель. Это важный шаг для правильного чтения значение адаптации.

9.

Убедитесь, что «Значение адаптации для нижнего механического упора EWGA» установлено. в пределах указанного значения напряжения.

Напряжение: 3,5–3,7 В

10.

Если измеренное значение напряжения не находится в пределах указанного значения напряжения, отрегулируйте длину стержня EWGA. Но, если нет, никаких дополнительных процедур не требуется.

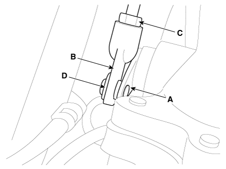
(1)

Ослабьте стопорную гайку конца штока (А) и снимите С-образное кольцо (В).

(2)

Отрегулируйте концевую часть штока (C), вращая ее по часовой стрелке (D) или против часовой стрелки. (E) для удовлетворения спецификации.

Например, если температура охлаждающей жидкости ниже 25 °C, отрегулированная следующее.

Значение адаптации для нижнего механического упора EWGA (V)
Направление регулировки конца штока
Изменение длины штока (после регулировки)
> 3,7
против часовой
дольше
< 3,5
по часовой стрелке
короче

Угол поворота
Изменение уровня значения адаптации (V)
0,5 оборота (180°)
Около 0,1
1 оборот (360°)
Около 0,2

11.

Временно установите конец штока (В) на рычаг турбонагнетателя (А). Не затяните стопорную гайку конца штока (C) и С-образное кольцо (D).

12.

Проверьте «Значение адаптации для нижнего механического упора EWGA» после выбора Меню «Текущие данные».

Несколько раз включите/выключите зажигание, пока не изменится значение «Величина адаптации для нижнего механического упора EWGA» находится в пределах 0,05 В.

Включите/выключите зажигание. Но держите по 5 секунд на каждом ИГ Состояние ON или OFF.

13.

Если измеренное значение напряжения не находится в пределах указанного значения напряжения, повторите 9-12 процедур, пока значение напряжения не будет в пределах указанного значение напряжения.

14.

Убедитесь, что «Значение адаптации для нижнего механического упора EWGA» установлено. в пределах указанного значения напряжения.

15.

Если оно находится в пределах указанного значения напряжения, установите конец стержня в рычаг турбонагнетателя.

(1)

Установите конец штока (В) на рычаг турбонагнетателя (А).

(2)

Затяните стопорную гайку конца штока (С).

(3)

Установите С-образное кольцо (E).

Будьте осторожны, чтобы не снять шайбу (D).

Масляный регулирующий клапан CVVT (OCV)
Технические характеристики Спецификация Элемент Спецификация Сопротивление катушки (Ом) 6,9–7,9 [20°C (68°F)] Описание и работа...
Клапан регулирования давления топлива (FPCV)
Технические характеристики Спецификация Элемент Спецификация Сопротивление катушки (Ом) 0,5 [20°C(68°F)] Описание и работа ...
Дополнительная информация:

Kia Forte 2019-2023 (BD) Руководство по эксплуатации: Использование комплекта для перемещения шин


1. Снимите этикетку ограничения скорости. (1) из баллона с герметиком (2), и разместить его на видном месте внутри автомобиля, например, на руль, чтобы напоминать водителю не ездить слишком быстро. 2. Заливка герметика: Строго соблюдать указанной последовательности, иначе печать ...

Kia Forte 2019-2023 (BD) Руководство по эксплуатации: Обогрев сидений


■ Переднее сиденье ■ Заднее сиденье Подогрев сидений предназначен для обогрева передние сиденья в холодную погоду. При включенном зажигании положение, нажмите любой из переключателей подогрев сиденья водителя или переднего сиденье пассажира. В мягкую погоду или в условиях где ...