Kia Forte: Карданный вал в сборе / Динамический демпфер

Киа Kia Forte 2019-2023 (БД) Руководство по ремонту / Карданный вал и ось / Сборка карданного вала / Динамический демпфер

Компоненты и расположение компонентов
Компоненты
[Правый]

1. Сборка БЖ
2. Клип
3. Ремешок для обуви BJ
4. Сапоги для минета
5. Лента динамического демпфера
6. Динамический демпфер
7. Вал
8. Ремешок для ботинок TJ
9. Ботинок TJ
10. Паук в сборе
11. Стопорное кольцо
12. Корпус ТЖ
13. Стопорное кольцо

[левый]

1. Сборка БЖ
2. Стопорное кольцо BJ
3. Ремешок для обуви BJ
4. Сапоги для минета
5. Вал
6. Ремешок для ботинок TJ
7. Ботинок TJ
8. Паук в сборе
9. Привязка кольцо
10. Дело Т.Дж.
11. Стопорное кольцо

Процедуры ремонта
Разборка
1.

Снимите передний приводной вал.

(См. узел приводного вала — «Передний приводной вал»)

2.

Снимите TJ-соединение в сборе.

(См. приводной вал в сборе — «TJ соединение»)

3.

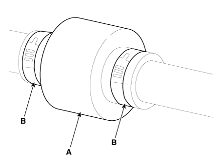
Снимите обе стороны ленты (B) динамического демпфера (A).

4.

Закрепите приводной вал (А) тисками (В), как показано на рисунке.

5.

Нанесите мыльный порошок на вал, чтобы предотвратить повреждение между валом шлиц и динамический демпфер, когда динамический демпфер удален.

6.

Осторожно отделите динамический демпфер (А) от вала (В).

Сборка
1.

Нанесите мыльный порошок на вал, чтобы предотвратить повреждение между валом сплайн и динамический демпфер.

2.

Установите динамический демпфер.

3.

Установите ленту динамического демпфера (A).

4.

С помощью SST (09495-3K000) закрепите хомуты чехлов TJ (B).

Зазор (A): 2,0 мм (0,0787 дюйма) или менее

5.

Установите TJ-соединение в сборе.

(См. приводной вал в сборе — «TJ шарнир»)

6.

Установите передний карданный вал.

(См. узел приводного вала — «Передний приводной вал»)

7.

Проверьте переднее выравнивание.

(См. Система подвески — «Выравнивание переднего колеса»)

ТиДжей Джойнт
Компоненты и расположение компонентов Компоненты [Правый] 1. Сборка БЖ 2. Клип 3. Ремешок для обуви BJ 4. Сапоги для минета 5. Лента динамического демпфера 6. Динамика...
Минет в сапогах
Компоненты и расположение компонентов Компоненты [Правый] 1. Сборка БЖ 2. Клип 3. Ремешок для обуви BJ 4. Сапоги для минета 5. Лента динамического демпфера 6. Динамика...
Дополнительная информация:

Kia Forte 2019-2023 (BD) Руководство по эксплуатации: Как работает автомобильная аудиосистема


Радиосигналы AM и FM транслируются с передающих вышек, расположенных вокруг вашего города. Они перехвачены через радиоантенну вашего автомобиля. Затем этот сигнал принимается радио и отправлено в ваш автомобиль динамики. Когда сильный радиосигнал добрался до вашего автомобиля, пр ...

Kia Forte 2019-2023 (BD) Руководство по ремонту: Демпферный шкив коленвала


Компоненты и расположение компонентов Компоненты 1. Демпферный шкив коленчатого вала Процедуры ремонта Снятие и установка 1. Снимите приводной ремень. (См. Система приводного ремня — «Приводной ремень») 2. ...