Kia Cadenza: Процедуры ремонта сиденья и сиденья с электроприводом / переднего сиденья

Kia Cadenza YG 2016-2023 Руководство по ремонту / Кузов (внутри и снаружи) / Сиденье и сиденье с электроприводом / Процедуры ремонта передних сидений

Замена
Замена сиденья в сборе
1.
Снимите крышку крепления направляющей сиденья.
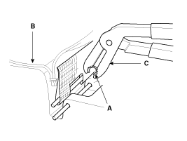
2.
Ослабив болты крепления узла сиденья, снимите узел сиденья (А).

Момент затяжки :
49,0 ~ 63,7 Н·м (5,0 ~ 6,5 кгс·м, 36,2~47,0 фунт-фут)

3.
Отсоедините разъем замка сиденья (A), разъем обогревателя сиденья и разъем сиденья с электроприводом (B), разъем SAB (C), разъем PODS (D).
[Драйвер]

[Пассажирский]

4.
Установка обратна снятию.
ПРОЦЕДУРА УСТАНОВКИ БОЛТА КРЕПЛЕНИЯ СИДЕНЬЯ
Установите в крайнее заднее положение. Убедитесь, что каждый слайд заблокирован, а затем временно затяните передний крепежный болт.
Установите сиденье в крайнее переднее положение. Убедитесь, что все направляющие заблокированы, а затем полностью затяните задний крепежный болт.
Установите сиденье в крайнее заднее положение. Полностью проверьте передний крепежный болт.
Убедитесь, что сиденье перемещается вперед и назад плавно, а фиксирующая часть надежно фиксируется.
Замена крышки кресла
Поддевая плоской отверткой, оберните ее защитную ленту и наклейте защитную ленту вокруг соответствующих частей вашего Руки.
Наденьте перчатки, чтобы защитить руки.
1.
Ослабив крепежные винты, снимите центральную крышку кресла (A).

2.
Ослабив крепежный винт, снимите крышку кресла (А).

3.
Отсоедините разъем (А).

4.
Установка обратна снятию.
Замените все поврежденные клипсы.
Убедитесь, что разъем подключен правильно.
Замена спинки сиденья
1.
Снимите переднее сиденье в сборе.
2.
Нажмите на стопорный штифт (B), снимите подголовник (A).

3.
Снимите протектор (А).

4.
Отсоедините разъемы (А).

5.
Сдвиньте зажимы (B) и крючки (C) со спинки сиденья (A).
Нажмите на среднюю часть зажима с помощью отвертки с плоской головкой.
Будьте осторожны, чтобы не повредить клипсу.

6.
Нажмите на крючки (B), ослабьте винты крепления воздуховода сиденья (A).

7.
Нажмите на поротектер (А) за раму спинки сиденья.

8.
Снимите крепежный зажим задней стороны спинки заднего сиденья (А).

9.
Вытяните направляющие подголовника (A), зажимая концы направляющих, и снимите их.

10.
Снимите спинку сиденья с рамы.
11.
Сняв зажимы для свиного кольца) и застежку-липучку (B) на передней части спинки сиденья, снимите обивку спинки сиденья (C).
При снятии зажима-кольца снимите зажим-кольцо, нажимая на проволоку, чтобы не отделить проволоку от губки.

12.
Установка обратна снятию.
Во избежание образования складок убедитесь, что материал равномерно натянут на чехол (B), прежде чем закреплять зажимы (A).
Замените зажимы на новые с помощью специального инструмента (C) (09880-4F000).

Замена чехла подушки сиденья
1.
Снимите переднее сиденье в сборе.
2.
Снимите крышку кресла-реклайнера.
3.
Снимите протектор (А).

4.
Отсоедините разъемы (А).

5.
Сдвиньте защиту (A), а затем чехол подушки сиденья (C) с рамы (B).

6.
Сняв зажимы для свиного кольца) и липучку (B) на передней части подушки сиденья, снимите чехол подушки сиденья (C).
При снятии кольцевых зажимов снимите зажимы, нажимая на проволоку, чтобы не отделить проволоку от губки.

7.
Установка обратна снятию.
Во избежание образования складок убедитесь, что материал равномерно натянут на чехол (B), прежде чем закреплять зажимы (A).
Замените зажимы на новые с помощью специального инструмента (C) (09880-4F000).

Замена каркаса сиденья
1.
Удалите следующие элементы:
Переднее сиденье
Обивка спинки переднего сиденья
Чехол подушки переднего сиденья
2.
Ослабив крепежный винт, снимите внутреннюю защитную крышку переднего сиденья (А).

3.
Ослабив крепежные болты, отсоедините раму спинки сиденья (А) и раму подушки сиденья (В).
Снимите боковую подушку безопасности для замены места установки боковой подушки безопасности.
Перед обслуживанием полностью ознакомьтесь с мерами предосторожности и процедурами обслуживания, относящимися к подушке безопасности (см. стр. RT-Подушка безопасности).

Момент затяжки :
49,0 ~ 63,7 Н·м (5,0 ~ 6,5 кгс·м, 36,2 ~ 47,0 фунт-фут)

4.
Установка обратна снятию.
Компоненты переднего сиденья и расположение компонентов
Компоненты 1. Подголовник2. Направляющая подголовника3. Накладка спинки переднего сиденья4. Обогреватель спинки переднего сиденья5. Чехол на спинку переднего сиденья6. Спинка переднего сиденья7. Каркас спинки переднего сиденья8. Чехол подушки переднего сиденья9. Передний с...
Компоненты заднего сиденья и расположение компонентов
Компоненты 1. Задний багажник2. Подголовник3. Направляющая подголовника4. Задний подлокотник5. Веб-гид6. Накладка на спинку заднего сиденья7. Кронштейн опоры саба8. Блок заднего отопителя в сборе9. Каркас спинки заднего сиденья в сборе...
Дополнительная информация:

Руководство по эксплуатации Kia Cadenza YG 2016-2023: Электроусилитель руля (EPS)


В гидроусилителе руля используется двигатель для помощь в управлении автомобилем. Если двигатель выключен или если гидроусилитель руля система становится неработоспособной, автомобиль все еще может управляться, но он будет требуют повышенного усилия на рулевом колесе. Рулевое управление с электроприводом есть под контролем мощного сти...

Kia Cadenza YG 2016-2023 Service Manual: Технические характеристики


Спецификация Система зажигания Катушка зажигания Пункт Технические характеристики Сопротивление первичной обмотки (Ом) 0,62 ± 10% [20°C (68°F)] Сопротивление вторичной обмотки (кОм) 7,0 ± 15% [20°C (68°F)] Свеча зажигания ПараметрСпецификацияТипSILZKR7B11Зазор1,0 ~ 1,1 мм (0,0394 ~ 0,0433 дюйма) Конденсатор Элемент ...