Kia Cadenza: система смазки / блок-схема

Kia Cadenza YG 2016-2023 Руководство по ремонту / Механическая система двигателя / Система смазки / Диаграмма потока

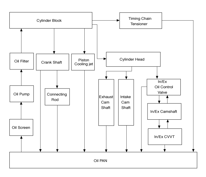
Схема потока моторного масла

Система смазки
...
Процедуры ремонта моторного масла
Замена • Длительный и повторяющийся контакт с минеральным маслом приведет к в удалении естественных жиров с кожи, что приводит к ее сухости, раздражение и...
Дополнительная информация:

Руководство по эксплуатации Kia Cadenza YG 2016-2023: Регулировка заднего сиденья


Подголовник Заднее сиденье оборудовано подголовниками во всех местах для сидения безопасность и комфорт жильца. Подголовник не только обеспечивает комфорт для пассажиров, но и помогает защищать голову и шею в событие столкновения. Для максимальной эффективности в случае из ...

Руководство по обслуживанию Kia Cadenza YG 2016-2023: Переключатель управления сиденьем с электроприводом Процедуры ремонта


осмотр Когда переключатель сиденья с электроприводом находится в каждом положении, убедитесь, что существует непрерывность между терминалами ниже. Если преемственность не такая указано, замените переключатель сиденья с электроприводом. A : Переключатель управления сиденьем с электроприводом B : Переключатель поддержки пиломатериалов В случае переключения IMS...