Kia Cadenza: Система контроля токсичности отработавших газов / CVVT (бесступенчатая регулировка фаз газораспределения) Описание и работа системы

Kia Cadenza YG 2016-2023 Руководство по ремонту / Система контроля выбросов / Система контроля выбросов выхлопных газов / CVVT (бесступенчатая регулировка фаз газораспределения) Описание и работа системы

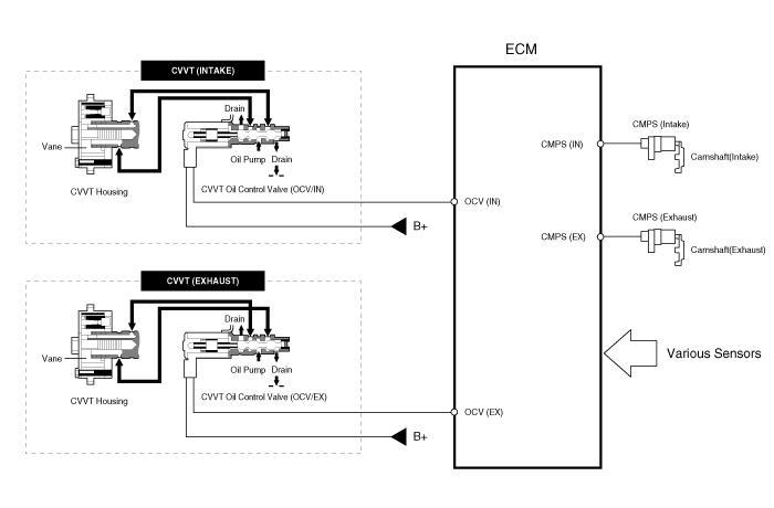
Описание
Система непрерывного изменения фаз газораспределения (CVVT) опережает или задерживает фазы газораспределения впускного и выпускного клапанов в соответствии с управляющим сигналом ECM, который рассчитывается по частоте вращения двигателя и нагрузка.
При управлении CVVT происходит перекрытие или недопуск клапана, что обеспечивает лучшую экономию топлива и уменьшает выхлопные газы (NOx, HC). CVVT улучшает работу двигателя за счет снижения потерь в насосе, внутренний эффект рециркуляции отработавших газов, улучшение стабильности сгорания, улучшение объемный КПД и увеличение работы расширения.
Эта система состоит из
масляный регулирующий клапан CVVT (OCV), который снабжает двигатель масло в фазовращатель или вытекает моторное масло из фазовращателя в в соответствии с управляющим сигналом ECM PWM (Pulse With Modulation),
датчик температуры масла CVVT (OTS), который измеряет температуру моторного масла,
и Cam Phaser, который изменяет фазу кулачка, используя гидравлическую силу моторного масла.
Моторное масло, вытекающее из клапана управления маслом CVVT изменяет фазу кулачка в направлении (опережение впуска/запаздывание выпуска) или направление, противоположное двигателю (замедление впуска/опережение выпуска) вращение за счет вращения ротора, соединенного с распределительным валом внутри кулачковый фазер.

Принцип работы
CVVT имеет механизм, вращающий лопасть ротора с гидравлическая сила, создаваемая моторным маслом, подаваемым на опережение или камеру замедления в соответствии с управлением масляным клапаном CVVT.

[Системный режим CVVT]

(1) Низкая скорость/низкая нагрузка
(2) Частичная нагрузка


(3) Низкая скорость/высокая нагрузка
(4) Высокая скорость/высокая нагрузка



Вождение
Состояние
Выхлопной клапан
Впускной клапан
Клапан
Сроки
Эффект
Клапан
Сроки
Эффект
(1) Низкая скорость
/Низкая нагрузка
Полностью
Продвигать
* Нижний клапан клапана
* Улучшение стабильности горения
Полностью
Замедлить
* Нижний клапан клапана
* Улучшение стабильности горения
(2) Частичная нагрузка
Замедлить
* Увеличение работы расширения
* Снижение насосных потерь
* Снижение НС
Замедлить
* Снижение насосных потерь
(3) Низкая скорость
/Высокая нагрузка
Замедлить
* Увеличение работы расширения
Продвигать
* Предотвращение обратного потока на впуске (улучшение объемной эффективности)
(4) Высокая скорость
/Высокая нагрузка
Продвигать
* Снижение насосных потерь
Замедлить
* Улучшение объемной эффективности

Процедуры ремонта каталитического нейтрализатора
Удаление [Каталитический нейтрализатор (WCC)] 1. Снимите выпускной коллектор. (См. Механическая система двигателя — «Выпускной коллектор») [Каталитический нейтрализатор (UCC)] 1. Снимите центральный глушитель. ...
Управление двигателем/топливная система
...
Дополнительная информация:

Руководство по эксплуатации Kia Cadenza YG 2016-2023: Предупреждающее сообщение


Предупреждение о столкновении в слепых зонах (BCW) система отключена. Радар заблокирован • Это предупреждающее сообщение может появиться когда : - Один или оба датчика на задний бампер заблокирован грязью или снег или посторонний предмет. - Когда прицеп или перевозчик установлен. - Вождение в сельской местности, где ...

Kia Cadenza YG 2016-2023 Руководство по техническому обслуживанию: Выключатель аварийной сигнализации Процедуры ремонта


Удаление 1. Отсоедините отрицательную (-) клемму аккумуляторной батареи. 2. Снимите центральную облицовочную панель (А) с выключателем аварийной сигнализации. Нанесите защитные ленты на центральную панель и связанные с ней части. 3. Отсоедините автомобильный шланг (А) и разъем выключателя аварийной...